阿摩線上測驗
登入
首頁
>
台電◆輸配電學
> 101年 - 101 台灣電力公司_養成班及用人當地化甄試:輸配電學#24445
101年 - 101 台灣電力公司_養成班及用人當地化甄試:輸配電學#24445
科目:
台電◆輸配電學 |
年份:
101年 |
選擇題數:
50 |
申論題數:
0
試卷資訊
所屬科目:
台電◆輸配電學
選擇題 (50)
1.提高輸配電電壓後,下列敘述何者不正確? (A)可減少線損 (B)可減少線路壓降 (C)可減少電暈產生 (D)可增加輸電能力
2.輸配電線路可分為架空線路與地下電纜線路,下列架空線路特點的敘述,何者不正確? (A)施工容易 (B)建設費用低廉 (C)故障之發現、修復及檢查較容易 (D)減少自然環境及人為之災害,增加供電之可靠性
3.架空地線的功能,下列敘述何者不正確? (A)可提供少量電力輸送 (B)可增加線路對地電容 (C)可分散雷擊電流 (D)可增加輸電線機械強度
4•有一 37股直徑3 mm素線組成之鋁絞線,試求鋁絞線之外徑為多少mm ? (A)9 (B)15 (C) 21(D)27
5.導線線徑1MCM等於多少圓密爾(CM) ? (A) 0.001 (B) 1 (C) 1000 (D) 1000000
6.超高壓輸電線單導體改以複導體方式架設,下列敘述何者不正確? (A)可增加線路電感 (B)可減少表面電壓梯度 (C)可增加線路供電容量 (D)可增加線路電容
7.有一變壓器以其標示銘牌額定值100 kV及500 MVA為基準值時,得到阻抗標么值為j0.2 , 若改以10 kV及100 MVA為基準值時,阻抗標么值將成為多少? (A)j0.01 (B)j0.4 (C)j4 (D)j0.1
8. 3相變壓器高/中/低壓側線圈採用Y-Y-△接線,下列敘述何者不正確? (A)可使電壓波形不易畸變 (B)低壓側線圈接地故障時,可由零相電壓電驛檢出 (C)低壓側可接用所/廢内電源或虛功補償裝置使用 (D)低壓側線圈接地故障時,可由接地過電流電驛檢出
9.,則綜合用電最大需量為多少kW? (A) 120 (B) 150 (C) 200 (D) 250
10.承上題(第9題),供給該用戶群設備之額定供電容量為多少kVA? (A) 120 (B) 150 (C) 200 (D) 250
11. 800kW的負載功率因數為0.8,如要改善功率因數為1.0時,應加裝多少容量之電容器? (A) 200 kVAR (B) 800 kVAR (C) 600 kVAR (D) 1000 kVA
12.,求等效單相對地電容值為多少微法拉(10_6F)? (A) 7.33 (B) 0.315 (C) 8 (D) 10
13.承上題(第12題),頻率為60赫,=3.14,每芯線對地充電電流為多少安培(A) ? (A)7.33(B) 0.3768(C) 0.628(D) 0.7536
14.,若變壓器高壓側發生3相短路故障,則故障處等效戴維寧阻抗為多少標么(p.u.)? (A)j0.25 (B)j0.3 (C)j0.35 (D)j0.5
15.承上題(第14題),故障處3相短路電流值與下列何者最接近? (A) 866 安培 (B) 1414 安培 (C) 1732 安培 (D) 3464 安培
16.【圖3】所示電力系統,假設匯流排A為無窮母線匯流排,其匯入容量遠大於系統所需,故 障容量亦相同,當3相接地故障發生在匯流排B時,且電纜阻抗不計,則變壓器故障容量為 多少MVA ?
(A)25 (B) 50 (C) 100 (D) 200
17.電路裝有並聯電力電容器,此時電路功率因數為1.0,若再增加電容器,則功率因數值會如 何變化? (A)變大 (B)變小 (C)不變 (D)無法確定
18.—台變壓器lOkVA,其鐵損為200 W ,銅損為600 W,1日中有12小時全負載,其餘12小時 無負載,負載功率因數為1,則此變壓器全曰效率約為多少? (A) 100 % (B) 92.6 % (C) 90.9 % (D) 86.2 %
19.下列何者不是電力系統設備絕緣協調主要考量來源及種類? (A)雷擊 (B)開關操作 (C)線路相間故障 (D)線路接地故障
20.有關雷擊逆閃絡,下列敘述何者不正確? (A)可避免絕緣物發生閃絡 (B)可由減少接地電阻改善 (C)可由裝設線路避雷器改善 (D)為雷擊架空地線或支持物引發
21.下列何者不是電力系統並聯時主要考慮因素? (A)相序 (B)相角 (C)頻率 (D)容量
22.輸配電線路使用之瓷質礙子與玻璃礙子相比較,有關瓷質礙子特點,下列敘述何者不正確? (A)製造容易,價格較低廉 (B)溫度變化時不易破裂 (C)具有較高之抗張力 (D)膨脹係數較小
23.自耦變壓器與具相同額定之雙繞組變壓器相比較,下列敘述何者不正確? (A)體積較小 (B)效率較低 (C)内部阻抗較低 (D)適用於兩側電壓匝比倍率不大者
24.有關銅線與鋁線的敘述,下列何者不正確? (A)地下電纜較常用銅線導體 (B)相同導電能力下,全鋁線較輕,常用於短跨距輸電線路 (C)鋁線的抗張強度小,弛度亦較小,可減少支持物費用 (D)在相同的電阻下,鋁線截面積大,散熱較易,電暈不易發生
25.有關3相變壓器Y接或△接,下列敘述何者不正確? (A)Y接絕緣要求較高 (B)Y接中性點可經由阻抗接地 (C)依國際標準A-Y接在正相序時,二次側角度落後一次側30度 (D)平衡時,A接線圈内合成電壓為零
26.原3台單相變壓器厶-△接供電,改為2台V-V接供電,此時變壓器利用率為多少? (A) 100 % (B) 86.6 % (C) 66.7 % (D) 57.5 %
27.—次側含多分抽頭之單相變壓器銘牌標稱電壓6600 V/220 V,當一次側分抽頭接在6600 V位 置時,二次側電壓為210 V,若電源電壓不變,希望得到二次側電壓為220 V,則一次側分抽 頭需改接為何位置? (A) 6300 V (B) 6900 V (C) 6450 V (D) 6750 V
28.下列敘述何者不正確? (A)比流器迴路不可短路 (B)單相3線式中性線不可串接保險熔絲 (C)比壓器迴路不可短路 (D)比流器迴路不可串接保險熔絲
29.有一變壓器額定10MVA、100kV/10kV,電抗值1.5%,變壓器高壓側短路容量為2000 MVA, 設容量標么基準值為100 MVA、低壓側電壓標么基準值為10 kV,則變壓器低壓側三相短路 電流為多少標么(p.u.)? (A)5 (B) 10 (C)20 (D) 50
30.下列敘述何者正確? (A)平衡3相,正序成分與負序成分大小相同 (B) 3相零序成分每相差120度 (C)Y接地系統,單相接地故障電流大小等於其零序電流成分的3倍 (D)平衡3相,短路故障正序、負序成分均存在
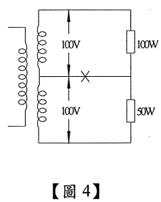
31.【圖4】單相3線式配電線,末端各接有100 W及50 W之電阻性負載,原兩端電壓均為100 V ,線路電阻不計,當中性線發生斷線時,加在50 W負載兩端電壓約變為原來的多少倍?
(A) 0.67 (B) 1 (C) 1.33 (D) 2
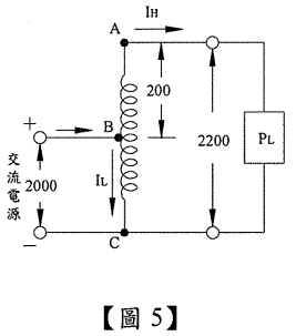
32.【圖5】將一 2000 Y/200 Y、20 kVA雙繞組變壓器改接成升壓自耦變壓器繞組AB為200 V ,繞組BC為2000V,則輸出額定容量將成為多少kVA?
(A) 20 (B) 22 (C) 200 (D) 220
33•【圖6】當3相平衡之Ir、Is、IT一次側電流均為
安培’ CT之變流比為200/5時’電流 表A之讀值應為多少安培(A) ?
(A)2 (B)3 (C) √3(D)2√3
34.,則其無載時每線充電電流值與下列何者最接近? (A) 0.57 安培 (B) 0.65 安培 (C) 1.13 安培 (D) 1.96 安培
35.承上題(第34題),則其三相充電容量約為多少千乏(kVAR)? (A) 19.5 (B) 33.9 (C) 58.8 (D) 117.6
36•微風(風速約在8 m/sec以下)以水平面方向行進,垂直吹向架空導線,將引起何種導線振動? (A)諧振動 (B)舞振動 (C)旋風振動 (D)以上皆非
37,則 功率因數約為多少? (A) 0.5 (B) 0.6 (C) 0.707 (D) 0.866
38.承上題(第37題),其有效功率值與下列何者最接近? (A)50 瓦 (B) 70.7 瓦 (C) 86.6 瓦 (D) 100 瓦
39. 若以一次側15 MVA、66 kV為標么基準值,則Zp為多少標么(p.u.) ? (A)j0.01 (B)j0.02 (C)j0.05 (D)j0.07
40.承上題(第39題),則Zt為多少標么(p.u.) ? (A)j0.01 (B)j0.03 (C)j0.05 (D)j0.07
41.下列敘述何者正確? (A)輸電線實功率流動主要由兩端電壓大小之差值決定 (B)輸電線虛功率流動主要由兩端電壓之相角差決定 (C)變壓器有載分接頭切換器可調整低壓側負載大小 (D)以上皆非
42.為避免沿礙子表面發生閃絡現象,保護礙子免於破裂,一般可於礙子連兩端裝設何種裝置? (A)弧角或弧環 (B)制振器 (C)間隔器 (D)以上皆非
43.計算導線最高容許溫度之安全電流,需考量導線發熱與散熱的平衡,下列何者熱量較小,可 不予考慮? (A)傳導散熱量 (B)對流散熱量 (C)輻射散熱量 (D)太陽照射熱量
44則此導線 並聯電容約義多少(法拉/公尺)? (A)1.25✕10
‒12
(B)5xl0
-12
(C) ll.llxl0
‒12
(D) 12.5xl0
‒12
45.承上題(第44題),則此導線串電感為多少(亨利/公尺)? (A)8xl0
‒5
(B) lxl0
‒6
(C) 2xl0
‒6
(D) 4x10
‒6
46.下列敘述何者不正確? (A)斷路器需設計可啟斷含直流成分之非對稱故障電流 (B)隔離開關需設計可啟斷一般故障電流 (C)負載開關需設計可啟斷負載電流,無法啟斷故障電流 (D)斷路器啟斷時間計算從斷路器收到啟斷信號時間起算,至電弧消滅時間為止
47.在陸地之地下輸電電纜埋設方法中,下列何者不適用於台灣之地理環境? (A)直接埋地法 (B)管路引入法 (C)電纜溝引入法 (D)涵洞或洞道引入法
48輸電級交連聚乙烯(XLPE)電纜,構造不包括下列何者? (A)分割導體 (B)絕緣體 (C)絕緣油油管 (D)半導電層
49,其負載端電流為多少安培(A) ? (A)10(B)50(C) 80(D) 100
50.承上題(第49題),其電壓下降率為多少? (A)5% (B)10% (C) 15 % (D) 20 %
申論題 (0)
相關試卷
115年 - 115 台灣電力公司_新進僱用人員甄試試題:輸配電學#139775
115年 · #139775
114年 - 114 台灣電力公司_新進僱用人員甄試試題:輸配電學#129369
114年 · #129369
113年 - 113 台灣電力公司_新進僱用人員甄試試題_專業科目 A:輸配電學#121807
113年 · #121807
112年 - 112 台灣電力公司_新進僱用人員甄試:輸配電學#116956
112年 · #116956
111年 - 111 台灣電力公司_新進僱用人員甄試:輸配電學#107785
111年 · #107785
110年 - 110 台灣電力公司_新進僱用人員甄試:輸配電學#98769
110年 · #98769
109年 - 109 台灣電力公司_新進僱用人員甄試:輸配電學#86553
109年 · #86553
108年 - 108 台灣電力公司_新進僱用人員甄試:輸配電學#78749
108年 · #78749
107年 - 10712 台灣電力公司_新進僱用人員甄試:輸配電學#73753
107年 · #73753
107年 - 10705 台灣電力公司_新進僱用人員甄試:輸配電學#73298
107年 · #73298