阿摩線上測驗
登入
首頁
>
船用電機與自動控制(概要)
> 102年 - 102年 - 102年第一次航海人員測驗二等管輪 船用電機與自動控制(補測)#26071
102年 - 102年 - 102年第一次航海人員測驗二等管輪 船用電機與自動控制(補測)#26071
科目:
船用電機與自動控制(概要) |
年份:
102年 |
選擇題數:
40 |
申論題數:
0
試卷資訊
所屬科目:
船用電機與自動控制(概要)
選擇題 (40)
1.直流發電機中之電樞反應將會造成主磁通有何變化? (A)主磁通扭曲,磁性中性面依轉子旋轉方向後退一個角度 (B)主磁通扭曲,磁性中性面依轉子旋轉方向前進一個角度 (C)主磁通扭曲,磁性中性面位置不變 (D)主磁通不會扭曲,磁性中性面位置不變
2.下列何種狀況會讓SCR不預期導通? (A)A-K極(Anode-cathod)間之電源電壓過高 (B)閘極(Gate)施加逆向觸發訊號 (C)閘極(Gate)施加正向觸發訊號 (D)A-K極施以逆向偏壓
3.以下關於變容二極體(Varactor diode)之敘述何者錯誤? (A)變容二極體是工作在逆偏狀態 (B)增大逆向偏壓可增大電容量 (C)調整逆向偏壓可調整電容量 (D)變容二極體常用於通訊系統的調諧電路
4.以下何種氣壓元件具有延時的功能? (A)單向止回閥(Check valve) (B)雙向止回閥(Double check valve) (C)單向節流閥 (D)多路閥
5.對於各種電機、電器設備要求其線圈電流小而產生的磁通大,通常在線圈中要放鐵心。這是基於鐵 磁材料的何種特性? (A)磁飽和性 (B)良導電性 (C)高導磁性 (D)磁滯性
6.安裝於艏推進室(Bow thruster room)內的離子式(Ionization detector)火警偵測器(Fire detectors),當天候不良須關閉通風時,常會發生誤警現象,試問其原因為何? (A)天候不良,浪擊震動太激烈 (B)濕度太重,致產生凝霧現象 (C)通風關閉,難以散熱,溫度終於超限 (D)密閉艙間之呼吸作用,產生壓差現象
7.船舶三相AC 440V供電系統中,下列何者為 “保護性接地線”? (A)無線電設備的屏蔽體的接地線 (B)比流器或比壓器的鐵芯接地線 (C)發電機三相四線式的中性線 (D)交流電焊機的接地線
8.船上電力DC 24 V緊急照明系統經常發生 “接地” 現象,最可能原因為何? (A)線路誤接 (B)負荷過載 (C)絕緣損傷 (D)潮濕積垢
9.某船舶主機操俥系統為中央電腦運作型,當離港恆俥全速運轉後有一紅色指示燈『Emerg. shut down』突然亮起並鳴警報,試問主機之自動運作如何? (A)主機油門緩慢縮減,停留於最慢速並待指令停俥 (B)主機油門立即關閉,隨著船舶慣性空轉終達停俥 (C)主機油門緩慢縮減,隨著船舶慣性空轉終達停俥 (D)主機油門立即關閉,並行空氣煞俥以達快速停俥
10.在柴油主機遙控系統中,若操俥位置是在駕駛台時,其主俥鐘的功能按順序是: (A)啟動、停止、轉向、加減俥及重置 (B)啟動、轉向、停止、加減俥及重置 (C)轉向、啟動、加減俥、停止及重置 (D)停止、啟動、轉向、加減俥及重置
11.電磁接觸器(MC)之三個接線端子標示為R、S、T及U、V、W,是什麼接點? (A)主a接點,電流容量大,R、S、T接三相電源,U、V、W接三相負載 (B)無所謂主a或一般a接點,而且三相電源與負載可以任意分別接在其接點的R、S、T及U、V、W (C)主b接點,電流容量小,U、V、W接三相電源,R、S、T接三相負載 (D)無所謂主b或一般b接點,三相電源接在U、V、W,負載接在R、S、T
12.
左圖符號在電路中代表什麼接點? (A)延遲動作,瞬時復歸b接點 (B)瞬時動作,延遲復歸a接點 (C)瞬時動作,瞬時復歸b接點 (D)雙設定延遲式閃爍a接點
13.電機自動分級卸負載的目的是: (A)避免發電機燒毀 (B)確保主要負載能連續供電 (C)確保次要負載設備安全 (D)減少運轉電機台數
14.逆功率繼電器是保護下列何種裝置?
(A)電動機 (B)配電盤 (C)發電機組 (D)供電盤
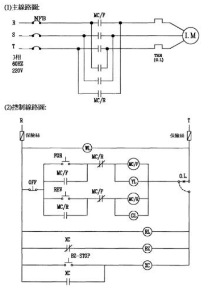
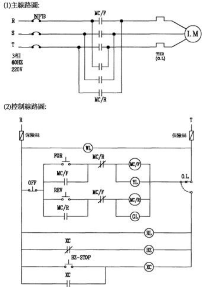
15.從圖主線路與控制線路,如果沒互鎖接點,並設在連續正轉時,突然按逆轉按鈕,則: 鼠籠式三相感應電動機正逆轉控制線路圖
(A)僅控制線路短路故障 (B)主線路R、S、T三線短路故障 (C)主線路S、T二線短路故障 (D)主線路R、T二線短路故障
16.於直流電路中有兩只同型電容器,其規格為500 V、0.1μF。今若予串聯,試問該組合之總耐壓值及 總電容量各應為何值? (A)500 V、0.05μF (B)500 V、1μF (C)1000 V、0.05μF (D)1000 V、1μF
17.目前船上柴油交流發電機均裝有調速器(Governor),若調速器特性不具有下降特性(Speed droop)則會產生何後果? (A)在供電系統中,對發電機的並聯運轉沒有影響 (B)在供電系統中,發電機可以並聯運轉 (C)在供電系統中,發電機無法並聯運轉 (D)發電機無法運轉
18.船舶電力系統中的斷路器,其過電流保護裝置具有最大電流調整值為下列何者? (A)主發電機控制盤主開關 (B)負載盤內用於接通動力分電盤的開關 (C)負載盤內用於接通照明分電盤的開關 (D)主海水泵的起動箱的開關
19.均壓線對於同步發電機並聯運轉的作用為何? (A)實施頻率的自動調整 (B)實施有效功率的自動調整 (C)實施無效功率的自動調整 (D)建立電壓
20.有關直流電動機之起動,下列敘述何者錯誤? (A)控制直流電動機起動之目的為降低起動電流 (B)降低起動電流的方法之一為在電樞繞組中串聯一電阻 (C)起動轉矩可藉由提高磁通來增加 (D)當直流電動機轉速為零時,電樞反電動勢最大,故起動電流小
21.下列何者不屬於鼠籠式感應電動機轉子之特點? (A)轉子鐵心一般是矽鋼片堆疊組合而成 (B)轉子使用銅條或鋁條裝置於鐵心槽內 (C)轉子結構簡單堅固 (D)轉子可以用引線與外部相連,以調整轉子電阻,改善起動特性
22.氣壓馬達之主要功能為何? (A)將電能轉換成機械能 (B)將壓縮空氣的壓力轉成電能 (C)將流體能量轉換成動能 (D)供應氣源
23.下列對於矽控整流器(SCR)之敘述何者錯誤? (A)為四層半導體裝置 (B)可作為高速開關使用 (C)當作為開關使用時會產生火花 (D)當作為開關使用時不會產生聲音
24.下列何種控制動作可消除穩態誤差? (A)比例控制 (B)積分控制 (C)微分控制 (D)ON-OFF控制
25.微分動作需要謹慎使用的原因為何? (A)微分動作將導致系統反應變慢 (B)對感測雜訊或環境擾動敏感 (C)不適用於具時間延遲的工作程序 (D)無法消除穩態誤差
26.下列何者不屬於保護型繼電器(Protection relay)的特徵? (A)有感測元件 (B)輸出為ON-OFF動作 (C)具有比較單元 (D)具有自備電源
27.燃油的黏度控制是屬於下列那一種控制模式? (A)定值控制 (B)追值控制 (C)ON-OFF控制 (D)遙控
28.下列那一種溫度感測器會產生熱電動勢? (A)電阻式溫度感測器(RTD) (B)熱電耦 (C)溫敏電阻 (D)感溫IC
29.在RLC串聯電路中,當感抗大於容抗時,下列敘述何者正確? (A)電壓與電流同相 (B)電路為電容性 (C)電路為電阻性 (D)電路為電感性
30.如下圖,3歐姆及6歐姆之兩個電阻串聯於電源電壓為12V的電路上,則下列敘述何者錯誤?
(A)總電阻為9歐姆 (B)總電流約為1.3安培 (C)E
1
等於4伏特 (D)E
2
等於12伏特
31.描述交流電之三項基本要素為何?①頻率 ②振幅 ③平均值 ④最大值 ⑤相位角 (A)①②③ (B)①④⑤ (C)②④⑤ (D)③④⑤
32.下列關於磁場的敘述何者錯誤? (A)磁力線由北極出發經過空間回到南極 (B)磁鐵的磁力線涵蓋範圍稱為磁鐵的磁場 (C)磁通密度與線圈匝數、電流強度成反比,與螺線筒之長度成正比 (D)以磁通密度代表磁鐵的磁場強度
33.如下圖,每個電池電壓為12V,外線路電流I為2A,總電壓及通過每個電池的電流為何?
(A)12V/2A (B)12V/1A (C)24V/2A (D)24V/1A
34.當同步交流發電機運轉負荷變動時,其阻尼繞組有何作用? (A)防止自激現象 (B)減少電樞反應 (C)防止轉子追逐震盪 (D)防止起動電流過大
35.發電機之功能為何? (A)將機械能轉換成電能 (B)將電能轉換成機械能 (C)將熱能轉換成電能 (D)將電能轉換成熱能
36.發電機之感應電動勢,其大小與下列何者無關? (A)導線磁場的強度 (B)導線切割磁場的速度 (C)導線的匝數 (D)導線直徑的大小
37.在交流電路中欲擴大電流計之量測範圍,可利用下列何種裝置? (A)比壓器 (B)比流器 (C)整流器 (D)倍率器
38.同步指示器的指針應在何位置,才是兩部交流發電機進行手動並聯時的正確時機? (A)順時針接近12點鐘 (B)順時針接近6點鐘 (C)逆時針接近12點鐘 (D)逆時針接近6點鐘
39.T型熱電耦溫度計適合之量測範圍為何? (A)0℃~1400℃ (B)-200℃~1100℃ (C)-200℃~850℃ (D)-250℃~400℃
40.船上監視系統最常用之保養策略為何? (A)修正性保養(Corrective maintenance) (B)預防性保養(Preventive maintenance) (C)依情況保養(Condition–based maintenance) (D)隨機性保養(Random maintenance)
申論題 (0)
相關試卷
115年 - 115年第一次航海人員測驗【602】二等管輪【000022】船用電機與自動控制概要#138328
115年 · #138328
115年 - 115-1 航海人員測驗 _ 一等管輪:船用電機與自動控制#137837
115年 · #137837
114年 - 114-4 航海人員測驗_二等管輪:船用電機與自動控制概要#133727
114年 · #133727
114年 - 114-4 航海人員測驗 _ 一等管輪:船用電機與自動控制#133524
114年 · #133524
114年 - 114-3 航海人員測驗_一等管輪:船用電機與自動控制概要#130590
114年 · #130590
114年 - 114-3 航海人員測驗_二等管輪:船用電機與自動控制概要#130417
114年 · #130417
114年 - 114 海岸巡防特種考試_三等_海洋巡護科輪機組:船用電機與自動控制#129555
114年 · #129555
114年 - [無官方正解]114-2 航海人員測驗_二等管輪:船用電機與自動控制概要#128256
114年 · #128256
114年 - 114-2 航海人員測驗_一等管輪:船用電機與自動控制#127546
114年 · #127546
114年 - 114-1 航海人員測驗_二等管輪:船用電機與自動控制概要#125848
114年 · #125848