阿摩線上測驗
登入
首頁
>
船用電機與自動控制(概要)
> 102年 - 102年 - 102年第四次航海人員特考/二等管輪/ 船用電機與自動控制#26073
102年 - 102年 - 102年第四次航海人員特考/二等管輪/ 船用電機與自動控制#26073
科目:
船用電機與自動控制(概要) |
年份:
102年 |
選擇題數:
40 |
申論題數:
0
試卷資訊
所屬科目:
船用電機與自動控制(概要)
選擇題 (40)
1.有關電容起動分相式感應電動機之敘述,下列何者正確? (A)輔助起動繞組串聯一電容器與離心開關 (B)電容器不能是電解電容 (C)僅能應用於極小起動轉矩的場合 (D)若使輔助起動繞組電流落後主繞組電流約45度相位角,可有效降低起動電流
2.交流發電機中之電樞線圈通常接成下列何種形式? (A)Y型 (B)△型 (C)先接成Y型,後接成△型 (D)先接成△型,後接成Y型
3.兩部交流發電機並聯之前,若兩機之三相電動勢相序不同,但其他並聯條件皆一致時,整步指示燈 將會有何現象? (A)二亮一暗 (B)二暗一亮 (C)三燈皆亮 (D)三燈皆暗
4.下列何種方法可以抑制交流發電機追逐擺動的產生? (A)在轉子磁極表面裝置阻尼繞阻 (B)在定子磁極表面裝置阻尼繞阻 (C)將原動機驅動轉矩之固有頻率與發電機之固有頻率值設計成相同值 (D)加裝變流器設備
5.三相交流電動機之每相起動轉矩與下列何者之平方成正比? (A)轉子電阻 (B)定子電阻 (C)轉子電流 (D)外加電壓
6.直流發電機中之電樞反應將會造成主磁通有何變化? (A)主磁通扭曲,磁性中性面依轉子旋轉方向後退一個角度 (B)主磁通扭曲,磁性中性面依轉子旋轉方向前進一個角度 (C)主磁通扭曲,磁性中性面位置不變 (D)主磁通不會扭曲,磁性中性面位置不變
7.直流發電機無法建立額定電壓的原因,下列何者為非? (A)錯誤的電刷位置 (B)轉速太高 (C)短路的電樞或磁場線圈 (D)磁場電路電阻過大
8.船舶中所使用之軸發電機的定頻率電源裝置中,常含有一個三相變流器,請問其主要作用為何? (A)將直流電變成交流電 (B)將交流電變成直流電 (C)將直流電變成不同大小值之直流電 (D)將交流電變成不同頻率值之交流電
9.光耦合器(Photo coupler)是使用下列何者來接收由LED發射之訊號? (A)達靈頓電晶體 (B)光電晶體 (C)史密特激發器 (D)電壓隨耦器
10.在電晶體放大電路中,輸入端與輸出端均接有一耦合電容器(Coupling capacitor),其功能為: (A)產生功率放大效應 (B)產生電壓放大效應 (C)限制交流訊號之進入 (D)限制直流訊號之進入
11.電晶體之共射放大電路之特點為: (A)放大器之電壓增益趨近1 (B)放大器之電流增益趨近1 (C)反向電壓放大 (D)正向電壓放大
12.常稱為飛輪二極體 (Free wheeling diode) 的電路是: (A)在電磁閥或繼電器線圈上串聯一逆偏之二極體 (B)在電磁閥或繼電器線圈上並聯一逆偏之二極體 (C)在電磁閥或繼電器線圈上串聯一順偏之二極體 (D)在電磁閥或繼電器線圈上並聯一順偏之二極體
13.材料為硫化鎘(CdS)之光敏電阻元件,其特性為發生光度變化時會改變元件的何種輸出? (A)電壓 (B)電流 (C)電阻 (D)電容量
14.如圖為電子元件常用圖符,試問“稽納二極體(Zener diodes)”為那個?
(A)第5個 (B)第4個 (C)第2個 (D)第1個
15.面對階梯型輸入訊號(Step input),系統反應的超射量百分比(Percent of overshoot)顯示下列何 種特性? (A)反應速度 (B)穩定性 (C)準確度 (D)精密度
16.關於熱電耦在使用上應注意的事項,下列何者錯誤? (A)熱電耦的端子連接有正負之分,不可互換 (B)其連接導線為一般銅導線 (C)熱電耦材質可耐高溫,特別適合高溫量測 (D)測溫電路必須有參考溫度端
17.在不經過任何轉換的前提下,差壓變換器(LVDT)所量測的物理量為何? (A)位移 (B)壓力 (C)溫度 (D)液位
18. 如下圖,每個電池電壓為2V,線電流I為0.5A,總電壓E及通過每個電池的電流為何?
(A)4V/0.5A (B)8V/1A (C)4V/1A (D)8V/0.5A
19.在電容和電阻串聯的交流電路中,電容電壓為VC、電阻電壓為VR,其相位關係為何? (A)V
R
超前V
C
(B)V
C
超前V
R
(C)同相 (D)不能確定
20.下列四種規格的燈泡,其中電阻值最大的是: (A)220 V,100 W (B)220 V,60 W (C)24 V,100 W (D)24 V,60 W
21.為考量安全,所有船用鎧裝電纜,在其鎧裝兩端應施行何種有效措施? (A)密封 (B)防蝕 (C)固定 (D)接地
22.某輪之補給吊俥(Provision crane)於吊貨上揚半途中突然自動停止,檢視控制箱發現捲揚馬達用 保險絲一只(440V,20A)玻璃管已發黑,試問於進行故障搜索在更換保險絲前,最重要的動作為 何? (A)取下該發黑保險絲作確認 (B)復置過電流保護裝置 (C)跨接該保險絲先放下重貨 (D)關閉控制箱的斷路器
23.船上的電氣設備常遭受潮濕、鹽垢、黴菌、及油霧等侵蝕,其對電氣設備產生之主要影響為何? (A)散熱功能阻礙 (B)電器負載變小 (C)電纜芯線銹蝕 (D)絕緣性能下降
24.船舶電機設備應於搖擺或傾斜時仍能穩定運作,此 “動態” 搖擺或傾斜工況的容許範圍為何? (A)橫向45°,艏艉向15° (B)橫向22.5°,艏艉向7.5° (C)橫向15°,艏艉向5° (D)橫向10.5°,艏艉向3.5°
25.下列何者不屬於柴油發電機之安全保護? (A)滑油低壓跳脫 (B)缸套水高溫跳脫 (C)超速跳脫 (D)燃油低溫跳脫
26.交流同步發電機,定子鐵心由相互絕緣的矽鋼片堆疊而成,其目的為減少那種損失? (A)銅損 (B)磁滯損 (C)渦流損 (D)機械損
27.下圖中第1號機組空氣斷路器(ACB)顯示於『IN』(結合)狀態,試問其意為何?
(A)該機組正行啟動 (B)該機組正行配電 (C)該機組正供電中 (D)該機組正行斷電
28.船舶電力系統的構成包含下列那四大部分?①電源設備 ②配電裝置 ③電力網絡 ④負載 ⑤變電設 備 ⑥控管裝置 (A)①②③④ (B)②③④⑤ (C)③④⑤⑥ (D)①②④⑤
29.船舶440 V AC三相60 Hz全自動配電盤正行自動並聯運作時,開啟整步指示器(Synchroscope), 發現其指針停留於約7點鐘位置且不動,表示待並聯發電機之頻率如何?
(A)略低於匯流排 (B)略高於匯流排 (C)等於匯流排 (D)等於額定頻率
30.船用鉛蓄電池的電解液在充電過程中,其比重是: (A)不變 (B)升高 (C)降低 (D)變濃
31.現行船上交流發電機的電壓自動調整器,其可允許電壓突降(Voltage dip)的最大值是額定電壓的 多少%? (A)5 (B)15 (C)20 (D)25
32.發現某440V馬達電路上的保險絲(Fuse)燒損,雖經換新但仍遭燒損,主要的原因是: (A)電壓過低 (B)發生短路 (C)反向運轉 (D)保險絲的方向弄錯
33.電機自動分級卸載的作用是: (A)當發電機過載時,將大功率負載從電力系統中自動移除,以確保發電機正常運轉 (B)當發電機過載時,將次要負載從電力系統中分級自動移除,以確保發電機正常運轉 (C)利用此設備自動移除需要停用的負載 (D)當電力系統發生故障,可選擇部分負載自電力系統中移除,以確保電力系統正常運作
34.船舶電力系統中的斷路器,何者過電流保護裝置的電流調整值最小? (A)主發電機控制盤主開關 (B)負載盤(Feed panel)內用於接通動力分電盤的開關 (C)負載盤(Feed panel)內用於接通照明分電盤的總開關 (D)飲用水泵起動箱開關
35.某船舶主機操俥系統為中央電腦運作型,當離港恆俥全速運轉後有一紅色指示燈『Slow down』突 然亮起並鳴警報,試問主機之自動運作如何? (A)主機轉速逐漸降低終達停俥狀態 (B)主機轉速穩留於半速狀態待加俥 (C)主機立即降低轉速穩於慢俥狀態 (D)主機轉速先降低然後自動再加俥
36.在主機遙控系統中有關速度控制的調速器輸入信號是由: (A)主機實際轉速值輸入 (B)供油量輸入 (C)設定主機轉速值輸入 (D)主機燃油溫度值輸入
37.當使用電磁開關的感應馬達因過載而停轉時,經檢查修正後在起動前需如何處置? (A)測量電源電壓 (B)主電路更換大容量保險絲 (C)對積熱電驛手動復位 (D)更換電磁開關
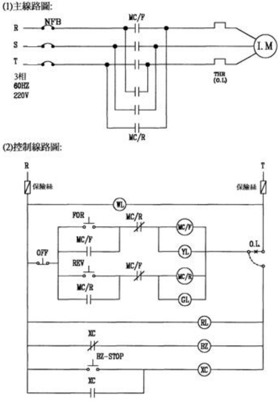
38.從圖,如果沒有互鎖接點,並設在連續正轉時,突然按下REV按鈕,產生短路故障,則: 鼠籠式三相感應電動機正逆轉控制線路圖
(A)僅NFB跳脫 (B)OL跳脫與保險絲熔斷 (C)NFB與OL皆跳脫,及保險絲熔斷 (D)保險絲先熔斷,後OL跳脫,再後NFB跳脫
39.電磁接觸器(MC)之「操作電流」是指: (A)框架接點之可耐電流 (B)接點能承受之最高電流 (C)電磁線圈之額定電流 (D)負載之額定電流
40.下列有關遠洋船舶上蘇伊士運河燈之敘述何者正確? (A)兩個獨立光源,交換使用 (B)一個雙絲光源,同時使用 (C)兩個獨立光源,同時使用 (D)一個雙絲光源,雙絲交換使用
申論題 (0)
相關試卷
115年 - 115年第一次航海人員測驗【602】二等管輪【000022】船用電機與自動控制概要#138328
115年 · #138328
115年 - 115-1 航海人員測驗 _ 一等管輪:船用電機與自動控制#137837
115年 · #137837
114年 - 114-4 航海人員測驗_二等管輪:船用電機與自動控制概要#133727
114年 · #133727
114年 - 114-4 航海人員測驗 _ 一等管輪:船用電機與自動控制#133524
114年 · #133524
114年 - 114-3 航海人員測驗_一等管輪:船用電機與自動控制概要#130590
114年 · #130590
114年 - 114-3 航海人員測驗_二等管輪:船用電機與自動控制概要#130417
114年 · #130417
114年 - 114 海岸巡防特種考試_三等_海洋巡護科輪機組:船用電機與自動控制#129555
114年 · #129555
114年 - [無官方正解]114-2 航海人員測驗_二等管輪:船用電機與自動控制概要#128256
114年 · #128256
114年 - 114-2 航海人員測驗_一等管輪:船用電機與自動控制#127546
114年 · #127546
114年 - 114-1 航海人員測驗_二等管輪:船用電機與自動控制概要#125848
114年 · #125848