阿摩線上測驗
登入
首頁
>
船用電機與自動控制(概要)
> 103年 - 103年 - 103年第二次航海人員特考/二等管輪 /船用電機與自動控制#25711
103年 - 103年 - 103年第二次航海人員特考/二等管輪 /船用電機與自動控制#25711
科目:
船用電機與自動控制(概要) |
年份:
103年 |
選擇題數:
40 |
申論題數:
0
試卷資訊
所屬科目:
船用電機與自動控制(概要)
選擇題 (40)
1.下列何種制動法可使直流電動機之旋轉能量變為電能,並在電路中利用電阻以放熱方式消耗 能量? (A)動力制動 (B)再生制動 (C)渦流制動 (D)逆相制動
2.使用60Hz三相交流電源之八極鼠籠式感應電動機,在特定負載下其轉子的轉速為855rpm, 則其轉差率(Slip)為何? (A)10.0% (B)5.5% (C)5.0% (D)2.5%
3.交流三相全波橋式整流器,最少需用到幾個二極體? (A)10 (B)4 (C)6 (D)8
4.交流同步發電機之頻率與下列何者有關? (A)原動機轉速 (B)導體總數 (C)導體粗細 (D)每極之磁通數
5.有關單相與三相感應電動機之比較,下列敘述何者錯誤? (A)就同容量而言,單相感應電動機體積較小 (B)三相感應電動機之效率比較高 (C)家用電器多採用單相感應電動機 (D)單相感應電動機需要輔助起動裝置
6.氣壓控制系統之中壓系統,其壓力範圍為何? (A)0.5-500mbar之間 (B)3-8bar之間 (C)8-20bar之間 (D)20bar以上
7.下列何者為保養氣動式儀錶時所必須經常進行的工作? (A)更換密封圈 (B)更換歸零彈簧 (C)清潔噴嘴 (D)放掉濾清減壓閥的殘水污物
8.具有磁力起動裝置的三相感應電動機中,其欠相保護是透過下列何項裝置來完成的? (A)接觸器 (B)手動開關 (C)積熱繼電器 (D)熔斷器
9.與矽控整流器(SCR)相比較,矽控開關(Silicon Controlled Switch,SCS)的特點為何? (A)導通的電流可高於SCR (B)導通的速度可高於SCR (C)開關的導通與截止的控制方法較SCR簡單 (D)耐電壓的程度可高於SCR
10.NPN型雙接面電晶體作放大器使用時,電晶體的射極電壓必須呈現: (A)0V (B)較基極為負 (C)較基極為正 (D)較集極為正
11.利用感溫電阻檢測某一系統之溫度時,常需三線制測溫電橋作為溫度補償,其作用是: (A)使感溫電阻隨溫度變化且特性穩定 (B)克服外部干擾信號之影響 (C)克服環境溫度變化對檢測精度之影響 (D)保證檢測器之輸出與溫度成線性關係
12.如圖為海水溫度PID控制器,試問“02”符號的意義為何?
(A)放大器 (B)偵測器 (C)設定器 (D)比較器
13.在發電機的電壓控制系統中,控制器(Controller)是指: (A)發電機 (B)空氣斷路器(ACB) (C)自動電壓調整器(AVR) (D)激磁機(Exciter)
14.量測儀器之阻尼調整(Damping adjust)是屬於: (A)儀器靜態特性調整 (B)儀器之放大率調整 (C)儀器之功率調整 (D)儀器之動態特性調整
15.鍋爐常使用硫化鎘(CdS)作為爐膛之燃燒狀況的檢測元件,其特性為光度變暗時: (A)感應電流上升 (B)感應電流下降 (C)電阻上升 (D)電阻下降
16.在迴轉式容積流量檢測器中,反應流量大小之輸出信號是: (A)電感之大小 (B)電流之大小 (C)氣壓信號大小 (D)不同頻率的電脈衝
17.三相交流電之線電壓為E,線電流為I,其相位角為θ,則下列何者表示虛功率? (A)P=EIcosθ (B)P=EIsinθ (C)P=
EIcosθ (D)P=
EIsinθ
18.當100µF的電容器跨接於電壓為110V的直流電源上時,其通過的電流為多少安培(A)? (A)16.5 A (B)1.04 A (C)0.175 A (D)0 A
19.線圈通入電流後,會在線圈中產生磁場,其電流方向與磁場方向符合: (A)右手螺旋定則 (B)安培右手定則 (C)左手定則 (D)楞次定律
20. 如下圖所示,導體的受力運動方向為:(
表示電流流出,
表示電流流入方向)
(A)左上右下 (B)左下右上 (C)左下右下 (D)左上右上
21.如圖所示純電容交流電路中,電壓v與電流i的相位關係為下列何者?
(A)電流滯後電壓90° (B)電流超前電壓90° (C)電流與電壓同相 (D)電流超前電壓180°
22. 化簡下列布林代數式
(A)0 (B)1 (C)A (D)B
23.二進位數字110111.11轉換為十進位數字為何? (A)50.15 (B)45.11 (C)55.25 (D)55.75
24.船舶AC 100 V配電線路各絕緣極與地間以及極與極間之絕緣電阻,依規定不得小於幾MΩ? (A)0.1 (B)1 (C)10 (D)100
25.船上電力DC 24 V緊急照明系統經常發生「接地」 現象,最可能原因為何? (A)線路誤接 (B)負荷過載 (C)絕緣損傷 (D)潮濕積垢
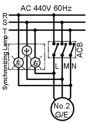
26. 船舶三相440V AC 60Hz全自動配電盤,配有 「整步指示燈裝置」,其內部接線如圖所示。 當2號發電機進行自動配電時,發現 「中燈熄滅但左右兩燈卻是相同明亮」,試問其意為 何?
(A)2號機組之頻率及電壓皆略高於匯流排約≧3 % (B)2號機組之頻率及電壓皆略低於匯流排約≦3 % (C)2號機組之相序、頻率、電壓皆差異於匯流排 (D)2號機組之相序、頻率、電壓皆相同於匯流排
27.交流三相440V,60Hz之船舶供電系統配備有3部同型額定容量1,000kW柴油發電機,若僅使 用第1號機組單機供電,並設定第2號機組為優先備便。今若負載達穩定910kW時,試問該全 自動配電盤當如何運作為最適宜? (A)起動第2號機組,手動配電及非均衡負載之分配 (B)起動第2號機組,等待時機進行自動配電均衡負載 (C)人工起動第2號機並自動配電進行非均衡負載分配 (D)起動第2號機組並自動配電進行負載均衡
28.在無人當職的機艙,通常必備何種系統以取代夜間輪機員的當值? (A)遙控主機操俥系統 (B)機艙監控系統 (C)鍋爐自動給水系統 (D)溫度自動控制系統
29.直流匯流排上的正、負極的顏色是: (A)正—紅,負—白 (B)正—藍,負—白 (C)正—紅,負—藍 (D)正—白,負—紅
30.均壓線對於同步發電機並聯運轉的作用為何? (A)實施頻率的自動調整 (B)實施有效功率的自動調整 (C)實施無效功率的自動調整 (D)建立電壓
31.船舶電力系統其發電機台數之決定,以下列何者為正確? (A)機艙的空間 (B)冷凍櫃裝載之數目 (C)電力系統電力的負荷 (D)船價的考慮
32.若於周圍溫度45℃的正常工作條件下,其保險絲通以「額定電流」之100%,則其溫度最高 不應超過何值? (A)45℃ (B)50℃ (C)55℃ (D)60℃
33.主機操俥位置在駕駛台,若將俥鐘桿由正俥全速直接移至倒俥的某速時,主起動閥何時開 啟? (A)俥鐘桿移至倒俥定位時 (B)俥鐘桿移經停俥位置時 (C)當俥鐘桿移至倒俥且轉速降至剎俥轉速時 (D)當俥鐘桿移至倒俥且轉速降至可換向轉速時
34.主機遙控系統中,在下列何種情形下將緊急切斷燃油的供應? (A)主機發生超速運轉 (B)主機發生掃氣箱溫度高而著火 (C)主機發生缸套冷卻水壓力低落 (D)發生艉軸滑油壓力低
35.主機遙控系統的功能中包括: (A)主機轉速的自動調整 (B)主機泠卻水溫度的自動調整 (C)燃油濾器的自動清洗 (D)主機燃油壓力的偵測
36.一般三相感應馬達之控制電路裡,不需設置什麼保護裝置? (A)過載 (B)短路 (C)逆相序 (D)斷電
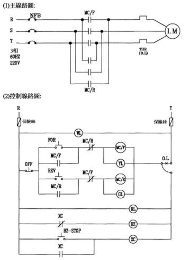
37.從圖主線路與控制線路,如果沒互鎖接點,並設在連續正轉時,突然按逆轉按鈕,則: 鼠籠式三相感應電動機正逆轉控制線路圖 (A)僅控制線路短路故障 (B)主線路R、S、T三線短路故障 (C)主線路S、T二線短路故障 (D)主線路R、T二線短路故障
38.以下何者是巡迴監視式警報系統之特點? (A)在同一時間,只監視一個監視點,只要一個警報控制單元 (B)在同一時間,只監視一個監視點,每個監視點都要一個警報控制單元 (C)在同一時間,可監視全部監視點,只要一個警報控制單元 (D)在同一時間,可監視全部監視點,每個監視點都要一個警報控制單元
39.電瓶電源主要供電至下列何者? (A)舵機 (B)部分緊急照明 (C)緊急空壓機 (D)緊急滅火泵
40.兩部直流發電機並聯運轉,若只減少其中一台發電機之激磁電流,另一台發電機之激磁電流 未做改變,則會出現下列何種現象? (A)視在功率分配情況未改變,電路系統電壓降低 (B)視在功率分配情況未改變,電路系統電壓升高 (C)視在功率分配情況改變,電路系統電壓降低 (D)視在功率分配情況改變,電路系統電壓升高
申論題 (0)
相關試卷
115年 - 115年第一次航海人員測驗【602】二等管輪【000022】船用電機與自動控制概要#138328
115年 · #138328
115年 - 115-1 航海人員測驗 _ 一等管輪:船用電機與自動控制#137837
115年 · #137837
114年 - 114-4 航海人員測驗_二等管輪:船用電機與自動控制概要#133727
114年 · #133727
114年 - 114-4 航海人員測驗 _ 一等管輪:船用電機與自動控制#133524
114年 · #133524
114年 - 114-3 航海人員測驗_一等管輪:船用電機與自動控制概要#130590
114年 · #130590
114年 - 114-3 航海人員測驗_二等管輪:船用電機與自動控制概要#130417
114年 · #130417
114年 - 114 海岸巡防特種考試_三等_海洋巡護科輪機組:船用電機與自動控制#129555
114年 · #129555
114年 - [無官方正解]114-2 航海人員測驗_二等管輪:船用電機與自動控制概要#128256
114年 · #128256
114年 - 114-2 航海人員測驗_一等管輪:船用電機與自動控制#127546
114年 · #127546
114年 - 114-1 航海人員測驗_二等管輪:船用電機與自動控制概要#125848
114年 · #125848