阿摩線上測驗
登入
首頁
>
機械工程製圖
> 104年 - 104 鐵路特種考試_佐級_機械工程:機械工程製圖大意#22124
104年 - 104 鐵路特種考試_佐級_機械工程:機械工程製圖大意#22124
科目:
機械工程製圖 |
年份:
104年 |
選擇題數:
40 |
申論題數:
0
試卷資訊
所屬科目:
機械工程製圖
選擇題 (40)
1 為了繪製物體中不平行於主投影面之斜面的真實形狀,可採用何種視圖? (A)輔助視圖 (B)剖視圖 (C)中斷視圖 (D)虛擬視圖
2 欲在一物體上施作表面處理,圖面上之處理範圍可用何種線型表示? (A)粗實線 (B)細實線 (C)一點細鏈線 (D)一點粗鏈線
3 下圖為利用第三角法繪製一物體之前視圖和右側視圖,何者為此物體正確之俯視圖?
4 下圖為利用第三角法繪製一物體之前視圖和右側視圖,何者為此物體正確之俯視圖?
複選題
5 下圖為利用第三角法繪製一物體之前視圖和俯視圖,何者為此物體正確之右側視圖?
6 下圖為利用第三角法繪製一物體之前視圖和俯視圖,何者為此物體正確之右側視圖?
7 下圖為一物體之剖視圖,求出正確之錐度,單位為 mm:
(A) 1:3 (B)1:5 (C)2:5 (D)3:5
8 表示外螺紋之端視圖時,須以細實線繪製留缺口約四分之一的圓弧,其意義為下列何者? (A)螺紋之大徑 (B)螺紋之小徑 (C)螺紋之節徑 (D)螺紋之螺距
9 依據 CNS 工程製圖標準,一點細鏈線可用於下列何種用途? (A)折斷線 (B)投影線 (C)節線 (D)假想線
10 採用第三角投影法繪製一物體正投影視圖,已知該物體的前視圖、右側視圖,請選出正確的俯視圖?
11
視圖中管路符號之接合方法,下列敘述何者正確? (A)插承接合 (B)凸緣接合 (C)螺紋接合 (D)銲接接合
12
視圖中之銲接符號,下列敘述何者正確? (A)全周銲接,填角銲有效喉深 5 mm (B)現場銲接,填角銲腳長 5 mm (C)現場全周銲接,填角銲有效喉深 5mm (D)現場全周銲接,填角銲腳長 5mm
13 表面織構符號
下列敘述何者正確? (A)代替符號 (B)非特定加工方法 (C)要求去除材料 (D)不得去除材料
14
左列表面織構符號中
,下列敘述何者正確? (A)公用表面織構符號 (B)差異的表面織構符號 (C)限制於單一的表面織構符號 (D)表面處理前的表面織構符號
15 工程製圖中幾何公差附加符號
,此符號所表示的為? (A)公差形態之標示 (B)基準目標 (C)基準之標示 (D)包絡圓
16 工程製圖中幾何公差符號
,符號
所表示的為? (A)目標之形態 (B)最大實體狀態 (C)延伸公差區域 (D)包絡圓
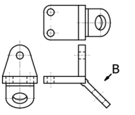
17 下圖為採用第三角投影法繪製手持夾鉗正投影組合視圖的前視圖,依據功能請選出零件 B 的正確名稱:
(A)六角頭螺釘 (B)方頭螺釘 (C)圓頭螺釘 (D)六角承窩螺釘
18
左圖在工程圖中稱之為: (A)E 形扣環 (B)軸用 C 形扣環 (C)孔用 C 形扣環 (D)碟形扣環
19
左圖所示,其中符號 c 代表: (A)單一項表面織構要求 (B)2 個或更多表面織構之要求 (C)加工方法 (D)表面紋理及方向
20 下圖為利用第三角法繪製一物體之前視圖和左側視圖,何者為此物體正確之俯視圖?
21 下圖為一物體之立體圖,請依箭頭指示方向,選出正確之投影視圖:
22 下圖為利用第三角法繪製一物體之前視圖和俯視圖,何者為此物體正確之左側視圖?
23 以件號 3 的銷連結件號 1 與件號 2 之零件,下列何者為組合件之理想剖面表示法?
24 依據 CNS 工程製圖標準,下列何者為內外螺紋組合之習用表示法?
25 於軸孔干涉配合中,孔的上限界尺度與軸的下限界尺度間之差為下列何者? (A)最小間隙 (B)最大間隙 (C)最小干涉 (D)最大干涉
26 下列各幾何公差中,何者屬於形狀公差? (A)真平度 (B)垂直度 (C)位置度 (D)對稱度
27 下圖為採用第三角投影法繪製一物體正投影視圖的前視圖、俯視圖與左側視圖,請選出 B 方向正確的輔助 視圖:
28 下圖為採用第三角投影法繪製一物體正投影視圖的前視圖與俯視圖,請選出正確的左側視圖:
29 下圖為採用第三角投影法繪製一物體正投影視圖的前視圖、右側視圖與俯視圖,請選出正確的 A-A 剖視圖:
30 下圖為採用第三角投影法繪製一物體正投影視圖的前視圖與右側視圖,請選出正確的仰視圖:
31 下圖為採用第三角投影法繪製手持夾鉗正投影組合視圖的前視圖,請選出零件 A 的正確前視圖:
32 下圖為採用第三角投影法繪製一物體正投影視圖的前視圖與俯視圖,請選出前視圖的正確全剖視圖?
33 下圖為採用第三角投影法繪製物體正投影視圖的前視圖與右側視圖,請選出正確的俯視圖:
34
左圖所示工程製圖之管路符號,下列敘述何者正確? (A)附加強座 (B)螺紋直接頭 (C)附加強板 (D)插承接合
複選題
35 下圖為採用第三角投影法繪製一物體正投影視圖的前視圖、右側視圖與部分俯視圖,請選出正確的俯視圖?
36 下圖為利用第三角法繪製一物體之前視圖和俯視圖,何者為此物體正確之右側視圖?
37 下圖為一物體之立體圖,請依箭頭指示方向,選出正確之投影視圖:
38 下圖為一物體之立體圖,請依箭頭指示方向,選出正確之投影視圖:
39 下圖為採用第三角投影法繪製一物體正投影視圖的前視圖與俯視圖,請選出正確的右側視圖:
40 下圖為採用第三角投影法繪製劃線台正投影組合視圖的前視圖與俯視圖,請選出件號 3 正確的正投影視圖:
申論題 (0)
相關試卷
105年 - 105 鐵路特種考試_佐級_機械工程:機械工程製圖大意#53465
105年 · #53465
103年 - 103 鐵路特種考試_佐級_機械工程:機械工程製圖大意#22132
103年 · #22132
102年 - 102 原住民族特種考試_五等_機械工程:機械工程製圖大意#34548
102年 · #34548
102年 - 102 鐵路特種考試_佐級_機械工程:機械工程製圖大意#34280
102年 · #34280
101年 - 101 原住民族特種考試_五等_機械工程:機械工程製圖大意#35958
101年 · #35958
101年 - 101 鐵路特種考試_佐級_機械工程:機械工程製圖大意#21207
101年 · #21207
100年 - 100 鐵路特種考試_佐級_機械工程:機械工程製圖大意#33977
100年 · #33977
99年 - 99 鐵路特種考試_佐級_機械工程:機械工程製圖大意#35966
99年 · #35966
98年 - 98 鐵路特種考試_佐級_機械工程:機械工程製圖大意#36856
98年 · #36856
97年 - 97 鐵路特種考試_佐級_機械工程:機械工程製圖大意#35847
97年 · #35847