所屬科目:機械設計
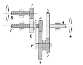
五、如圖所示為一組二自由度齒輪機構,各齒輪的模數皆相同且齒數分別為 T2 = 50、T3 = 30、T4 = 20、T6 = 25、T7 = 20。已知 A 軸的轉速為 210 rpm ccw (逆時針),B 軸的轉速為 300 rpm cw(順時針),試求 C 軸的轉速和 轉向。(20 分)