所屬科目:技檢◆電腦輔助機械設計製圖-乙級
5. 左圖正確的右側視圖為。(D)
13. 國際標線條之粗細,其相鄰兩級間為(A)1.5 倍(B)√3 倍(C)√2 倍(D)2 倍。
15. 左圖的立體圖為(A)(B)(C)(D)
18. 如下圖,你知道這是什麼標章嗎?(A)節能標章(B)環保標章(C)奈米標章(D)省水標章。
29. 下圖直線 cd 平行於(A)垂直面(B)基線(C)水平面(D)側平面。
30. 左圖正確的前視圖為(A)(B)(C)(D)
31. 下圖之線段 AB 具有(A)水平跡及直立跡(B)水平跡(C)直立跡(D)側面跡。
35. 互相嚙合的兩齒輪,在剖視圖中應畫成(A)(B)(C)(D)
38. 幾何公差中,真圓度符號為(A)(B)(C)(D)
40. 幾何公差中,同心度符號為(A)(B)(C)(D)
48. 下圖凸輪的位移圖,其運動形態為(A)等減速度(B)等速度(C)等加速度(D)簡諧運動。
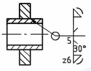
54. 下圖所示之銲接符號,下列敘述何者錯誤?(A)單斜形槽銲接,兩邊銲道槽角相等(B)兩邊填角銲接, 銲道腳長 6mm(C)斜 Y 形槽銲接,兩邊銲道深度相等(D)兩邊全周銲接。
69. 左圖的俯視圖,下列何者正確?
71. 下列有關彈簧之簡易畫法,何者正確? (A)疊板彈簧 (B)圓柱形壓縮彈簧 (C)皿型簧柱 (D)蝸旋彈簧 。
72. 如下圖所示,以割面線切割直立圓錐,可得之曲線為下列何者?(A)割面 A 為雙曲線,割面 B 為正 圓(B)割面 B 為正圓,割面 C 為雙曲線(C)割面 C 為拋物線,割面 A 為雙曲線(D)割面 A 為拋物線, 108 電腦輔助機械設計製圖 乙 5-5(序 001)割面 B 為正圓。
73. 關於尺度標註符號,下列敘述何者正確?(A)更改尺度記號以表示(B)參考尺度以表示(C)未 按比例之尺度以表示(D)理論上正確尺度以表示。
76. 左圖之正確右側視圖為
77. 假設 X 軸為 1 個箭頭,Y 軸為 2 個箭頭,Z 軸為 3 個箭頭,則下列何者為正確的右手坐標軸?