所屬科目:高中技藝◆汽車修護
1. 車主反應引擎運轉噪音大,經技師檢查發現聲音來自搖臂蓋頂部,因此進行汽門間隙檢查,其中第2缸進氣汽門間隙量得的數據為0.42 mm已超出標準值範圍(進氣汽門間隙:0.30 mm;排氣汽門間隙:0.33 mm);此時檢查汽門舉桿厚度為3.02 mm,若要調整至合理值內,應將汽門舉桿更換為多少厚度比較合適? (A)3.06 mm (B)3.10 mm (C)3.14 mm (D)3.18 mm。
2. 有關節溫器相關檢查之敘述,下列何者正確? (A)欲測量節溫器閥門開啟量時,應選用350°C之電熱風槍加熱節溫器 (B)欲測量節溫器閥門開啟溫度時,可將節溫器浸入水中並進行加熱觀測 (C)以廢氣分析儀測量排氣溫度,其最低溫時即為節溫器開啟時 (D)量測引擎冷卻液溫度感知器電阻值,進行查表比對可得節溫器開度百分比。
3. 有關柴油引擎燃油噴射控制系統的敘述,下列何者錯誤? (A)會視不同的限制條件(例如性能和排放)進行噴射循環的控制 (B)噴射循環主要可分為前噴射、主噴射及後噴射 (C)大部分的引擎扭力主要於主噴射循環時產生 (D)前噴射主要用以減少噪音,亦可延長混合氣的點火延遲時間使燃燒最佳化。
4. 右圖有關空燃比感知器特性之敘述,下列何者正確?(A)感知器輸出電壓會隨著燃油量增加而升高 (B)感知器輸出電壓會隨著空氣量增加而升高 (C)感知器輸出電壓會隨著空氣量減少而升高 (D)當感知器輸出電壓為固定值時,表示引擎進入閉迴路控制。
5. 車輛拖吊進廠,車主反應車輛有時無法發動,經技師檢查發現確實有車主所敘述的情況,但是只要持續打馬達5秒以上便可順利發動,請問下列哪一項不須優先進行檢查? (A)起動馬達 (B)燃油泵 (C)節氣門 (D)火星塞。
6. 關於機車之碟式煞車系統,下列敘述何者錯誤?(A)煞車時轉向把手抖動,其原因可能為煞車圓盤變形 (B)碟式煞車系統需經常調整煞車間隙,以維持煞車效能 (C)煞車作用不良,其原因可能為煞車系統中有空氣存在 (D)碟式煞車系統一般採液壓式操作。
7. 關於機車之車體結構,下列敘述何者錯誤? (A)搖臂式前懸吊系統損壞時,可直接更換為潛望式懸吊系統 (B)方向把手不可任意變更其長度及高度 (C)轉向軸主幹不可任意加長或縮短 (D)後搖臂不可任意加長或縮短。
8. 若液壓碟煞系統正常,沒有漏油的現象,但在機車騎乘一段時間後,發覺煞車總泵(主缸)油量減少,則下列敘述何者正確? (A)不正常,可能水分進入總泵 (B)不正常,一定是選錯了煞車油 (C)正常,因為煞車時太熱,把煞車油蒸發掉了 (D)正常,因為煞車塊的磨耗。
9. 機車傳動皮帶設計成齒狀,其主要目的為何? (A)製造方便 (B)增加摩擦力 (C)增加散熱效果 (D)有較小的曲率半徑。
10. 關於機車車身護蓋拆卸順序,下列敘述何者正確? (A)前檔板→前下擾流板→底板→左右車體側蓋 (B)底板→左右車體側蓋→前下擾流板→前檔板 (C)前檔板→左右車體側蓋→前下擾流板→底板 (D)底板→前下擾流板→左右車體側蓋→前檔板。
11. 有位駕駛者抱怨說:他開一部具有ABS裝備的車輛行駛在冰滑的路面時,當他發現前方有障礙而緊急踩煞車時,踩緊煞車踏板的腳會有煞車踏板很快速的上下跳動的感覺。技工甲說:這是ABS作動時正常的現象。技工乙說:這種現象代表ABS可能故障了。請問以上敘述何者為正確? (A)技工甲 (B)技工乙 (C)二者皆對 (D)二者皆錯。
12. 下列對煞車系統之相關敘述,何者錯誤? (A)車輛動能必須能被煞車系統所吸收 (B)當加倍車速時,則車輛動能也跟著加倍 (C)鼓式煞車系統不需要調整煞車間隙 (D)假如車重加倍,則會使車輛行駛時的動能加倍。
13. 有關於OBDⅡ故障碼相關之代表意義,下列敘述何者正確? (A)B代表動力系統 (B)C代表車身系統 (C)U代表網路連結 (D)P代表底盤系統。
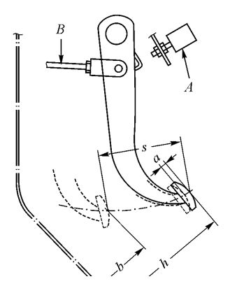
14. 如右圖所示,係表示車輛專業技師正從事後軸總成的何種檢查? (A)檢查盆形齒輪與角尺齒輪間之齒隙 (B)檢查差速器軸承之邊間隙 (C)檢查差速器盆形齒輪安裝凸緣之失圓 (D)檢查差速器盆形齒輪之偏擺度。
15. 右圖為煞車踏板之示意圖,請問圖中S代表下列那一項?(A)全行程 (B)煞車踏板高度 (C)踩下高度 (D)自由游隙。
16. 現代汽車多使用合乎環保的冷媒是: (A) R134a (B) R12 (C) R22 (D) NH4。
17. 某一電瓶以瓦特小時(WH)代表電瓶電容量,若電瓶標示12V55AH,請問此電瓶電容量為何? (A)330 AH (B)660 AH (C)330 WH (D)660 WH。
18. 引擎運轉中,如果充電指示燈一直亮著,其可能原因是: (A)充電系統正常 (B)電瓶充電不足 (C)發電機輸出或充電指示燈繼電器故障 (D)電壓調整器故障。
19. 若按下喇叭開關時喇叭不響,將喇叭繼電器S線頭搭鐵後,喇叭會響,則故障原因可能是: (A)喇叭白金損壞 (B)喇叭繼電器損壞 (C)喇叭開關搭鐵不良 (D)喇叭搭鐵不良。
20. 在電路中,有 10 A 的電流流過一個 2 Ω 的電阻,試求電阻消耗的電功率為多少? (A)20 W (B)200 W (C)40 W (D)400 W。
21. 一均勻導線將其長度加倍,直徑減半,則該導線的電阻值為原來的多少倍? (A)8 (B)1/8 (C)4 (D)1/4。
22. 利用電壓表或電流表量測電路時,其連接方式為何? (A)測量電壓、電流均要串聯 (B)測量電壓、電流都要並聯 (C)測量電壓要並聯,測量電流要串聯 (D)測量電壓要串聯,測量電流要並聯。
23. 電阻器並聯使用時可: (A)提高電阻值 (B)提高耐電壓值 (C)提高電流容量 (D)減少電流容量。
24. 繼電器之接點若標示N.O.時係表示? (A)繼電器未動作時與共接點相通 (B)繼電器動作時與 N.C.接點相通 (C)繼電器未動作時與N.C.接點相通 (D)繼電器動作時與共接點相通。
25. 調整示波器螢光幕所顯示波形之振幅的旋鈕為何? (A)TIME/DIV (B)VOLT/DIV (C)LEVEL (D)POSITION。