阿摩線上測驗
登入
首頁
>
圖學
> 105年 - 105 高等考試_三級_技藝(選試陶瓷)、技藝(選試木竹器)、技藝(選試染織):圖學#57773
105年 - 105 高等考試_三級_技藝(選試陶瓷)、技藝(選試木竹器)、技藝(選試染織):圖學#57773
科目:
圖學 |
年份:
105年 |
選擇題數:
0 |
申論題數:
4
試卷資訊
所屬科目:
圖學
選擇題 (0)
申論題 (4)
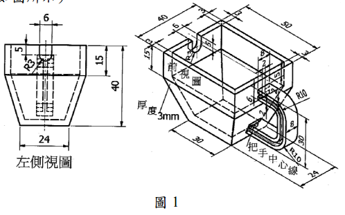
【已刪除】一、請依容器立體圖及左側視圖(圖 1)所示之尺度,以比例 1:1 繪製正投影視圖並標 註尺度;視圖包含前視圖、俯視圖、左側視圖(如圖所示)說明如下。(25 分)
1.前視圖以俯視圖水平中心線位置繪製全剖面,前視圖右側把手需繪製移轉剖視圖 (把手厚度皆為 2 mm),標註把手尺度時以中心線為依據。
2.俯視圖(省略虛線)。
3.左側視圖(如圖所示)。
【已刪除】二、請依下列(圖 2)上蓋等角圖所示之尺度,以比例 1:1 繪製正投影組合圖,圖 2 裝 配於圖 1 上面(相關的平面須貼合),前視圖需繪製虛線、俯視圖省略虛線、右側視 圖繪製半剖視。(組合後僅需標註三個最大尺度)(25 分)
【已刪除】三、請依下圖所示之尺度,以比例 1:1 繪製幾何圖形並標註尺度;A 為半徑 R20 內切於 上側寬 20 之圓弧與直徑φ 30 圓,B 為半徑 R85 外切於左右兩個直徑φ 30 圓。(不用 標註尺度)(25 分)
【已刪除】四、請依下列正投影視圖所示之尺度,以比例 1:1 繪製等角圖(非等角圖不予計分), 不必標註尺度,等角圖尺度誤差值超過正負 2 mm 處不計分,等角圖之視角必須能顯 示前視圖與右側視圖。(25 分)
相關試卷
114年 - 114 公務升官等考試_薦任_技藝:圖學#133192
114年 · #133192
114年 - 114 普通考試_技藝:圖學概要#128725
114年 · #128725
113年 - 113 普通考試_技藝:圖學概要#121137
113年 · #121137
112年 - 112 普通考試_技藝:圖學概要#115317
112年 · #115317
111年 - 111 普通考試_技藝:圖學概要#109301
111年 · #109301
110年 - 110 公務升官等考試_薦任_技藝:圖學#103451
110年 · #103451
110年 - 110 高等考試_三級_技藝(選試陶瓷):圖學#102384
110年 · #102384
109年 - 109 普通考試_技藝:圖學概要#88706
109年 · #88706
108年 - 108 專技高考_測量技師:製圖學#80636
108年 · #80636
108年 - 108 公務升官等考試_薦任_技藝:圖學#80332
108年 · #80332