阿摩線上測驗
登入
首頁
>
圖學
> 96年 - 96 高等考試_三級_技藝(選試木竹器)、技藝(選試染織):圖學#55867
96年 - 96 高等考試_三級_技藝(選試木竹器)、技藝(選試染織):圖學#55867
科目:
圖學 |
年份:
96年 |
選擇題數:
0 |
申論題數:
7
試卷資訊
所屬科目:
圖學
選擇題 (0)
申論題 (7)
一、製圖所使用的線條依其形狀不同分有三種,試繪出其式樣,並解釋說明之。(15 分)
⑴以一任意短線段 AB 為底(20 分)
⑵以一正 三角形為底
⑶以一正方形為底。
三、已知有一個「雙層階梯狀」的立體造型,其寬度為 60 公分,每層深度 30 公分高度 30 公分,兩層總高度為 60 公分,請按照此比例畫出一個成角透視圖的立體造型。 (20 分)
【已刪除】四、以下圖 A 與圖 B 二個圖示均已有立體圖及部分三視圖,請依第三角法補足其所缺之 視圖。(20 分)
圖 A
圖 B
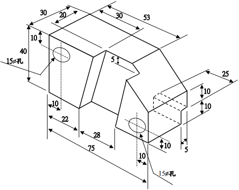
【已刪除】五、試依下列立體圖,繪出其三視圖,並標示尺寸。(25 分)
相關試卷
114年 - 114 公務升官等考試_薦任_技藝:圖學#133192
114年 · #133192
114年 - 114 普通考試_技藝:圖學概要#128725
114年 · #128725
113年 - 113 普通考試_技藝:圖學概要#121137
113年 · #121137
112年 - 112 普通考試_技藝:圖學概要#115317
112年 · #115317
111年 - 111 普通考試_技藝:圖學概要#109301
111年 · #109301
110年 - 110 公務升官等考試_薦任_技藝:圖學#103451
110年 · #103451
110年 - 110 高等考試_三級_技藝(選試陶瓷):圖學#102384
110年 · #102384
109年 - 109 普通考試_技藝:圖學概要#88706
109年 · #88706
108年 - 108 專技高考_測量技師:製圖學#80636
108年 · #80636
108年 - 108 公務升官等考試_薦任_技藝:圖學#80332
108年 · #80332