題組內容
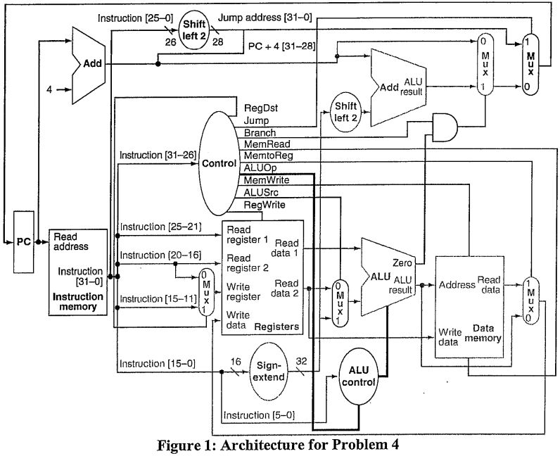
4. [20%] For the MIPS processor architecture shown in Figure 1, assume we want to add a new instruction below.
Instruction: LRA Rt, Rd (Rs)
Interpretation: Reg [Rt]=Mem[Reg[Rd]]+Reg[Rs]
(d) (5%) Give the values of all the required control signals when the LRA instruction is executed.