阿摩線上測驗
登入
首頁
>
自動控制學
>
97年 - 097年高等三級暨普通高3自動控制#48543
> 申論題
題組內容
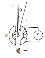
一、圖一所示之機電系統,其中 I = 4.0 kg·m
2
為桿對轉軸的慣性矩,扭力彈簧係數 K = 0.4, v 為輸入電壓,扭矩 T = K
m
v,K
m
= 4 Nm/V。由於系統的阻尼係數未知,因此輸入 步階(step)電壓測得輸出的最大超越量(overshoot)百分比為 20%。
⑵ 求系統阻尼比(damping ratio)。(10 分)
相關申論題
⑴ 求系統的固有(natural)頻率。(5 分) I
#168947
⑶ 若輸入為正弦波,則在何頻率下系統輸出對 T 輸入的振幅比最大?(10 分) v K 圖一
#168949
⑴ 利用根軌跡法(root locus)證明當 K 值太大時會造成系統不穩定。(10 分)
#168950
⑵ 設計一控制器使主極點(dominant poles)之固有頻率大於 3 rad/s 且阻尼比大於 0.707。繪出方塊圖和根軌跡圖。(15 分)
#168951
⑴ 使系統追蹤斜坡(ramp)參考輸入之穩態誤差為有限的 D(s)條件為何?(5 分)
#168952
⑵ 使用⑴ 的 D(s)時系統能夠排斥的干擾 w(t)波形有那些?(10 分)
#168953
⑶ 證明使用 PID 控制可以同時達到穩定閉路系統和斜坡參考輸入時之穩態誤差為有 限。(10 分) w r + + - + 1 y D(s) - - s2 K 圖三
#168954
⑴ 當 k = 1 和 k = 10 繪出 GH 之極座標圖。(10 分)
#168955
⑵ 何謂奈式穩定法則(Nyquist stability criterion)?(5 分)
#168956
⑶ 應用奈式穩定法則決定閉迴路系統穩定性。(10 分)
#168957
相關試卷
115年 - 115 關務特種考試_三等_機械工程(選試英文):自動控制#138983
115年 · #138983
114年 - 114 高等考試_二級_機械工程:自動控制學#131590
114年 · #131590
114年 - 114 關務特種考試_三等_機械工程(選試英文):自動控制#126653
114年 · #126653
113年 - 113-2 國營臺灣鐵路股份有限公司_從業人員甄試_第8階-助理工程師-電機:自動控制#137141
113年 · #137141
113年 - 113 高等考試_二級_機械工程:自動控制學#123065
113年 · #123065
113年 - 113 關務特種考試_三等_機械工程(選試英文):自動控制#119475
113年 · #119475
112年 - 112 地方政府特種考試_三等_機械工程:自動控制#118354
112年 · #118354
112年 - 112 高等考試_二級_機械工程:自動控制學#116760
112年 · #116760
112年 - 112 高等考試_三級_機械工程:自動控制#115741
112年 · #115741
112年 - 112 關務特種考試_三等_機械工程:自動控制#113920
112年 · #113920