阿摩線上測驗
登入
首頁
>
統測◆01機械群◆(一)機件原理、機械力學
> 100年 - 100 四技二專統測_機械群_專業科目(一):機件原理、機械力學#18115
100年 - 100 四技二專統測_機械群_專業科目(一):機件原理、機械力學#18115
科目:
統測◆01機械群◆(一)機件原理、機械力學 |
年份:
100年 |
選擇題數:
40 |
申論題數:
0
試卷資訊
所屬科目:
統測◆01機械群◆(一)機件原理、機械力學
選擇題 (40)
1. 平板凸輪傳動機構,滾子與凸輪板之運動對( kinematic pair )屬於下列那一種? (A) 迴轉對 (B) 低對 (C) 高對 (D) 滑動對 的
2. 關於差動螺旋其螺桿上的兩個螺旋,下列敘述何者正確? (A) 導程、螺旋方向均相同 (B) 導程相同、螺旋方向相反 (C) 導程不同、螺旋方向相同 (D) 導程不同、螺旋方向相反 的
3. 四種機構之機械效率分別為 N
A
、N
B
、N
C
與 N
D
,依序串聯使用時,其總機械效率之關係式, 下列何者正確?
4. 下列何種鎖閉裝置可確實鎖緊無鬆脫的可能性? (A) 翻上墊圈( upturn washer ) (B) 槽縫螺帽( slotted nut ) (C) 錐型底部螺帽( conical bottom nut ) (D) 彈簧鎖緊墊圈( spring locking washer ) 的
5. 一平鍵尺寸 18 mm×12 mm×100 mm,安裝於直徑 60 mm 軸上,若傳動 6000 N-cm 扭力矩, 該鍵所承受應力,下列何者正確? (A) 壓應力 124N/cm
2
(B) 壓應力 222N/cm
2
(C) 剪應力 66N/cm
2
(D) 剪應力 111N/cm
2
6. 如圖(一)所示,三個螺旋彈簧串接,且其兩端固定 ( 兩固定端長 20 cm ),彈簧常數均為 2 N/cm,一 15 N 的力 F 作用於 A 點,且三個彈簧位移與作用力均為線性關係 ,則 A 點 位移為多少 cm?
(A) 2.5 (B) 5 (C) 11.25 (D) 14
7. 下列關於離合器的敘述,何者不正確? (A) 流體離合器其結合與分離時所產生之衝擊較方爪離合器小 (B) 圓盤離合器是屬於摩擦離合器 (C) 方爪離合器作連接時,兩軸須停止迴轉 (D) 超越式離合器當主動軸正、逆轉時,均能傳遞扭矩 的
8. 一組皮帶輪傳動裝置,主動輪直徑 30 cm,從動輪直徑 20 cm,中心距 200 cm,分別使用 交叉皮帶與開口皮帶連結,若比較兩種連結方式的皮帶長度,下列敘述何者正確? (A) 交叉皮帶比開口皮帶長 3cm (B) 交叉皮帶比開口皮帶長 6cm (C) 開口皮帶比交叉皮帶長 3cm (D) 開口皮帶比交叉皮帶長 6cm 的
9. 鏈條經長時間使用後,因鏈節磨損而長度增加,易導致鏈條自鏈輪脫落,使用下列何種 鏈條可以改善此種情況? (A) 倒齒鏈 (B) 塊狀鏈 (C) 滾子鏈 (D) 鉤節鏈
10.兩圓柱形摩擦輪,兩軸相互平行且迴轉方向相同,軸心距 50 cm,若兩摩擦輪間無滑動, 且小摩擦輪的轉速為大摩擦輪的 3 倍,則小摩擦輪的直徑為多少 cm? (A) 15 (B) 25 (C) 50 (D) 75
11.兩嚙合之外接正齒輪,模數為 5,轉速比為 2:1,輪軸中心距為 225 mm,若小齒輪之輪齒 作用角為 18º,則該對齒輪的接觸率( contact ratio )為何? (A) 1.5 (B) 1.6 (C) 1.7 (D) 1.8
12.一壓力角 20º 之公制全深齒正齒輪,其齒冠等於模數,齒根等於 1.25 倍模數。若齒深為 9mm,外徑為 128mm,則其齒數應為多少? (A) 29 (B) 30 (C) 31 (D) 32
13.一複式齒輪系如圖(二)所示,A 輪為主動輪,其轉速為 100 rpm,則從動輪 B 的轉速為 多少 rpm?
(A) 100 (B) 200 (C) 400 (D) 800
14.一周轉輪系如圖(三)所示,齒輪 A、B 與 C 的齒數分別為 10 齒、20 齒與 10 齒,而 D 為 50 齒之內齒輪,齒輪 B 與 C 為一體且套於同一軸線,若齒輪 A 順時針旋轉,轉速為 300rpm,齒輪 D 逆時針旋轉,轉速為 52rpm,下列敘述何者正確?
(A) 輪系臂 m 順時針旋轉,轉速為 10rpm (B) 輪系臂 m 逆時針旋轉,轉速為 20rpm (C) 齒輪 B 順時針旋轉,轉速為 90rpm (D) 齒輪 B 逆時針旋轉,轉速為 120rpm
15.一塊狀制動機構如圖(四)所示,其中鼓輪順時針旋轉,施力槓桿作用力 F 向下,煞車塊 與鼓輪間的摩擦係數為 μ,若不計構件重量及軸承摩擦之影響,且要避免該制動機構發生 自鎖( self-locking )作用,下列關係式何者正確?
(A) b<μc (B) b>μc (C) c>μb (D) c<μb
16.一凸輪驅動機構,當從動件呈現等加、減速度運動時,下列敘述何者正確? (A) 從動件位移圖呈現傾斜直線 (B) 從動件位移圖呈現水平直線 (C) 從動件速度圖呈現傾斜直線 (D) 從動件速度圖呈現拋物曲線
17.若從動件運動屬於旋轉角控制型態,則下列哪一種凸輪設計較適合? (A) 圓柱型凸輪 (B) 圓錐型凸輪 (C) 三角凸輪 (D) 球型凸輪
18.一曲柄搖桿四連桿機構,若搖桿為主動件,則曲柄之全程運動路徑將發生幾個死點 ( dead point )? (A) 1 (B) 2 (C) 3 (D) 4
19.一中國式絞盤滑車( 以下簡稱絞車) 如圖(五)所示,其中收捲鼓輪直徑為 D
a
,送捲鼓輪直徑 為 D
b
,施力柄旋轉半徑為 R,起重物之重量為 W,若不計絞車機件重量及摩擦損失,則 該絞車之起重機械利益為何?
20.圖(六)所示之間歇運動機構,若主動輪轉速為 240rpm,則從動輪的運動週期為多少秒?
(A) 0.1 (B) 0.5 (C) 1 (D) 2
21.有關向量與純量之物理量敘述,下列何者正確? (A) 位移、速度、加速度都是向量 (B) 時間、距離、速率都是向量 (C) 力、力矩、力偶都是純量 (D) 重量、動量、衝量都是純量
22.如圖(七)所示為手提袋掛於牆上的掛鉤,手提袋重 W = 100 N,則此手提袋繩的張力是 多少 N?
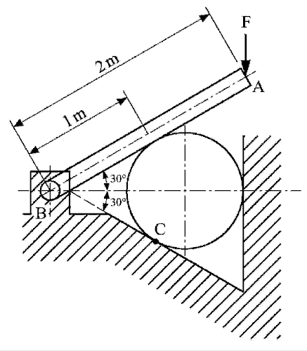
23.如圖(八)所示,AB 斜桿壓制一圓柱體,斜桿與圓柱體之重量可忽略不計,斜桿左端為 銷連結,右端受到一垂直向下外力 F = 1000 N,若各物體接觸面皆為無摩擦之光滑表面, 則圓柱體與地面接觸之 C 點反作用力是多少 N?
(A) 500 (B) 500 √3 (C) 1000 √3 (D) 2000
的 24.如圖(九)所示之斜線區域,其半徑 r
1
= 3 cm,r2=9 cm,若 G 點為該斜線區域之形心位置, 則 y 是多少 cm?
(A) 8 / π (B) 13 / π (C) 16 / π (D) 6
25.當物體置於平面,受水平推力 P 作用,令物體與平面之間摩擦力為 f,如圖(十)所示為水平 推力 P 與摩擦力 f 之關係示意圖,下列敘述何者正確?
(A) 在區間(I),物體是運動的 (B) f
b
是最大靜摩擦力 (C) f
a
是動摩擦力 (D) θ 角度一定是 45º
26.如圖(十一)所示,水平外力 F 作用於兩個緊鄰的物體 A 與 B,已知物體 A 質量 10 kg,物體 B 質量 20 kg,物體 A 及物體 B 與地面間之靜摩擦係數分別為 0.5 及 0.25,則可使得兩物體 即將開始產生滑動的最小外力 F 為多少 N (重力加速度 g=9.8m/sec
2
)?
(A) 10 (B) 30 (C) 49 (D) 98
27.某人沿著半徑為 R 的圓形跑道行走 2 圈後回到出發點,則此人位移之大小為多少? (A) 0 (B) πR (C) 2πR (D) 4πR
28.重力加速度為 g,在水平地面上一斜向上拋射物體之初速為 V,則其落地時最大水平射程 為多少? (A) 0.25V
2
/g (B) 0.5V
2
/g (C) 1V
2
/g (D) 2V
2
/g
29.在 C.G.S.制中,下列何者為力的絕對單位? (A) kg-m/sec (B) kg-m/sec
2
(C) g-cm/sec (D) g-cm/sec
2
30.重力加速度為 g,一軟繩兩端分別懸掛質量 100 kg 與 150 kg 之物體,繞於一個無摩擦、 無質量之定滑輪上,則 100kg 物體的加速度之大小為多少? (A) 0g (B) g/5 (C) 2g/5 (D) 3g/5
31.彈簧 A 和彈簧 B 的彈簧常數相同,若彈簧 A 之變形量為彈簧 B 之 2 倍,則彈簧 A 所儲存 的彈性位能是彈簧 B 的多少倍? (A) 1 (B) 2 (C) 4 (D) 8
32.長 1 m 的繩子一端綁著一個重量 1 kN 的鐵球,若球在水平面上以繩子的另一端為旋轉 中心,作等速率圓周運動旋轉一圈,則繩之拉力對球所作的功為多少 kN-m? (A) 0 (B) π (C) 2π (D) 3π
33.有一長度為 L 之銅合金圓棒,其直徑為 D、彈性係數為 E、蒲松氏比為 μ。若此圓棒承受 一軸向拉力 F 作用後,圓棒之直徑縮小多少?
34.如圖(十二)所示,一物體 W 之重量 2000 N,以 AB 吊索及 BC 鋼桿之結構支撐其重量, 若鋼桿之降伏應力為 500MPa,安全因數為 5,則 BC 桿之截面積至少應為多少 mm
2
?
(A) 2 (B) 6 (C) 10 (D) 25
35.如圖(十三)所示,有一長 700 mm之搖桿,以一方鍵傳達扭力於直徑 40 mm之軸上,若方鍵 之長度為 10 mm,方鍵之剪應力不得超過 70 MPa,當搖桿之末端施加一負荷 P = 100 N, 則方鍵之寬度尺寸 a 最小應為多少 mm?
(A) 3 (B) 4 (C) 5 (D) 6
36.兩塑膠管以膠接黏合如圖(十四)所示,兩管之管壁厚度 t=5mm,膠接黏合之長度為 100mm, 接合部位之直徑為 50 mm,接合後管件兩端受 100 N 之拉力作用,則膠黏處之平均剪應力 約為多少 N/m
2
?
(A) 3266 (B) 6366 (C) 7544 (D) 20000
37.如圖(十五)所示之面積為 1000 cm
2
,X 軸與 Y 軸均為形心軸,P 軸、Y 軸與 Q 軸之間相互 平行,若此面積對 P 軸之慣性矩為 52000cm
4
,則此面積對 Q 軸之慣性矩為多少 cm
4
?
(A) 36000 (B) 64000 (C) 88000 (D) 100000
38.如圖(十六)所示之懸臂樑,若不計樑本身重量,則此樑產生最大之彎曲力矩 ( 絕對值 ) 為 多少 N-m?
(A) 575 (B) 1250 (C) 1925 (D) 2125
39.如圖(十七)所示之簡支樑,長度 3 m,樑之斷面尺寸為 60 mm×100 mm,若樑本身重量不計, 則樑內之最大剪應力為多少 MPa?
(A) 0.1 (B) 0.2 (C) 1.0 (D) 10.0
40.一空心圓軸外直徑為 20 mm,內直徑為 10 mm,若材料承受 314 N-m 之扭矩作用,則此軸 內徑表面之剪應力為多少 MPa? (A) 65 (B) 88 (C) 107 (D) 132
申論題 (0)
相關試卷
115年 - 115 身心障礙學生升學大專校院甄試試題_四技二專組_機械群_專業科目(一):機件原理、機械力學#139524
115年 · #139524
115年 - 115 四技二專統測_機械群_專業科目(一):機件原理、機械力學#139317
115年 · #139317
114年 - 114 四技二專統測_機械群_專業科目(一) :機件原理、機械力學#137655
114年 · #137655
114年 - 114 身心障礙學生升學大專校院甄試試題_四技二專組(機械群):機件原理、機械力學#137234
114年 · #137234
113年 - 113 身心障礙學生升學大專校院甄試試題_四技二專組_機械群_專業科目(一):機件原理、機械力學#125683
113年 · #125683
113年 - 113 四技二專統測_機械群_專業科目(一) :機件原理、機械力學#122234
113年 · #122234
112年 - 112 身心障礙學生升學大專校院甄試試題_四技二專組_機械群_專業科目(一):機件原理、機械力學#118651
112年 · #118651
112年 - 112 四技二專統測_機械群_專業科目(一) :機件原理、機械力學#114340
112年 · #114340
111年 - 111 身心障礙學生升學大專校院甄試試題_四技二專組_機械群_專業科目(一):機件原理、機械力學#118914
111年 · #118914
111年 - 111 四技二專統測_機械群:專業科目(一)機件原理、機械力學#107808
111年 · #107808