阿摩線上測驗
登入
首頁
>
航空器液壓系統
> 102年 - 102 高等考試_三級_航空器維修:航空器液壓系統#44119
102年 - 102 高等考試_三級_航空器維修:航空器液壓系統#44119
科目:
航空器液壓系統 |
年份:
102年 |
選擇題數:
0 |
申論題數:
6
試卷資訊
所屬科目:
航空器液壓系統
選擇題 (0)
申論題 (6)
一、航空器液壓系統中常用之 4 口 3 位切換式電磁方向閥(switching solenoid directional valve) 以及電液伺服閥(electro-hydraulic servo valve),請繪製這二種元件之符號圖 (symbol),並比較其間的性能差異。(20 分)
二、常用航空液壓油有 10 號、12 號以及 15 號等之區分,請說明號數愈大所代表的物理 意義為何?並請進一步比較這 3 種航空液壓油性能的差異。(20 分)
三、請列舉 3 個液壓蓄壓器(accumulator)在航空器液壓迴路中可以提供的功能項目。(20 分)
⑴液壓缸向右推力值。(10 分)
⑵液壓缸向左拉力值。(10 分)
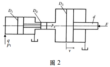
【已刪除】五、如圖 2 所示,已知增壓缸二活塞直徑為 D
1
及 D
2
,輸入壓力為 p
1
,輸入流量為 q; 單桿液壓缸活塞直徑為 D3,活塞桿直徑為 d。若相關參數值設定如下:D
1
=20 cm、 D
2
=10 cm、D
3
=30 cm、d=10 cm、p
1
=20 bar、q=20000 cm
3
/min,請計算單桿液壓缸 活塞移動速度 v 及輸出力量 F。(20 分)
相關試卷
111年 - 111 高等考試_三級_航空器維修:航空器液壓系統#109449
111年 · #109449
110年 - 110 高等考試_三級_航空器維修:航空器液壓系統#102418
110年 · #102418
109年 - 109 高等考試_三級_航空器維修:航空器液壓系統#88969
109年 · #88969
108年 - 108 高等考試_三級_航空器維修:航空器液壓系統#77850
108年 · #77850
106年 - 106 高等考試_三級_航空器維修:航空器液壓系統#63429
106年 · #63429
105年 - 105 高等考試_三級_航空器維修:航空器液壓系統#54414
105年 · #54414
104年 - 104 高等考試_三級_航空器維修:航空器液壓系統#42632
104年 · #42632
103年 - 103 高等考試_三級_航空器維修:航空器液壓系統#43125
103年 · #43125
100年 - 100 高等考試_三級_航空器維修:航空器液壓系統#45694
100年 · #45694
99年 - 99 高等考試_三級_航空器維修:航空器液壓系統#46692
99年 · #46692