所屬科目:機電整合概論
1. 在氣壓系統中,排氣節流控制速度方式,於負載變動時,速度的變動率比進氣節流方式高。(A)O(B)X
2. 固態繼電器(SSR)是一種無接點的交流控制開關,可應用於介面電路上,具有良好的訊號隔離功能。(A)O(B)X
3. 為能清楚了解較複雜機械元件內部構造、尺寸、形狀等,採用輔助視圖最佳。(A)O(B)X
4. 具NPN 電晶體輸出介面之感測開關可以直接驅動小型負載,不需外加電源。(A)O(B)X
5. 比流器是低導磁鐵心之一種變壓器,因此二次側不可開路。(A)O(B)X
6. 油壓緩衝器的抵抗力和油壓緩衝器的節流閥孔口斷面積成反比。(A)O(B)X
7. 電力用戶在用電時,功率因數60%比70%好。(A)O(B)X
8. 在低壓氣壓感測系統(含放大器)中,不可使用潤滑器的最主要原因為輸送管路會阻塞。(A)O(B)X
9. 滚珠導螺桿帶動滑台具有反覆定位之重置精度很高之特性。(A)O(B)X
10. 如圖電氣-氣壓迴路,按一下ST1放開後,再切下CS選擇鈕,則氣壓缸會變為連續往複動作。
(A)O(B)X
11. 保持型繼電器(Holding Relay)有2個控制線圈,〝SET〞線圈僅能使該繼電器作動後,即啟動;復歸時,只要將〝RST〞線圈送給電源即可復歸,惟需注意〝+〞、〝-〞極性問題,才能正確作動。(A)O(B)X
12. 各種位置感測器的控制線路可和供應該感測器及小型馬達電源線路配在一起,以方便配線,縮短施工時間,降低耗費成本。(A)O(B)X
13. 氣-油轉換缸大都用於低速驅動場合,到最後要獲得穩定出力之動作輸出。因此,油壓部分不可有空氣混入其中,以免出力變得不穩定。(A)O(B)X
14. 依據國際電工協會(IEC)所製定之國際公認保護等級( IP**)有兩碼數值來表示,後一碼數值係規定溫度的保護等級。(A)O(B)X
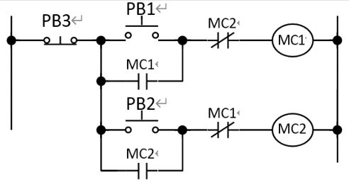
15. 直覺法設計AB兩氣壓缸均接雙邊氣導閥之氣壓迴路繪圖過程A+B+B-A-,其中A缸在步驟1及B缸在步驟3會遇到無法動作問題。可以單向輥輪作動閥把無法動作問題快速解決掉。但也會帶來必須把氣壓缸凸塊(dog)碰觸訊號長度縮短的問題。(A)O(B)X
16. 如圖繼電器電路,當PB3未押下且MC1與MC2 OFF時,若依序押下啟動按鈕PB1與PB2時,則MC1與MC2均動作。
17. 緩衝氣壓缸,其緩衝作用不可以在行程中任何位置產生。(A)O(B)X
18. 如圖虛線內之組合元件可縮短a 1 極限開關信號之長度。
19. 如圖為T 型桿端連接方式。
20. 氣壓缸之缺點是無法精確的中間停止定位。(A)O(B)X
21. 間接作動式電磁閥的最低作動壓力為0 b a r 。(A)O(B)X
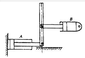
22. 過濾器可以完全過濾水蒸氣。(A)O(B)X
23. 如圖所示, 採用連桿和兩支氣壓或油壓缸構成的端點行程運動機構有六個位置。
24. 利用皮帶式輸送帶連續緊密送料,由快速帶轉至另一慢速帶時,會因速差關係使工件自動分離。(A)O(B)X
25. 二工件裝配時,宜先鑽定位銷孔,再加工固定螺絲孔。(A)O(B)X
1. 常用差動增量式旋轉編碼器(Rotary encoder )A 相與B 相差1/4 週期,主要目的是偵測馬達軸旋轉 (A)速度 (B)扭力 (C)脈波數 (D)方向。
2. 平滑司墊片之作用在: (A)增加摩擦損失 (B)增加壓迫面積 (C)減少摩擦損失 (D)增加機械強度。
3. 雙動氣壓缸之運動速度與下列何者無關? (A)氣壓缸之行程 (B)工作管路長度 (C)排放管路直徑 (D)活塞摩擦阻力。
4. 有一支ψ40×300ST 之氣壓缸以等速移動,用計時碼表測量從後端至前端時間為5 sec,其移動平均速度為 (A)4 mm/sec (B)30 mm/sec (C)8 mm/sec (D)60 mm/sec。
5. 感應電動機啟動時,若轉部加電阻,則可 (A)減小啟動電流,轉矩減小 (B)減小啟動電流,轉矩不變 (C)減小啟動電流,轉矩加大 (D)電流不變,增加轉矩。
6. 肘節機構的功能一般應用於下列何者 (A)分度 (B)調速器 (C)夾具 (D)旋轉機構。
7. 氣油壓直動形雙動電磁閥兩端線圈若同時通電激磁會造成 (A)流量增加 (B)壓力升高 (C)線圈燒毀 (D)加速氣缸移動。
8. 有一台龍門型螺桿機械手臂,使用AC 感應馬達(頻率f=60Hz, 6 極)及減速機驅動,驅動螺桿的導程為6 mm、負載扭矩1.2N-m,若螺桿滑台以等速行走距離120 mm 需花費10 秒,減速機傳動效率(η)為0.73,已知馬達之實際轉速為1080 rpm。 (A) AC馬達之轉差率4% (B)AC馬達之轉差率6% (C) AC馬達之轉差率8% (D)AC馬達之轉差率10%
9. 有一台龍門型螺桿機械手臂,使用AC 感應馬達(頻率f=60 Hz, 6 極)及減速機驅動,驅動螺桿的導程為6 mm、負載扭矩1.2N-m,若螺桿滑台以等速行走距離120 mm 需花費10 秒,減速機傳動效率(η)為0.73,已知馬達之實際轉速為1080 rpm。 (A)AC馬達之減速機之減速比為3.6 (B)AC馬達之減速機之減速比為6 (C)AC馬達之減速機之減速比為70.5 (D)AC馬達之減速機之減速比為9
10. 有一台龍門型螺桿機械手臂,使用AC 感應馬達(頻率f=60 Hz, 6 極)及減速機驅動,驅動螺桿的導程為6 mm、負載扭矩1.2N-m,若螺桿滑台以等速行走距離120 mm 需花費10 秒,減速機傳動效率(η)為0.73,已知馬達之實際轉速為1080 rpm。 (A)AC馬達之馬達之驅動馬力P約為10W (B)AC馬達之馬達之驅動馬力P約為20W (C)AC馬達之馬達之驅動馬力P約為30W (D)AC馬達之馬達之驅動馬力P約為40W
11. RS-232C 介面是屬於 (A)並列傳輸 (B)串列傳輸 (C)調變設備 (D)類比信號傳輸。
12. 流量調節閥全開之後仍舊無法達成要求的高速度,下列何者為非引起的主因 (A)氣壓缸太小 (B)負荷過大 (C)配管太細 (D)氣壓缸內部磨損。
13. 有個二線式附LED之磁簧開關的內部迴路如下,何者在感測到物件時,感測器會導通,同時LED燈亦會亮。 (A) (B) (C) (D)
14. 氣壓缸ψ50×20×300在6 的壓縮空氣供給下,若前進行程需花2sec,試問供給此氣壓缸的空氣流為多少?_______l/min(ANR)。 (A)60 (B)120 (C)206 (D)306
15. 如圖為氣壓缸(ψ50×20×300)之平衡迴路,若氣源壓力P1=6l。 、負載W=50kgf,則可以使負載物停止於任意位置,PR壓力為
_______
(A)1.29 (B)1.65 (C)2.92 (D)4.11 。
16. 一部單軸螺桿滑台用DC直流馬達驅動,使滑台做直線運動,若螺桿導程L=10㎜、行走距離S=200㎜、行走時間t=5sec,試求螺桿轉速(NS)?
_______rpm。 (A)20 (B)100 (C)120 (D)240
17. 有一單桿雙動氣壓缸在摩擦係數為0.3的水平面推動100 kgf的物體,移動的距離為300 mm,移動時間為1秒,1分鐘做20次循環,工作壓力為10 。若以20﹪與80﹪的移動時間做等加速度與等速度(如圖所示),則等速度為_______ cm/sec。
(A)22.2 (B)33.3 (C)78.4 (D)111.1
18. 如圖所示,有一雙凸輪機構,以夾爪為中心點來看,下列敘述何者錯誤?
(A)夾爪的運動路徑為 L 字型 (B)水平方向 y 是以凸輪 A 驅動 (C)垂直方向 z 是以凸輪 B 驅動 (D)彈簧 C 係使從動件確保接觸凸輪 A。
19. 有一步進馬達之導螺桿(導程4mm)式工作平台。馬達輸出軸與導螺桿有一減速齒輪10:1,若此步進馬達之步進角為0.9度,工作平台移動2mm,則馬達的控制命令為_______pulses。(A)1000 (B)1200 (C)2000 (D)4000
20. 如圖所示 有一步進馬達驅動一組定位工作平台 此步進馬達之全步進角度為(θ) 馬達輸出軸配有一減速比(i)之減速齒輪組,齒輪組之輸出軸接至導螺桿。若導螺桿每轉動 10 圈 滑台移動 50mm 下列敘逑何者正確?
(A)若 θ=0.36°、i=1:12.5 滑台定位之解析度 R=0.4 μm (B)若 θ=0.72°、i=1:10 滑台定位之解析度 R=2 μm (C)若 θ=0.9°、i=1:12.5 滑台定位之解析度 R=0.4μm (D)若 θ=1.8°、i=1:10 滑台定位之解析度 R=2 μm。
21. 一皮帶輪系統驅動之輪系,主動輪之輪徑為20㎝、從動輪之輪徑為8㎝,若主動輪轉速N1=1000 rpm、無滑動、轉矩T1=10 N-m、傳動效率η=95%,試求從動輪轉速N2= (A)380 (B)400 (C)2375 (D)2500 rpm
22. 如圖所示,為某高鐵車站一部乘客使用之油壓電梯的機械結構圖,其電梯箱重量W=500kgf、移動距離 S=12m、移動時間 t=10sec、承載乘客的重量 W2=1625kgf;若忽略機械摩擦因素,有關配重塊(平衡電梯箱用)之敘述,下列何者錯誤?
(A)重量 1000 kgf (B)移動速度為 0.6 m/ sec (C)移動距離為 24 m (D)移動方向與電梯箱的相反。
23. 有關油泵之容積效率,下列敘述何者正確? (A) 油溫愈高,容積效率愈高 (B) 系統壓力愈高,容積效率愈高 (C) 油泵使用時間愈長,容積效率愈高 (D) 相同油泵吐出量愈大,容積效率愈高。
24. 有一支氣壓缸上標示 FBψ50×20×350 之記號,下列敘述何者錯誤? (A) 後法蘭(flange) 方式安裝 (B) 氣壓缸缸徑為 50 ㎜ (C) 活塞桿桿徑為 20 ㎜ (D) 氣壓缸長度為 350 ㎜ 。
25. 三線式 PNP 型感測器用來驅動繼電器 R, 下列接線何者正確? (A) (B) (C)(D)