阿摩線上測驗 登入

111年 - 111 專技高考_專利師:專利審查基準與實務#110447

科目:專利師/TIPA專利認證◆專利審查基準與實務 | 年份:111年 | 選擇題數:20 | 申論題數:7

試卷資訊

所屬科目:專利師/TIPA專利認證◆專利審查基準與實務

選擇題 (20)

14 〔申請專利範圍〕 一種……裝置,包含 A 構造。(A) 如請求項 1 之……裝置,另包含 B 構造。(A+B) 如請求項 1 之……裝置,另包含 C 構造。(A+C) 如請求項 1 之……裝置,另包含 D 構造。(A+D) 審查意見通知載明引證文件 1 已揭露 A+B'之技術內容,故請求項 1 不具新穎性,請求項 2 不 具進步性,請求項 3、4 因本案各請求項所記載發明不具發明單一性而未進行檢索。 〔修正後申請專利範圍〕 一種……裝置,包含 A 構造與 C 構造。(A+C) 如請求項 1 之……裝置,另包含 E 構造。(A+C+E) 如請求項 1 之……裝置,另包含 F 構造。(A+C+F) 審查人員以揭露技術特徵 A+B'之引證文件 1 與揭露技術特徵 C 之引證文件 2 結合,可輕易 完成請求項 1 之裝置為由,以最後通知通知申請人修正後之請求項 1 不具進步性。修正後請 求項 2、3 因各請求項所記載發明不具發明單一性而未檢索。 請問下列何種情況得再發給最後通知? (A)申請人將請求項 1 修正為[一種……裝置,包括 A 構造、C 構造及 E 構造(A+C+E)], 並刪除請求項 2 及 3。經檢索發現以揭露技術特徵 A+B'之引證文件 1、揭露技術特徵 C 之 引證文件 2 與揭露技術特徵 E 之引證文件 3 之結合,可輕易完成請求項 1 之裝置 (B)申請人僅申復,未提修正本。但經審查另發現以揭露 A+C+E+F 之引證文件 3,得認定請 求項 1 至 3 不具新穎性 (C)申請人將請求項 1 修正為[一種……裝置,包括 A 構造及 D 構造(A+D)] ,並刪除請求項 2 及 3。申請人主張修正後請求項 1 之裝置包含 A 構造與 D 構造(A+D),係原請求項 1 (A)之減縮 (D)申請人將請求項 1 修正為[一種……裝置,包括 A 構造及 C1 構造(A+C1),並刪除請求 項 2 及 3]。申請人將請求項之技術特徵 C 修正為下位概念之技術特徵 C1,但經審查發現 引證文件 2 亦揭露對應 C1 之技術內容,而認定修正後請求項 1(A+C1)不具進步性

申論題 (7)

(五)甲案申請日為民國 108 年 5 月 2 日上午;乙案申請日為民國 108 年 5 月 2 日下午。情境(A)甲案、乙案申請人為同一人。情境(B)甲案、 乙案申請人為不同人。在無其他先前技術及不符專利要件之前提 下,分別以情境(A)、(B),試論甲案、乙案是否可准予專利?(8 分) 

                                               甲案(本國專利案) 
                                                           雨傘
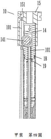
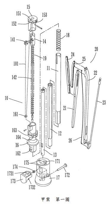
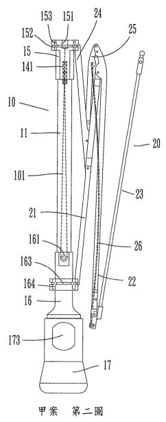
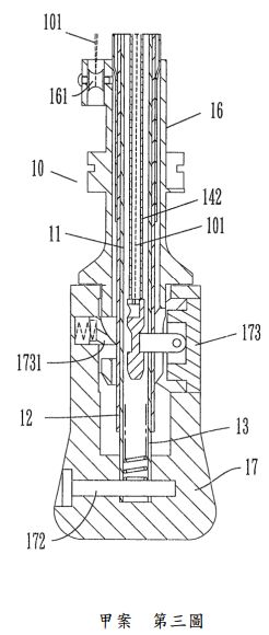
 第一圖所示,包括:一自動展收裝置 10 和伸縮傘骨裝置 20 組成;其 中,該自動展收裝置 10,包括:依序套接串聯的主桿 11、中桿 12 和下桿 13 組成的三段式伸縮中空桿體;前述主桿 11 底部末端與中桿 12 頂端係 形成有卡擋作用,使中桿 12 無法自主桿 11 底部退出;前述中桿 12 底部 與下桿 13 頂部間同樣設有卡擋作用,使下桿 13 頂部無法由中桿 12 底部 退出。主桿 11 在頂端內、外部分別固設有一承座 14 和一上巢 15,且在 主桿 11 外部套有可沿其軸向滑動的下巢 16;前述承座 14 側邊設有上滑 輪 141,底部延伸有一線管 142;前述下巢 16 於側邊設有下滑輪 161;一 握把 17,設有一開口向上的軸孔 171,供套接於下桿 13 底部,其以一插 針 172 或螺絲串連固定,該握把 17 側邊套設一開關鈕 173,該開關鈕 173 設有一擋部 1731,可容套在下巢 16 的限位孔 162;一中彈簧 18 套於主桿 11 內部,兩端介在承座 14 與中桿 12 頂部之間;一小彈簧 19 套於線管 142 外部,兩端分別抵靠在承座 14 與握把 17 間,該小彈簧 19 在自然狀 態下,其長度係長於三段式伸縮中空桿體完全位伸後的總長度;一繩索 101(以虛線表示之) ,套於線管 142 內部,一端固定在線管 142 底部,另 端依序繞過上滑輪 141 及下滑輪 161 後,迴繞將末端固於上巢 15 預定的 一凹孔 151 內部。開關鈕 173 之擋部 1731,圖式中特別將握把 17 和開關 鈕 173 予以旋轉 180°,於安裝時,必須再將前述兩零件旋轉歸位,才能使 開關鈕 173 之擋部 1731 可卡擋在下巢 16 的限位孔 162;此外,在握把 17 內部與開關鈕 173 之間係介置有一彈性件 174,且在握把 17 之軸孔 171 兩側係設有對稱卡槽 175,而開關鈕 173 兩側則設有對稱凸耳 1732 可分 別扣套於前述對稱卡槽 175 內部呈不能脫離狀態,據此,當按壓開關鈕 173 時係可藉由彈性件 174 令其具自動復位的功能。上巢 15 設有上環槽 152,沿上環槽 152 環繞分布有複數個上剖溝 153,可供伸縮傘骨裝置 20 容套樞接;該下巢 16 設有下環槽 163,在下環槽 163 周圍環繞分布有複 數個下剖溝 164,可供伸縮傘骨裝置 20 進行容套樞接。伸縮傘骨裝置 20, 包括:支撐骨 21、支骨 22 及折骨 23 連成三折式傘骨,該支撐骨 21 一端 係樞接固定於下巢 16 之下剖溝 164,其中段連結有一樑骨 24,該樑骨 24 另端則連結於上巢 15 之上剖溝 153;一連動骨 25,一端樞接於樑骨 24 預 定端,另端樞接於支骨 22 對應末端;一鋼線 26,一端樞接於連動骨 25 預 定端,另端樞接於折骨 23 對應末端。 -3 請參照第二至四圖,當雨傘自動折收後呈折收狀態時,該自動展收裝 置 10 之下桿 13 和中桿 12 係被收藏在主桿 11 內部;該小彈簧 19 係被壓 縮呈儲力狀態;該上巢 15 和下巢 16 因伸縮傘骨裝置 20 折收牽引的關係, 使上、下巢 15、16 的間距被拉開至最大的距離,相對的也使圈繞在上巢 15 內部之上滑輪 141 和下巢 16 之下滑輪 161 的繩索 101 被牽引呈拉緊狀 態;而開關鈕 173 之擋部 1731 係卡擋在下巢 16 的限位孔 162。 參照第一、五圖,當按壓開關鈕 173 使其擋部 1731 退出下巢 16 之限 位孔 162 的牽制後,該小彈簧 19 可隨之釋放儲力將主桿 11、中桿 12 和 下桿 13 推伸至最終長度,隨著主、中、下桿 11、12、13 的伸長可同步牽 動繩索 101 往握把 17 端延長,而位在另端的繩索 101 則可將下巢 16 往 上巢 15 端拉近至相互抵觸為止;此時,樞接在上、下巢 15、16 的伸縮傘 骨裝置 20,可隨著下巢 16 往上移動,令樞接在下巢 16 的支撐骨 21 往外 展開,同時經由連動骨 25 牽動支骨 22 向外延伸展,再由連動骨 25 牽動 鋼線 26 往支撐骨 21 端縮移,以牽動折骨 23 呈外展狀態;當繼續按壓開 關鈕 173 時,則可牽動自動展收裝置 10 和伸縮傘骨裝置 20 折收呈最小 體積狀態(如第二圖所示) 。 【符號說明】 10‧‧‧自動展收裝置;11‧‧‧主桿;12‧‧‧中桿;13‧‧‧下桿;14‧‧‧承座;141‧‧‧上滑 輪;142‧‧‧線管;15‧‧‧上巢;151‧‧‧凹孔;152‧‧‧上環槽;153‧‧‧上剖溝;16‧‧‧ 下巢;161‧‧‧下滑輪;162‧‧‧限位孔;163‧‧‧下環槽;164‧‧‧下剖溝;17‧‧‧握把; 171‧‧‧軸孔;172‧‧‧插針;173‧‧‧開關鈕;1731‧‧‧擋部;1732‧‧‧凸耳;174‧‧‧彈 性件;175‧‧‧卡槽;18‧‧‧中彈簧;19‧‧‧小彈簧;101‧‧‧繩索;20‧‧‧伸縮傘骨裝 置;21‧‧‧支撐骨;22‧‧‧支骨;23‧‧‧折骨;24‧‧‧樑骨;25‧‧‧連動骨;26‧‧‧鋼線。 【申請專利範圍】 一種雨傘,其包括:一自動展收裝置,設有套接串聯之主桿、中桿和下桿, 該主桿頂外部固設有一上巢;一下巢套於主桿外部;一伸縮傘骨裝置包括: 支撐骨、支骨及折骨樞接連成三折式傘骨,該支撐骨一端固定於下巢,中 段連結有一樑骨,而樑骨一端係連結於上巢;一連動骨,一端樞接於樑骨, 另端樞接於支骨;一鋼線,一端樞接於連動骨,另端樞接於折骨。 
 63032b151484e.jpg
63032b3e4da6c.jpg63032b5944ab2.jpg63032b72041eb.jpg63032b8d6550d.jpg
                                                          乙案(本國專利案) 
                                                                      雨傘 
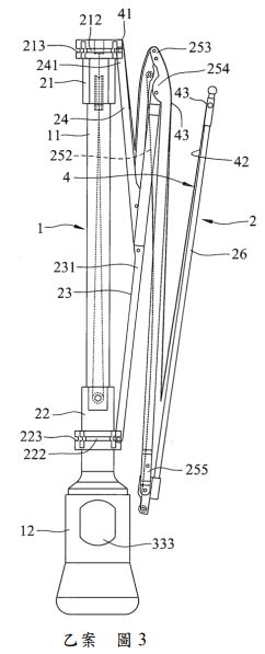
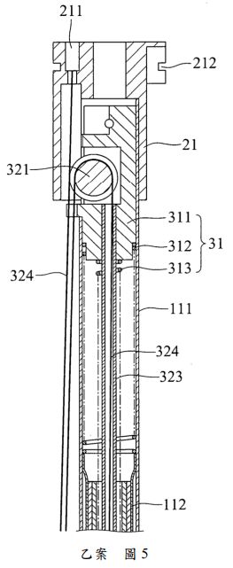
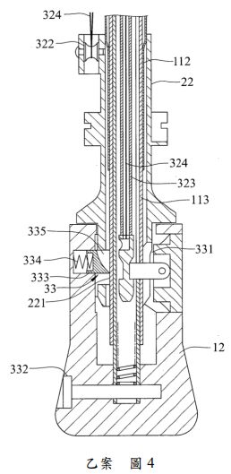
參閱圖 1、圖 2 及圖 3。手柄件 1 沿一軸線 L 延伸,並包括一個三段 式伸縮桿 11,及一套接在該伸縮桿 11 末端的握把桿 12,該伸縮桿 11 具 有一主桿段 111、一中桿段 112 及一下桿段 113,該下桿段 113 是穿設固 定在該握把桿 12,該中桿段 112 是穿套該下桿段 113 而伸縮,該主桿段 111 是穿套該中桿段 112 而伸縮,且該主桿段 111 的底端是與該中桿段 112 的頂端具卡檔作用而無法脫離,該中桿段 112 的底端是與該下桿段 113 的 頂端具卡檔作用而無法脫離。傘骨單元 2 安裝於該手柄件 1 上,並包括一 固定於該主桿段 111 的上安裝座 21、一可滑動設置於該主桿段 111 的下 安裝座 22、複數連結於該下安裝座 22 的主骨組件 23、複數連結於該等主骨組件 23 中段與該上安裝座 21 間的第一撐立骨組件 24、複數連結於該 等主骨組件 23 末段的第二撐立骨組件 25,及複數個連結該第二撐立骨組 件 25 末段的第三撐立骨組件 26,該下安裝座 22 於該手柄件 1 的主桿段 111 滑動時,可帶動該傘骨單元 2 形成一展開位置及一收合位置,如圖 2、 3,於展開位置時,該傘骨單元 2 以該手柄件 1 為中心朝外伸展,於收合 位置時,該傘骨單元 2 以該手柄件 1 為中心朝內靠入,且該主骨組件 23 與該第一撐立骨組件 24、第二撐立骨組件 25、第三撐立骨組件 26 會形成 二次朝該下安裝座 22 移動方向折入的狀態,且該第三撐立骨組件 26 的 末端是朝向該上安裝座 21 的方向。上安裝座 21 具有一位於頂部的槽孔 211、一設置於環周的環槽 212,及提供該第一撐立骨組件 24 樞接的複數 個剖溝 213。該下安裝座 22 設置有一限位孔 221、一設置於環周的環槽 222,及提供該主骨組件 23 樞接的複數個剖溝 223。
        主骨組件 23 是一桿件,其一端是樞接於該下安裝座 22 的剖溝 223。 第一撐立骨組件 24 包括一第一撐立桿 241,及一連動桿 242,該第一撐立 桿 241 的一端樞接的該上安裝座 21 的剖溝 213,另一端則樞接於該主骨 組件 23 的中段。該連動桿 242 一端是樞接於該第一撐立桿 241 的下端段 部,另一端是與該第二撐立骨組件 25 樞接。該第二撐立骨組件 25 包括一 第二撐立桿 251 及一連動鋼索 252,該第二撐立桿 251 具有一與該連動桿 242 樞接的前端樞接部 253、一與該主骨組件 23 樞接的中端樞接部 254, 及一提供該第三撐立骨組件 26 樞接的末端樞接部 255,其中,該中端樞 接部 254 是鄰近於該前端樞接部 253。該連動鋼索 252 的一端是繫結在該 連動桿 242 的中段,另一端則與該第三撐立骨組件 26 繫接。該第三撐立 骨組件 26 是一桿件,其末端是與該連動鋼索 252 繫結固定,鄰近於該末 端處則與該第二撐立桿 251 相樞接。 
       參閱圖 1、圖 4 及圖 5,驅動單元 3 包含有一設置於該手柄件 1 的儲 能組 31、一連結於該儲能組 31 與該傘骨單元 2 的連結件 32,及一用於定 位該儲能組 31 形成預推力的定位組 33,該儲能組 31 包括一設置於該主 桿段 111 上的承座 311、一套入在該主桿段 111 內且介於該承座 311 與該 中桿段 112 間的回力彈簧 312,及一套入於該伸縮桿 11 的主桿段 111、中 桿段 112 及下桿段 113 內的驅動彈簧 313。該連結件 32 包括一設置於該 承座 311 側邊的上滑輪組 321、一設置於下安裝座 22 的下滑輪組 322、一 設置於該伸縮桿 11 內的線管 323,及一繩索 324,該繩索 324 一起始端 325 固定於線管 323 上,並沿著該線管 323 而上依序穿繞過該上、下滑輪 組 321、322,然後迴繞到該上安裝座 21 的槽孔 211 固定。該定位組 33 具 有一設置於該握把桿 12 上的軸孔 331、一穿過該握把桿 12 並定位穿置於 該軸孔 331 內的下桿段 113 的插銷組 332、一側向插入該握把桿 12 的開 關鈕 333,及一介於該開關鈕 333 及該握把桿 12 間的彈性件 334,該開關 鈕 333 具有一檔止部 335 及二用於嵌卡在該握把桿 12 的卡栓 336。 
       遮蔽布 4 具有一密封固定於該手柄件 1 頂端部的中央部 41、一圍繞 於該中央部 41 外部的環周部 42 及至少包含複數個連結在該等第二撐立 骨組件 25 與第三撐立骨組件 26 的繫結部 43。該遮蔽布 4 為特殊奈米金 材質,具不沾水即乾效果。 
       參閱圖 2 及圖 3,當該傘骨單元 2 於折收狀態時,該伸縮桿 11 的下 桿段 113 及中桿段 112 會收入該主桿段 111 中,該回力彈簧 312 也會隨著 被壓縮而呈儲能狀態,該上安裝座 21、下安裝座 22 因相對拉移而被拉到 較大的相對距離,此時該繩索 324 會牽引而形成拉緊狀態。參閱圖 3 及圖 4,於收折狀態下,該開關鈕 333 的檔止部 335 會卡檔在該下安裝座 22 的 限位孔 221,當按下該開關鈕 333 後,該檔止部 335 會退出該限位孔 221, 該驅動彈簧 313 會隨之可彈回,使得該伸縮桿 11 形成三段延展狀態而推 伸最大長度,而在該伸縮桿 11 伸張的同時,該繩索 324 將會將下安裝座 22 拉近至上安裝座 21,同時令樞接在該傘骨單元 2 的該等主骨組件 23、 該等第一撐立骨組件 24、該等第二撐立骨組件 25 及該等第三撐立骨組件 26 撐張,該主骨組件 23 隨著朝外伸展頂推第一撐立骨組件 24 展開,並 且藉由該第一撐立骨組件 24 的連動桿 242 推拉第二撐立骨組件 25 展開, 以及透過該連動鋼索 252 拉掣該第三撐立骨組件 26 朝外延展,藉此,該 遮蔽布 4 就得以透過連結在該等第二撐立桿 251 與第三撐立骨組件 26 的 繫結部 43 被拉動而展開形成展開狀態。 
綜上所述,本案特殊結構使遮蔽布 4 具向內二次凹折的作用,致雨水 可收集於該遮蔽布 4 內部,可避免收傘時的水花到處流竄,且遮蔽布 4 為 特殊奈米金材質,具不沾水即乾效果。 
 【符號說明】
 1‧‧‧手柄件;L‧‧‧軸線;11‧‧‧伸縮桿;255‧‧‧末端樞接部;26‧‧‧第三撐立骨組 件;3‧‧‧驅動單元;111‧‧‧主桿段;112‧‧‧中桿段;113‧‧‧下桿段;12‧‧‧握把桿; 2‧‧‧傘骨單元;21‧‧‧上安裝座;211‧‧‧槽孔;212‧‧‧環槽;213‧‧‧剖溝;22‧‧‧下 安裝座;221‧‧‧限位孔;222‧‧‧環槽;223‧‧‧剖溝;23‧‧‧主骨組件;24‧‧‧第一撐 立骨組件;241‧‧‧第一撐立桿;242‧‧‧連動桿;25‧‧‧第二撐立骨組件;251‧‧‧ 第二撐立桿;252‧‧‧連動鋼索;253‧‧‧前端樞接部;254‧‧‧中端樞接部;31‧‧‧ 儲能組;311‧‧‧承座;312‧‧‧回力彈簧;313‧‧‧驅動彈簧;32‧‧‧連結件;321‧‧‧ 上滑輪組;322‧‧‧下滑輪組;323‧‧‧線管;324‧‧‧繩索;325‧‧‧起始端;33‧‧‧定 位組;331‧‧‧軸孔;332‧‧‧插銷組;333‧‧‧開關鈕;334‧‧‧彈性件;335‧‧‧檔止部; 336‧‧‧卡栓;4‧‧‧遮蔽布;41‧‧‧中央部;42‧‧‧環周部;43‧‧‧繫結部。 
【申請專利範圍】
 一種雨傘,包含:一手柄件,沿一軸線延伸,包括一個三段式伸縮桿,及 一套接在該伸縮桿末端的握把桿;一傘骨單元,安裝於該手柄件,包括一 固定於該手柄件的上安裝座、一可滑動設置於該手柄件的下安裝座、複數 連結於該下安裝座的主骨組件、複數連結於該等主骨組件中段與該上安裝 座間的第一撐立骨組件、複數連結於該等主骨組件末段的第二撐立骨組 件,及複數個連結該第二撐立骨組件末段的第三撐立骨組件,該下安裝座 於該手柄件滑動時,可帶動該傘骨單元形成一展開位置及一收合位置,於 展開位置時,該傘骨單元以該手柄件為中心朝外伸展,於收合位置時,該 傘骨單元以該手柄件為中心朝內靠入,且該主骨組件與該第一撐立骨組 件、第二撐立骨組件、第三撐立骨組件會形成二次朝該下安裝座移動方向 折入的狀態,且該第三撐立骨組件的末端是朝向該上安裝座的方向;一驅 動單元,包含有一設置於該手柄件的儲能組、一連結於該儲能組與該傘骨 單元的連結件,及一用於定位該儲能組形成預推力的定位組,於收合狀態 操作成展開狀態時,由該定位組釋放該儲能組形成的推力,使得傘骨單元 得以撐張形成展開狀態;及一遮蔽布,具有一密封固定於該手柄件頂端部 的中央部、一圍繞於該中央部外部的環周部及至少包含複數個連結在該等 第二撐立骨組件與第三撐立骨組件的繫結部;該遮蔽布具向內二次凹折的 作用,致雨水可收集於該遮蔽布內部,可避免收傘時的水花到處流竄,且 遮蔽布為特殊奈米金材質,具不沾水即乾效果。63032ca2907d6.jpg63032cb5ed5a8.jpg63032cde6b14c.jpg63032d3252042.jpg63032d6840561.jpg