所屬科目:流體力學與水文學
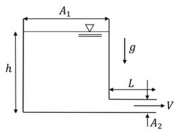
一、考慮如圖所示內盛不可壓縮液體二維容器,其截面積為 A1,並與具截面積 A2與管長 L 之圓管連接,且初始容器內液體高度為 h。圓管一開始被閥件關閉,若開啟此閥件致流動產生,請使用因次分析,找出於圓管出口截面之平均流速 V,其與 h、L、A1、A2、重力加速度 g 及時間 t 有關。(20 分)
二、考慮圖示之水體於漸縮管流動;1 點與 2 點間水靜壓力差可經倒置壓力計量測、其內液體比重量γ0 為水之比重量的 0.6 倍,水的密度為 1000kg/m3。若水於 2 點速度為 0.7 m/s,1 點與 2 點管直徑分別為 d1 = 40 公分與 d2 = 10 公分,請找出壓力計讀數 h。(20 分)
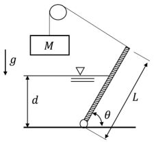
三、考慮如圖所示之垂直紙面寬度為 10 m 之矩形閘門,其經繩索與滑輪與具質量M = 1000 kg 之質量塊相連,閘門同時與密度為ρ= 1000 kg/m3 之水體接觸。若閘門長度L=10 m、水體高度 d =1 m,請找出維持閘門於圖示之靜平衡狀態所需平衡角θ。(20 分)
四、請詳述何謂絕對濕度(Absolute humidity)、相對濕度(Relative humidity)、比濕度(Specific humidity)及露點溫度(Dew point)。(20 分)
五、請詳述影響逕流(runoff)之可能因素。(20 分)