題組內容
題目三:【10分】
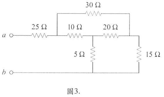
下圖3.由純電阻所組成的電路,


(一),由ab 瑞所量测到的等效電阻為多少Ω?【5分】
詳解 (共 1 筆)
詳解
30*5=10*15
電橋平衡
故20歐姆視同短路
菱形:10+5//30+15=11.25
25+11.25=36.25