題組內容
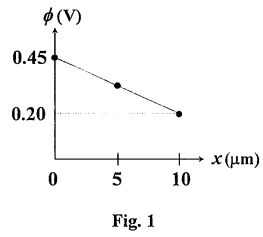
1. A doped semiconductor in thermal equilibrium in which the electrostatic potential (with respect to intrinsic silicon) has been measured and found to be as indicated in Fig. 1.
Assume that μn = 1000 cm²/V-s and μp = 550 cm²/V-s at 300 K.
(d) Calculate the electron diffusion current density at x = 5 μm.