阿摩線上測驗 登入

申論題資訊

試卷:103年 - 103 國立中山大學_碩士班招生考試_資工系(甲、乙組):計算機結構#105837
科目:中山◆資工◆計算機結構
年份:103年
排序:0

題組內容

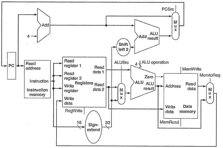
5.The latency of a block of digital logic is the time needed to do the work in the block. Assume that
logic blocks needed to implement a processor's datapath have the following latencies:
61e6147f64202.jpg
Consider the following datapath using the above logic blocks.
61e6149a76065.jpg

申論題內容

(e) What is the clock cycle time if we must support ALU, branch, load/store instructions? (Hint: You need to find the overall latencies of the blocks in the longest path required to execute an instruction.)