阿摩線上測驗
登入
首頁
>
電力系統
>
105年 - 105年身障特考三等電力系統#50179
> 申論題
題組內容
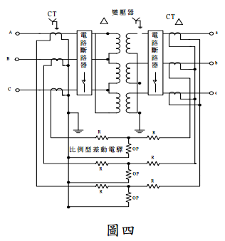
四、假設三相△-Y 連接,30 MVA,69kV/34.5kV 之電力變壓器,以比例型差動電驛保護, 如圖四所示,如果在△及 Y 測知比流器分別為 300/5A 及 1200/5A。試求:
⑶所允許 25%過載之最小電驛電流標置。 (8 分)
相關申論題
⑴各迴路之 GMR 及線路之 GMD。 (15 分)
#177711
⑵各電路電感量 Lx 、 L y 及總電感量 Lx + Ly 。 (10 分)
#178171
⑴請寫出匯流排 2 之實功率 P2 與虛功 率 Q2 之方程式。 (10 分)
#177712
⑵請以 Newton-Raphson 方法計算一次疊代後的 |V2| 及 δ 2 值, |V2| 之初始值為 1.0, δ 2 初始值為 0。 (15 分)
#178172
⑴全載時 兩個比流器之輸出電流。 9 分)
#177714
⑵全載時電驛電流。 (8 分)
#178174
(二)利用等面積準則,列出計算此情境下的臨界清除角δcr的公式。(12 分)
#570018
(一)求初始功率角δ0及故障清除後的最終穩定角δm。(13 分)
#570017
(二)計算 A 相故障電流的標么值大小。(12 分)
#570016
(一)寫出 A 相故障電流 Ia 的計算公式。(13 分)
#570015
相關試卷
115年 - 115 關務特種考試_三等_電機工程(選試英文):電力系統#138944
115年 · #138944
114年 - 114 地方政府公務特種考試_三等_電力工程:電力系統#134738
114年 · #134738
114年 - 114 專技高考_電機工程技師:電力系統#133708
114年 · #133708
114年 - 114 公務升官等考試_薦任_電力工程:電力系統#133165
114年 · #133165
114年 - 114 高等考試_二級_電力工程:電力系統#131586
114年 · #131586
114年 - 114 高等考試_三級_電力工程:電力系統#128774
114年 · #128774
114年 - 114 關務特種考試_三等_電機工程(選試英文):電力系統#126644
114年 · #126644
113年 - 113 臺灣菸酒股份有限公司_從業職員及從業評價職位人員甄試試題_電子電機:電力系統(含電路學)#133978
113年 · #133978
113年 - 113 地方政府公務特種考試_三等_電力工程:電力系統#124553
113年 · #124553
113年 - 113 專技高考_電機工程技師:電力系統#123952
113年 · #123952