阿摩線上測驗
登入
首頁
>
工程力學(含靜力學、動力學與材料力學)
> 100年 - 100 高等考試_三級_機械工程:工程力學(包括靜力學、動力學與材料力學)#27221
100年 - 100 高等考試_三級_機械工程:工程力學(包括靜力學、動力學與材料力學)#27221
科目:
工程力學(含靜力學、動力學與材料力學) |
年份:
100年 |
選擇題數:
0 |
申論題數:
7
試卷資訊
所屬科目:
工程力學(含靜力學、動力學與材料力學)
選擇題 (0)
申論題 (7)
⑴最大的高度 h 使得此長方塊滑動而不產生傾斜。(10 分)
⑵當 h = H/2 時,摩擦力與重力的合力通過方塊的底部位置為何?(10 分)
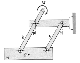
【已刪除】二、一機構如下,兩連結桿件原為垂直,當施予一力矩 M 時,一個質量為 m 的質量塊 被移動至平衡位置,若忽略連結桿件的質量與摩擦力,請計算此平衡位置之 θ 為何? (20 分)
⑴原木與傾斜面之間的動摩擦力係數μk。(10 分)
⑵假設輸出功率增加至 8 馬力時,原木的加速度為何?(1 馬力=550 ft-lb/s)(10 分)
【已刪除】四、一個元素之面內應力分別為σx = 16,000 psi,τ
xy
= τ
yx
= 4,000 psi,σ
y
= 6,000 psi,請計 算在角度θ = 45°面上的正向應力和剪切應力。(20 分)
【已刪除】五、一簡支樑與其斷面如下圖所示,樑長L = 3 ft,樑斷面寬b = 1 in,高h = 4 in之矩形,承 受一均佈外力q = 160 lb/in。假設圖中C點距離頂部 1 in,距離B點 8 in,請計算C點 之正向應力σc與剪切應力τ
c
,並繪出其元素圖來表示。(20 分)
相關試卷
114年 - 114 專技高考_機械工程技師:工程力學(包括靜力學、動力學與材料力學)#133710
114年 · #133710
114年 - 114 公務升官等考試_薦任_機械工程:工程力學(包括靜力學、動力學與材料力學)#133242
114年 · #133242
114年 - 114 專技高考_專利師(選試專業英文及工程力學)、專利師(選試專業日文及工程力學):工程力學#130105
114年 · #130105
114年 - 114 關務特種考試_三等_機械工程(選試英文):工程力學(包括靜力學、動力學與材料力學)#126623
114年 · #126623
113年 - 113 臺灣菸酒股份有限公司_從業評價職位人員試題_鍋爐:工程力學#132351
113年 · #132351
113年 - 113 專技高考_機械工程技師:工程力學(包括靜力學、動力學與材料力學)#123897
113年 · #123897
113年 - 113 專技高考_造船工程技師:工程力學(包括靜力學、動力學與材料力學)#123895
113年 · #123895
113年 - 113 專技高考_專利師(選試專業英文及工程力學)、專利師(選試專業日文及工程力學):工程力學#122211
113年 · #122211
113年 - 113 關務特種考試_三等_機械工程(選試英文):工程力學(包括靜力學、動力學與材料力學)#119496
113年 · #119496
113年 - 113 臺灣港務股份有限公司_新進從業人員甄試_師級_機械:工程力學(包括靜力電、動力學與材料力學)#118827
113年 · #118827