阿摩線上測驗
登入
首頁
>
技師◆結構設計
> 101年 - 101年司法人員、101年司法官考司法人員特考三等_檢察事務官營繕工程組#26364
101年 - 101年司法人員、101年司法官考司法人員特考三等_檢察事務官營繕工程組#26364
科目:
技師◆結構設計 |
年份:
101年 |
選擇題數:
0 |
申論題數:
4
試卷資訊
所屬科目:
技師◆結構設計
選擇題 (0)
申論題 (4)
【已刪除】
一、有一矩形斷面,梁寬 30 cm,梁深 50 cm,拉力側鋼筋為 8-D25 分兩排排列,壓力側鋼 筋為 4-D25,箍筋為D10。試以雙筋梁分析,求此梁所能提供之設計彎矩M
u
為何?( 25 分)
【已刪除】二、有一懸臂梁如圖所示,在左端需求鋼筋量為 4-D25,試問依詳細方法計算,其伸展 長度為何?(25 分)
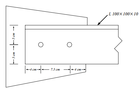
【已刪除】三、等邊角鋼L 100×100×10 與連接板接合(如圖所示),角鋼厚度 1.0 cm,已知角鋼形 心距接合面 2.82 cm,降伏應力F
y
=2,500 kgf/cm2 ,抗拉應力F
u
=4,100 kgf/cm
2
,螺栓孔 徑為 20 mm。此角鋼若承受靜載拉力 15 t
f
及活載拉力 9 t
f
,依LRFD(Load and Resistance Factor Design)規範要求檢核是否能符合規範要求?(25 分)
四、鋼柱H250×250×9×14,截面積A=92.18 cm
2
,慣性矩Ix=10,800 cm4 ,Iy=3,650 cm4 ,長 度 8 m,構材兩端的雙向皆為鉸接支承,彈性模數E=2.04×106 kgf/cm
2
,降伏應力 Fy=2,500 kgf/cm
2
。暫不考慮肢材局部挫曲,若此鋼柱無偏心承受靜載壓力 20
tf
及活 載壓力 40
tf
,依ASD(Allowable Stress Design)規範要求檢核軸力是否能符合規範 要求?(25 分)
相關試卷
114年 - 114 專技高考_土木工程技師:結構設計(包括鋼筋混凝土設計與鋼結構設計)#133709
114年 · #133709
114年 - 114 司法特種考試_三等_檢察事務官營繕工程組:結構設計(包括鋼筋混凝土設計與鋼結構設計)#129579
114年 · #129579
113年 - 113 專技高考_土木工程技師:結構設計(包括鋼筋混凝土設計與鋼結構設計)#123949
113年 · #123949
113年 - 113 司法特種考試_三等_檢察事務官營繕工程組:結構設計(包括鋼筋混凝土設計與鋼結構設計)#122119
113年 · #122119
112年 - 112 專技高考_土木工程技師:結構設計(包括鋼筋混凝土設計與鋼結構設計)#117675
112年 · #117675
112年 - 112 司法特種考試_三等_檢察事務官營繕工程組:結構設計(包括鋼筋混凝土設計與鋼結構設計)#116212
112年 · #116212
111年 - 111 專技高考_土木工程技師:結構設計(包括鋼筋混凝土設計與鋼結構設計)#111976
111年 · #111976
111年 - 111 司法特種考試_三等_檢察事務官營繕工程組:結構設計(包括鋼筋混凝土設計與鋼結構設計)#110324
111年 · #110324
110年 - 110 專技高考_土木工程技師:結構設計(包括鋼筋混凝土設計與鋼結構設計)#104169
110年 · #104169
110年 - 110 司法特種考試_三等_檢察事務官營繕工程組:結構設計(包括鋼筋混凝土設計與鋼結構設計)#103219
110年 · #103219