阿摩線上測驗
登入
首頁
>
工程力學(含靜力學、動力學與材料力學)
> 101年 - 101 專利商標審查特種考試_三等_機械工程:工程力學(包括靜力學、動力學與材料力學)#26353
101年 - 101 專利商標審查特種考試_三等_機械工程:工程力學(包括靜力學、動力學與材料力學)#26353
科目:
工程力學(含靜力學、動力學與材料力學) |
年份:
101年 |
選擇題數:
0 |
申論題數:
5
試卷資訊
所屬科目:
工程力學(含靜力學、動力學與材料力學)
選擇題 (0)
申論題 (5)
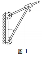
【已刪除】一、兩連桿與一滑塊所組成的系統如圖 1 所示,其中
。 不考慮摩擦效應。一個大小為 15 Nm 之扭矩沿逆時針方向施加於 B 點處。欲使此 系統處於平衡狀態時,施加於 A 點處之扭矩值應為何?(15 分)
【已刪除】二、一個圓柱重量為 30 N,半徑為 5 cm 如圖 2 所示。此圓柱分別與牆壁和地面接觸於 A 點與 B 點,其接觸摩擦係數分別為 = 3.0 μ
A
與 = 36.0 μ
B
。試問能夠施加的最大的 扭矩為多少時,此圓柱不會旋轉?(15 分)
【已刪除】三、一根懸臂樑尾端承受一外力P如圖 3 所示。此懸臂樑的長度為L,寬度為b,高度為c , 楊氏係數為E 。試問此懸臂樑所具有的應變能為多少?(5 分)尾端的向下位移為多少? (5 分)且此樑的最大應力發生於何處?(5 分)並且最大應力值為多少?(5 分)
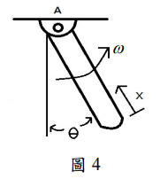
【已刪除】四、一根長度為 L、質量密度為w每單位長度的棍子在平面上以等轉速為
ω
做旋轉運動 如圖 4 所示。試決定棍子內所受剪切力、彎矩與軸向力的分布情形並以 x 和
θ
表示 之,此處x是以尾端為參考點的軸向距離,
θ
是棍子的位置。(20 分)
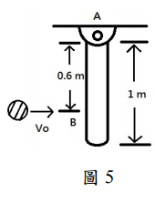
【已刪除】五、一根細長鐵桿質量為 6 kg 長度為 1 m,以插銷懸吊於 A 端。現有一球質量為 1 kg, 速度為 10 m/s 撞擊此鐵桿於 B 點處如圖 5 所示。假設球與鐵桿之碰撞回復係數 e 為 0.4。試問碰撞後球的速度為多少?(10 分)鐵桿的轉速為多少及鐵桿的動能為多 少?(20 分)
相關試卷
114年 - 114 專技高考_機械工程技師:工程力學(包括靜力學、動力學與材料力學)#133710
114年 · #133710
114年 - 114 公務升官等考試_薦任_機械工程:工程力學(包括靜力學、動力學與材料力學)#133242
114年 · #133242
114年 - 114 專技高考_專利師(選試專業英文及工程力學)、專利師(選試專業日文及工程力學):工程力學#130105
114年 · #130105
114年 - 114 關務特種考試_三等_機械工程(選試英文):工程力學(包括靜力學、動力學與材料力學)#126623
114年 · #126623
113年 - 113 臺灣菸酒股份有限公司_從業評價職位人員試題_鍋爐:工程力學#132351
113年 · #132351
113年 - 113 專技高考_機械工程技師:工程力學(包括靜力學、動力學與材料力學)#123897
113年 · #123897
113年 - 113 專技高考_造船工程技師:工程力學(包括靜力學、動力學與材料力學)#123895
113年 · #123895
113年 - 113 專技高考_專利師(選試專業英文及工程力學)、專利師(選試專業日文及工程力學):工程力學#122211
113年 · #122211
113年 - 113 關務特種考試_三等_機械工程(選試英文):工程力學(包括靜力學、動力學與材料力學)#119496
113年 · #119496
113年 - 113 臺灣港務股份有限公司_新進從業人員甄試_師級_機械:工程力學(包括靜力電、動力學與材料力學)#118827
113年 · #118827