所屬科目:一二三等大管輪◆電機電子與自動控制
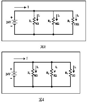
3. 在圖 3 中, 若將R 3 之阻值改為2歐姆,如圖4,則電阻R 3 消耗功率。 (A) 144W (B) 96W (C) 288W (D) 528W
4. 如圖12當E=120V、R 1 =2歐姆、R 2 =3 歐姆、R 3 =6 歐姆求。 (A)=2歐姆 (B)=3歐姆 (C)=6歐姆 (D)=4歐姆
5. 在圖27中,有一100V、1200rpm的短並聯式複激發電機,其 負載電流40A、電樞電阻0.1歐姆、分激場繞組電阻120歐 姆、串激場繞組電阻0.05歐姆,試求:感應電勢? (A)=106.09V (B)=102V (C)=40.85V (D) 以上皆非
7. 圖32中之I 2 電流值為幾安培? (A) -1A (B) -3A (C) 3A (D) 2A
8. 如圖40,求電流源的功率? (A) 95W (B) 100W (C) 105W (D) 110W
10. 下列對於電感性電路的敘述何者正確? (A) 相位關係為電流 領先電壓90度 (B) 電感的平均功率 為零 (C) 電感的實功率為 (D) 電感的虛功率為
12. 試求圖 5 之等效電阻R。 (A) R=10Ω (B) R=11Ω (C) R=12Ω (D) R=13Ω
28. 下圖之電路, V=40 伏特, R 1 =10 Ω , R 2 =30 Ω , 其戴維寧等效電壓為: (A) 10 伏特 (B) 15 伏特 (C) 30 伏特 (D) 40 伏特
29. 三相Y接法的電路,若相電壓之有效值為 ,則線電壓之有 效值為: (A) (B) (C) (D)