所屬科目:教甄◆物理科專業
1.如圖所示,容器 A 和 B 內充有溫度均為 T0、壓力為 P0 的理想氣體,VB=2VA,中間有細管 相連通,現維持 A 中氣體溫度不變,則對 B 中氣體加熱,使 AB 之壓力均增大為 2P0, 則此時 B 中氣體溫度為【 】T0。
2.有甲、乙二個半圓形脈波反方向前進,波速均為 10 cm/s,在 t=0 秒時之位置如圖所示,圖 中各點之間隔為 20 cm,求 t=5 秒至 t=6 秒的時間內,介質 E 點振動之平均速度 為【 】cm/s
4.如圖所示,將焦距為 20 cm 之凸透鏡從中間分割成兩塊後分離為 0.1 mm,透鏡前 30 cm 處 置一點光源(光波波長為 600 nm)。距透鏡 210 cm 之光屏上所成干涉條紋中第一暗紋距中垂 線距離為【 】cm。
7.如圖,水波槽內有 S1,S2兩同相點波源,相距 4λ (λ 為波長),沿 方向前進,第一次見 節線的位置與 S2的距離為【 】。
8.在密立坎油滴實驗中,已知油滴所受的空氣阻力與其運動速度成正比。假設一質量 m、電 量 q 的油滴不受靜電力作用時,其下落的終端速度為 vt;受到靜電力的作用時,上升的終 端速度為 vt。若重力加速度為 g,則當時電場之強度為【 】。
10.一物在斜角 θ 之光滑斜面上以和鉛直線成 2θ 之夾角、v0 之初速,斜向拋出一球,如圖所 示,若重力場強度 g 且斜面極長,球可落在斜面上,則自拋出至碰到斜面共經歷時間 為【 】。
12.如圖所示,在鉛直向上的均勻磁場 B 中,一質量為 m、電阻為 R 的金屬棒,自靜止開始沿 無電阻、傾斜角為 θ、間距為 L 的光滑 U 型軌道上滑下,若軌道足夠長,則金屬棒所能 獲得的最大速度為【 】。(重力加速度為 g)
13.四塊長為 L,質量相同的均質木塊,堆疊在桌緣,如圖所示,則在平衡狀況下,圖中 x 的 最大值為何【 】。
14.已知某液體的密度隨深度線性地增加,表面處的密度為 ρ,深度 D 處的密度增為 2ρ,有一密 度為 2ρ 的小球在深度D 處從靜止釋放。則小球在深度為D 處的速度大小為【 】。 (重力場強度為 g)
15.如圖,有一錐動擺,擺錘作等速率圓周運動。若擺錘質量 m,運動速率為 v,圓周運動週 期為 T,則在擺錘運動 1/2 圓周的過程中,擺線張力對擺錘施予的衝量大小 為【 】。※重力加速度為 g
16.如圖所示,質量分別為 m1=0.5 kg 和 m2=1.9 kg 的物體,固定於輕質彈簧的兩端,並置放 在光滑水平地面上,m1 緊靠在牆邊。現有一個質量 m=0.1 kg 的子彈以100 m∕s的速度射 入 m2,並停留在 m2 中(子彈和m2的作用時間極短),使彈簧振盪,進而使 m1及 m2 向右運 動,則當 m1 及 m2 均向右運動的過程中,彈簧具有的最大彈性位能為【 】J。
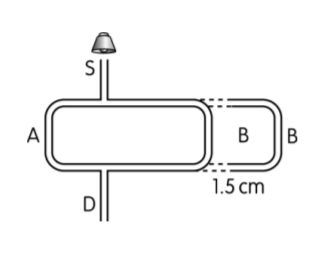
17.圖為一聲音干涉儀,SAD 為一固定的路徑,SBD 的長度可以變化,S 為聲源,干涉儀內 有空氣。已知調整 B 的長度在第一位置時,D 處有極小的聲音,增加 B 的長度距第一位 置 1.5 cm 時 D 處有極大的聲音,設聲速為 339 m∕s,則聲音之頻率為【 】Hz。
18.如圖所示,在水平向右的均強電場中,一不可伸長的絕緣細線一端連著一個質量為 m 的帶 正電小球,另一端固定於 O 點。若把小球拉起至細線與電場方向平行,然後自靜止狀態 釋放小球,已知小球擺到 O 點另一側之最高點時,細線與鉛直線的夾角為 ,則小球擺 至最低點時細線的張力大小為【 】。(重力加速度為 g)
19.如圖所示,一半徑為 R 的光滑絕緣圓環被固定,環內有一垂直圓環平面向下的均勻磁場 B 。在圓環 P 處有一小孔,使一經電位差 V 加速後的帶電粒子,對著圓環中心從 P 處小孔 射入圓環,粒子在環內與圓環發生兩次彈性碰撞後,仍從 P 處小孔射出環外,則此粒子 的荷質比為【 】。