所屬科目:一二三等大管輪◆電機電子與自動控制
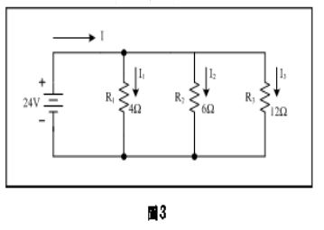
3. 圖 3 為一並聯電路,試求電流 I 1 , I 2 。 (A) I 1 =6A , I 2 =4A (B) I 1 =6A , I 2 =2A (C) I 1 =4A , I 2 =2A (D) I 1 =2A , I 2 =6A
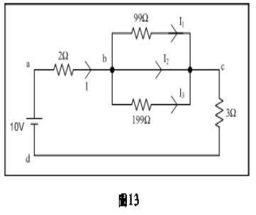
4. 如圖 13 試求總電阻。 (A)=5 歐姆 (B) =6 歐姆 (C)=7 歐姆 (D)=4 歐姆
5. 在下圖中, N=13.2 : 1 及 RL =15 歐姆。求 VL 。(A) 8V (B) 9V (C) 10V (D) 11V
6. 有一部 1500kVA 、 2300V 、四極、 60Hz 、 Y 接的三相同步發電機,其 每相同步電抗為 2.5 歐姆,功率因數為 1 ,試求:發電機之最大輸出功 率為若干 ? (A)=2400(kW) (B)=2594.05(kW ) (C) =2600.5(kW) (D)=2555.21(kW )
7. 如圖 29 ,試求 I 1 。 (A) 0.25A (B) 0.5A (C) 1A (D) 2.5A
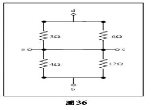
9. 如圖 36 試求。 (A) 0 歐姆 (B) 1 歐姆 (C) 2 歐姆 (D) 3 歐姆
10. 如圖 42 ,求 3 Ω 的功率。 (A) 137W (B) 147W (C) 157W (D) 127W
18. 圖 3 中,若有 IT=40mA 流入,且 RA=10KΩ , RB=30 KΩ ,則流過 RA 電阻的電流等於多少 ? (A) I 2 =30mA (B) I 2 =10mA (C) I 2 =12mA (D) I 2 =28mA(E)一律給分
27. 如下圖之電路,若 V=30 伏特, R 1 =10Ω , R 2 =R 3 =R 4 =30Ω ,且電路的兩端施與 30 伏特的電壓,則通過該電路的總電阻為: (A) 25Ω (B) 20Ω (C) 15Ω (D) 10Ω
28. 下圖之電路, V=60 伏特, R 1 =15Ω , R 2 =30Ω , R 3 =20Ω ,若此電路之 負載電阻為 30Ω ,依戴維寧等效電路計算,通過負載之電流為 (A) 0.4A (B) 0.5A (C) 0.6A (D) 1.5A
29. 三相 Δ 接法的電路,若相電壓之有效值為,則線電壓之有效值為: (A) (B) (C) (D)
30. 三個容量相同,線圈常數相同之變壓器接成 Δ-Δ 接線時,圈數比為 1000 : 100 ,一次側線電壓為 440 伏特,線電流 10A ,則對應的二次側 線電流為: (A) 10A (B) (C) (D) 100A
33. 若電容器之電容值為 C ,通過電壓 V 頻率 f 之交流電,其電容抗 XC 之 大小及電壓電流之相位關係為: (A)=2π fC ,電流落後電壓 90 度 (B)=2π fC ,電壓 落後電流 90 度 (C)=1/(2π fC ) , 電流落後電壓 90 度 (D) =1/(2π fC ) , 電壓落後電流 90 度