所屬科目:統測◆01機械群◆(一)機件原理、機械力學
9. 垂直鏈輪傳動機構如圖(一),A 為主動輪順時針旋轉,B 為從動輪,下列何者正確?
(A) 鏈條緊邊在 FD 邊 (B) 鏈條拉緊輪應放在 D 處 (C) 鏈條拉緊輪應放在 E 處 (D) 鏈條拉緊輪應放在 F 處
10. 一組內切摩擦輪傳動機構,輪中心距 60 cm,小輪直徑 40 cm,小輪順時針旋轉轉速 600 rpm,輪之滾動摩擦係數為 0.2,如欲傳送扭矩 ( ) N - m,下列何者正確?(A) 大輪逆時針旋轉,接觸之正向力 N (B) 大輪轉速 200 rpm,接觸之正向力 N (C) 大輪順時針旋轉,接觸之正向力N (D) 大輪轉速 150 rpm,接觸之正向力N
12. A、B 螺旋齒輪傳動機構如圖(二)所示,A 為主動輪,從左側看為順時針旋轉,須安裝 止推軸承抵消軸向推力,P、Q、R、W 為可能安裝位置,下列何者正確? (A) A 為右螺旋齒輪 (B) B 為右螺旋齒輪 (C) P、R 需安裝止推軸承 (D) Q、R 需安裝止推軸承
14. 皮帶制動器如圖(三)所示,皮帶對鼓輪之接觸角 θ = ( )π ,摩擦係數 μ,使= 2.5,若 3 制動鼓輪逆時針旋轉,其槓桿尺寸 a = 40 cm,b = 25 cm,L = 120 cm,若施力 F = 75 N, Fa 應為多少 N? (A) 150 (B) 200 (C) 300 (D) 400
16. 如圖(四)所示為牛頭鉋床急回機構,曲柄 ( BC ) 長度 15 cm,固定桿 ( AB ) 長度 30 cm,若 曲柄轉速 10 rpm ( 順時針旋轉 ) ,每次去回時間下列何者正確? (A) 去程 2 秒 (B) 回程 6 秒 (C) 去程 4 秒 (D) 回程 8 秒
19. 如圖(五)所示,a 圓筒直徑為 50 mm,b 圓筒直徑為 100 mm,且 a 圓筒由左方觀察為逆時針 旋轉,其轉速為 10 rpm,此輪系傳達到 b 圓筒表面之切線速度為多少 ( m / sec ) ? (A) (B) (C) (D) 2π
22. 一手拉車載有一貨物,如圖 (六) 所示,輪子摩擦力與手拉車車板重量可忽略,貨物重量 W 為 1000 N,且內部質量為均勻分布。若施予一力 F 拉動手拉車,施力大小為 200 N, 方向與水平線夾角為 30 度,則手拉車後輪 P 受到來自地面的正向力為多少 N? (A) 80 (B) 125 (C) 540 (D) 775
23. 一滑輪組如圖(七) 所示,以最小施力 F 將 W = 2600 N 之重物拉起,若不計繩與滑輪組重及任何摩擦力,則上滑輪組中滑輪連接桿 A 截面所受之拉力為多少 N? (A) 1300 (B) 1560 (C) 1950 (D) 2080
24. 一均質細鐵線彎折成直角三角形如圖(八)所示,若此鐵線之形心座標位置為 ( Xc , Yc ) , 則 Xc 為多少 cm? (A) 14 (B) 15 (C) 16 (D) 17
25. 如圖(九)所示,物體 A 重 60 N,物體 B 重 50 N,F = 30 N,物體 A 與物體 B 之間摩擦係數為 0.15,物體 B 與地面之摩擦係數為 0.2,若一水平力 P 將物體 B 由靜止推出,則 P 至少需多少 N? (A) 40.5 (B) 41.5 (C) 43.5 (D) 44.5
26. 一質點作直線運動,若其速度與時間關係如圖(十)所示,則此質點從 0 sec 至 40 sec 期間之位移向量的大小為多少 m? (A) 80 (B) 90 (C) 100 (D) 120
27. 一物體 A 以長 r = 50 cm 繩索繫於一支點,如圖(十一)所示,若將物體提至 d = 20 cm 位置 後靜止釋放,不計繩重,則此物體於擺盪期間繩索之最大張力為物體重量的多少倍? (A) 2.1 (B) 2.2 (C) 2.3 (D) 2.4
28. 一物體 A 置於一粗糙斜平面上如圖(十二)所示,施力 F = 15 N 造成物體 A 以加速度 ao = 6 m / sec 2 行進。如將施力 F 改換成吊掛一物體 B,依然使物體 A 以同樣加速度 ao 行進,則物體 B 之質量應為多少 kg?( 假設重力加速度為 10 m / sec2,不計繩重 ) (A) 1.50 (B) 2.55 (C) 3.75(D) 4.20
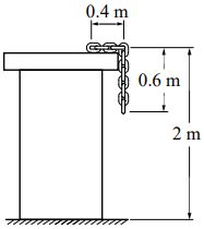
29. 一均質的細鏈條自桌沿垂落,如圖(十三)所示,並且於此位置開始從靜止自由落下,鏈條 長度為 1 m,單位長度質量為 1 kg / m,桌子高度為 2 m。若忽略摩擦力及鏈條寬度,當鏈 條底端落到地面的瞬間,則此時鏈條質心的運動速度為多少 m / sec?( 假設重力加速度為 10 m / sec2 ) (A) (B) (C) (D)
33. A 樑的截面為寬度 200 mm,高度 400 mm 的矩形,B 樑的截面為寬度 400 mm,高度 200 mm 的矩形,若該二樑的截面承受相同剪力 V,則 A 樑與 B 樑之截面最大剪應力值之 比值 () 為多少? (A) 1 / (B) 1 (C) (D) 2
34. 如圖(十四)所示之不規則斷面 A,若對 x 軸與 y 軸的慣性矩 I x 和 I y 分別為 80 mm 4 和 60 mm 4 ,則此斷面對 G 點的極慣性矩 J G 為多少 mm 4? (A) 20 (B) 70 (C) 140 (D) 4800
35. 一樑之截面面積 A = 18 cm2,如圖(十五)所示,C 點為面積形心,a、b 和 c 三平行軸之間 距皆為 1 cm,若該截面對 b 軸之面積慣性矩為 72 cm4,則對 a 軸之面積慣性矩應為多少 cm 4? (A) 90 (B) 106 (C) 114 (D) 126
36. 二長度相同之懸臂樑,若截面分別為 A 和 B 二種尺寸,如圖(十六) 所示,則此二懸臂樑 σA 的最大彎曲應力值之比值 ( ) 為何?(A) 0.25 (B) 0.5 (C) 1 (D) 2
37. 二袋砂土放置於一簡支樑上,砂土袋 A 和 B 的重量分別為 600N 和 400N,二袋內皆裝 滿質量均勻分布的砂土,且袋底緊貼於樑之上表面,簡支樑與其截面尺寸如圖(十七)所示。若此樑重量可忽略,則此樑的最大彎曲應力為多少 MPa? (A) 1.25 (B) 2.5 (C) 3.75 (D) 5
38. 一樑承受彎曲負載,其截面如圖(十八) 所示,若截面底部 B 點之壓應力為 210 MPa,則頂部 A 點之張應力為多少 MPa? (A) 280 1cm (B) 300 A (C) 320 (D) 350 3cm