所屬科目:流體力學
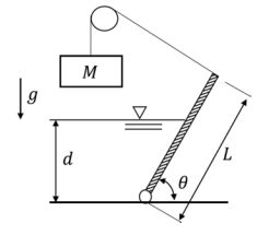
一、考慮如下圖所示之垂直紙面寬度為 10 公尺之矩形閘門,其經繩索與滑輪 與具質量 M = 1000 kg 之質量塊相連。閘門同時與密度為ρ= 1000 kg/m3 之水體接觸。若閘門長度 L = 10 公尺、平衡角θ = 60°,找出維持閘門於 圖示之靜平衡狀態所需之水體高度 d。 (20 分)
二、今有某大車被其內而出之噴射水流推動前進,如下圖所示,且大車位水平面。令大車於移動過程中所有阻抗可被忽略,且大車內部被加壓致噴 射水流之速度 V 與截面積 A 為常數、大車內水之初始質量為 M0、密度為ρ,找出大車由靜止起之速度與時間之關係式 U(t)。(20 分)
四、考慮如下圖所示之水體於漸縮管流動,1 點與 2 點間水的靜壓力差可經 倒置壓力計量測,其內液體比重量γ0 為水比重量之 0.8 倍,水之密度為 1000 kg/m3。若水於 2 點速度為 0.8 m/s,1 點與 2 點管直徑分別為 d1 = 30 公分與 d2 = 10 公分,找出壓力計讀數 h。