所屬科目:流體力學
(一)作用在底版面之剪應力;
(二)平行於兩平板且通過中線(中間面)的平面上之剪應力。 (20 分)
二、河流模型設計以模型相似性來進行,河流深度 3 m 對應模型深度 30 mm。在這些條件下,對應於 2 m/s 模型速度的原型速度是多少?(20 分)
三、如圖所示,水流經漏斗底部的孔隙,倘若流動近似於具有速度 V = c/r 之徑向形式(從 O 點呈輻射線狀),其中 r 為徑向座標,c 為常數。假設 r = 0.1 m 處,速度為 0.04 m/s,試求在點 A 與點 B 的加速度。(20 分)
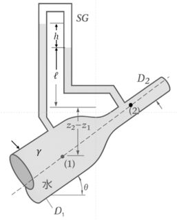
四、已知水流經一漸縮管,如圖所示。以液體倒置 U 型壓力計測量在點(1) 和(2)的靜壓差,壓力計內部充填比重為 SG < 1,試求液壓計的讀數 h。(20 分)
五、雨水經由鍍鋅鐵管以 0.006 m3/s 的速率噴出,如圖所示。若忽略排水導管在自由表面處的雨水下降速度,而且不計彎管的水頭損失。假設下游噴出口為圓形管,且管內充滿雨水,試求噴出口直徑。(20 分)