所屬科目:工程力學(含靜力學、動力學與材料力學)
(二)桿件內力大小為多少?
(三)桿件內力大小為多少?
(四)請問桿件與內力分別為壓力或拉力?
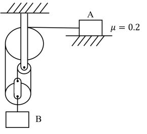
二、如圖所示,一滑塊 B 質量 30 kg 從靜止狀態釋放,試問質量 10 kg 的滑塊 A 會產生多少加速度?忽略滑輪以及繩索重量。
三、如圖所示,質量 15 kg、外徑 1 m 的空心薄壁圓桶被 BC 繩拉住靜止位於斜面上,試問當 BC 繩突然斷裂時,圓柱底部 A 點摩擦力大小為何?假設薄壁圓筒與斜面無滑動發生。
四、如圖所示,一圓盤質量為 m,半徑為 r,以純滾動的方式在地面運動,試問位於圓盤質心速度v最小為多少時?圓盤可以順利繞過半徑 R+r 的圓 弧,而不會脫離圓弧。