所屬科目:機械力學
(一)兩球間之恢復係數為何?(10 分)
(二)球 A 質量與球 B 質量之比值為何?(10 分)
(三)碰撞前後能量損失為何?(10 分)
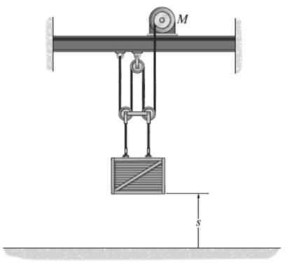
二、如圖所示,木箱質量 100 kg,初始狀態, s =0 時,木箱為靜止;若木箱被提升至s =3 m 時,馬達 M 對纜繩施加的拉力為 250 N,求此時木箱速度為何?(忽略繩索和滑輪的質量及其之間之摩擦) (15 分)
(一)繩的張力為何?(12 分)
(二) A 點之水平及垂直方向之反作用力為何?(18 分)
(一)此方塊的質量為何?(15 分)
(二)每根彈簧的勁度為何?(10 分)