所屬科目:機械力學
一、忽略繩索的質量,若兩艘拖拉船(A 和 B)將貨船 C 拖往正 x 軸的方向, FA 和 FB 的合力 FR 方向必須指向正 x 軸的方向,而且作用力 FB 必須為最小值。FA = 6 kN。繪出自由體圖,再求出 FR 和 FB 的大小以及角度 θ。 (25 分)
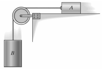
二、忽略摩擦及滑輪與繩索的質量,繪出物塊 B 的自由體圖,求出質量 4.5 kg 的物塊 B 下降時的加速度,以及繩索的張力。物塊 A 的質量為 2.5 kg, 重力加速度為 9.81 m/s2。(25 分)
三、忽略軸環和桿件之間的摩擦及彈簧的質量,質量 3.5 kg 的軸環在 A 處的速度為向下 5 m/s。若彈簧未變形的長度為 1 m,彈簧常數 k = 35 N/m, 求在 C 處(y = 2 m)時軸環的速度。重力加速度為 9.81 m/s2。(25 分)
四、如圖表示一個等截面的橫樑(prismatic beam)及其受力狀態,忽略樑的質量,A 處用銷接(pin)結構支持,B 為滾柱(roller)支持。請繪製所示樑和載重的剪力圖 ( shear diagram ) 和彎矩圖 ( bending moment diagram),並求剪力的最大絕對值和彎矩的最大絕對值。(25 分)