所屬科目:教甄◆物理科專業
1. 地球半徑為 R,地表重力加速度為 g,如圖所示任意挖一通道,所有阻力及地球自轉皆不計,則一石子 m 自洞口由靜止釋放,則最大速率為何?
2. 如圖所示,一半徑為 R的光滑半球形物體固定在水平面上,有一物體(視為質點)置於半球形物體頂端,自靜止開始順著球面自由下滑,當它脫離半球形物體表面時鉛直落下高度為多少?
3. 一質量為 4kg 的質點,初速度m/s , 作用,試求 4 秒內合力作功為多少焦耳?
4. 如圖所示,一電荷 q 以速率 v 垂直射入寬度為 d 的均勻磁場 B(磁場方向為穿入紙面) 中,射出磁場時偏向位移為 d/3。則此電荷在磁場中經歷時間為何?
5. 波耳的氫原子模型中,設氫的原子核帶+Ze 的電量(Z 為原子序),質量為 m 的電子帶 -e 的電量在半徑為 r 的軌道上,以原子核為圓心作等速率 v 的圓周運動,且普朗克常 數為 h、庫侖常數為 k,量子數為 n,則電子之能量 E 的量子化關係為何? (請以 Z、e、m、h、k、n、π 回答)
6. 有甲、乙兩種單原子理想氣體,其原子的質量分別為 m1、m2,方均根速率分別為 v1、 v2,原子數分別為 N1、N2;兩者混合於一體積為 V 的容器中,若混合過程中無能量散失或其他能量進入,且波茲曼常數為 k,平衡後試求乙原子的方均根速率為何?
7. 有一質量 4 kg,斜角為 37°的光滑斜面,其上放置質量 5 kg 的木塊,如圖所示,若木塊沿光滑斜面下滑,欲使斜面保持靜止,則斜面底面與地面間的靜摩擦係數至少應為 若干?(g=10 m/s2 )
8. 一金屬材料發生光電效應的最大波長為 λ0;將此材料製成一半徑為 R 的圓球,並以絕緣線懸掛於真空室內。若以波長為 λ 的單色光持續照射此金屬球,其中 λ<λ0,則此球可帶的電量最多為何?(設普朗克常數為 h、光速為 c、庫侖常數為 k、基本電荷為 e)
9. 如圖所示,半徑為 r 之半圓形線圈,可藉右側手搖柄處轉動,使線圈在磁場強度為 B 之均勻磁場中旋轉,檢流計 G 之內電阻為 R,若線圈每秒鐘轉 f 圈,試求右側手搖柄 處搖動線圈所需之最大機械功率為何?
10. 一圓盤邊緣繫著一條長度為 1.7 公尺的細繩,繩子的下端接著一個質量為 m 的小球, 當圓盤等速率轉動時小球將跟著一起轉動,如下圖所示。若希望小球的切線速率為? 4m ⁄ s,且此時的旋轉半徑為3m,若 g=10 m/s2 那麼圓轉盤的半徑應設計為幾公尺?
11.欲測量電路的電阻,可利用安培計及伏特計同時測量出電流與電壓,再按電阻定義算 出電壓與電流的比值即為電阻的測量值;若將內電阻為 的安培計、內電阻為 的伏特計及實際電阻值為 R 的電阻依下面圖示的接法,試問電阻的測量值為何?
12.如下圖所示,質量為 m、帶有正電荷的小球繫於長為 L 的細繩的一端,細繩的另一端固定在O點。假設空間中有水平向右的均勻電場,重力場大小為?方向向下,小球在圖示位置 P 點呈靜止狀態,此時細繩與鉛垂線夾角為53°。若要使小球自 P 點出發能繞 O 點旋轉一周,則小球在 P 點的初速最小為?
13.如下圖所示,兩同心的金屬薄球殼以 O 點為共同球心,其中,外球殼半徑為 4R,內球殼半徑為 R。若在內外球殼之間接上電動勢為ε的電池,正極接外球殼,負極接內球殼,且庫倫常數為 k,則內球殼累積的電荷量為?(請以ε,R, k表示)
14.如圖,一圓柱型均勻磁場,其圓心在圖中的 O 點,半徑為 r,今將一電荷質量 m,電量 +q 的質點以速率v0瞄準 O 點入射,質點於射出磁場瞬間有一偏向角 60°,試求: 磁場大小為?
15.波長 λ 的單色光,垂直射入折射率 n、厚度 d 的薄膜,且薄膜置於空氣中,若要反射光的亮度為最大值,則薄膜的厚度至少為?
16.一端開口,另端封閉的玻璃管,在開口端外有長 0.5 公尺,質量為 5 公克,兩端固定, 張力為 400 牛頓的弦。已知弦的第五諧音和玻璃管的第二泛音恰能產生共振,當時聲速為 340 公尺/秒,則玻璃管的長度為多少公分?
17.實驗以電子束照射食鹽晶體,已知在入射角α時,反射的電子束將形成第一級的建設性干涉。若實驗的晶格間距為 d,且電子的質量為,普朗克常數為 h,則每個電子的能量為?
18.如下圖所示,密度為?的液柱以速度v,入射平面且不反彈,若入射角為θ,則液面承受的壓力為?
19.電子質量為 m,被限制於一長度為 L 的線段內往復自由運動。穩定態時,電子在此線段內形成駐波,且線段兩端為節點。若普朗克常數為 h,則此電子由第三激發態回到第一激發態時放出的光子頻率為?
20.質量 m 的木塊由高度為 h 的斜面頂端靜止下滑,已知木塊與水平地面的夾角為θ,且木 塊滑到斜面底部的速率為√gh,g為重力加速度,則重力於下滑全程所提供的衝量量值為?
21.一光滑平面上,質量為 m 的 A 球以初速 4v,和原為靜止質量為 2m 的 B 球,作斜向彈性碰撞,B 球彈開的方向與 A 球入射的方向夾 60°,試求 A 球之末速大小為何?
22.如圖所示的裝置中,A、B 兩物質量各為 3kg、2kg,動滑輪質量為 1kg,若不計繩子質量及任何摩擦,欲使 A 物體以 2m/s2 之加速度向上運動,則拉力 F 應為多少 N?(已知重力加速度 g=10m/s2 )
23.如圖所示,一物體質量為 m,以動能 K 斜向入射於一光滑水平地面,設物體作非彈性碰撞,入射角為 θ,反射角為ψ,且ψ>θ,則碰撞過程物體所受合力的衝量為何?
24.一質量為 M 的滑塊置於光滑水平地面上,且此滑塊為半徑 R、光滑的圓弧。今將質量為 m 的物體從圓弧的最高點由靜止自由釋放,如下圖所示。於物體 m 從最高點下降到圓弧最低點的過程中,正向力對 m 的做功為何?
25.一電路連接如右圖所示,電池的內電阻以及導線的電阻均可忽略不計,試求 ab 間的電位差=多少伏特?
26.如圖所示,以繩將質量為M且密度為水的一半之正立方體係在水面底,該正方體的邊長為L,其頂面恰與水面共平面。假設水面的面積遠大於L2,重力加速度為g,且不考慮水的阻力,則斷繩後,正立方體上下震盪的頻率為?
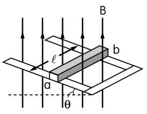
27.如圖所示,銅條 ab 質量為 m,電阻為 R,長度為 λ ,放置在傾斜角度為 θ 的兩平行軌條上。軌條相距為 λ ,光滑無摩擦力且不計電阻,整個裝置放在有一鉛直向上之均勻磁場 B 中。假設銅條 ab 未滑下至底部前可達最大速度,則此最大速度為何? (已知:重力加速度為 g)
28.如下圖所示,質量 m 的小球從彈力常數為 k 且質量不計的輕彈簧正上方高度 h 處自由落下,並在落下後與彈簧結合,開始做簡諧運動,若重力加速度以g表示,則此簡諧運動的振幅為何?
29.如圖所示,一對長 之帶電平行金屬板,兩板間之均勻電場強度為 E,在平行金屬板右側距離為 D 處有一螢幕,今將一質量 m、電量 q 之點電荷以速度 v0 垂直電場方向,由平行金屬板左側射入,若僅考慮靜電力,不考慮重力,且平行金屬板間的距離夠大, 以致點電荷不會撞擊到金屬板,試求點電荷在螢幕上之偏向位移為?
30.如圖所示,地表有一人站在一滑車的磅秤上,且滑車在一斜角為 30°之光滑斜面上滑下來。設此人的質量為 60kg,則滑車上的磅秤讀數為多少 kgw?