所屬科目:台電◆機械原理
17. 下圖【圖一】之單塊制動器,若轉軸的扭矩T = 1500 Kg-cm,輪鼓直徑為30cm,摩擦係數為 μ = 0.25,若輪鼓作順時針旋轉,則制動作用力F為______kg。
18. 右圖【圖二】之機構,一剛性三角塊,其中一角繞固定軸旋轉,另兩角以連桿各連接一滑塊,此機構自由度為______。
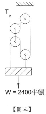
19. 右圖【圖三】的滑輪組,若荷重W為2400牛頓,則T需要______牛頓才能拉起荷重。
20. 下圖【圖四】中A齒輪為30齒,B齒輪為10齒,旋臂 M順時針旋轉了3轉,A齒輪逆時針旋轉了2轉,則B齒輪順時針旋轉了______轉。
1. 請就【圖五】之立體圖以第三角投影法徒手繪一組三視圖。(可不按題目尺寸,但請注意三視圖相關位置)。(5分)
2. 【圖六】為以第三角投影法繪製之一組三視圖,為二相同直徑圓柱垂直相交,請徒手抄繪下來(可不按題目尺寸,但請注意三視圖相關位置),並補視圖中的交線。(5分)