所屬科目:台電◆機械原理
1.依據機械設備器具安全標準,對於桌上用研磨機或床式研磨機的檢查、安裝與修整,工作物 支架與砂輪磨削面之調整距離不得大於_____mm。(計算至整數位,以下四捨五入)
2.有一正圓面積為 12.56 mm2 ,則此圓迴轉半徑為_____mm。(計算至整數位,以下四捨五入)
3.鋼鐵材料編號 SAE1325 代表含碳量等於 0.25 %的_____鋼。(答案請以中文回答)
4.有一外徑為 50 mm、導程為 157 mm 之螺栓,其螺旋角角度為_____度。(計算至整數位,以下 四捨五入)
5.一均勻材質圓桿,未受力時之原長度為3.5 M,其橫截面積為400 mm2 ,材料彈性係數為350 GPa ,受到軸向壓力 40 kN 後且無其他應力,則桿件受力變形後之實際長度為_____mm。(計算至 整數位,以下四捨五入)
6.如【圖 1】所示,以纜繩 TAB及 TBC共懸物體 W,已知該纜繩所受到之張力為 TAB = 200 N, TBC = 130 N,則物體 W 的重量為_____N。
7. 如【圖 2】所示之滑輪組,在不計任何損失下施予一力 P 提升重物 W,則此滑輪組之機械利 益為_____。
8.如【圖 3】所示之彈簧組,各彈簧常數分別為 K1 = 3 N/mm、K2 = 6 N/mm、K3 = 4 N/mm、 K4 = 4 N/mm,則其等效彈簧常數為_____N/mm。
9.有一平面與圓錐相交,該平面與錐軸所交的角等於素線與錐軸之交角,則所割得者為_____。 (擺線∕雙曲線∕拋物線∕漸開線)
10.有一物體由靜止作等加速直線運動,已知其速度變化為4ݐ 2 ݉/ݏ݁ܿ,其中 t 代表時間 ,單位為秒,則此物品開始移動後之第 1 秒至第 2 秒間,其移動距離為_____m。
11.有一螺栓之螺紋標註為ܮ െ 2ܰ െ ܯ16 ൈ 1.5 ൈ 25 െ 5݃ 6݃,其中「1.5」代表螺紋之_____。
12.某鑽床上有一粗鉸ψ10 mm H7 孔,該鉸孔前之鑽孔直徑為ψ_____mm。
13.錐形離合器最理想的半錐角角度為_____度。
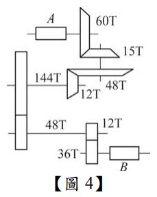
14.如【圖4】所示之定軸輪系,A為主動件,若其轉速為75 rpm,則從動件B之轉速為_____rpm。
15.如【圖 5】所示之連桿組,以連桿數及對偶數判斷,屬於_____運動鏈。
16.有一利用往復滑塊曲柄機構推動活塞進行作動之柴油引擎,已知曲柄長度 20 cm,連桿長度 50 cm,則滑塊之最大衝程為_____cm。
17.有一凸輪為使從動件自最低位置上升至最高位置,期間該凸輪所旋轉之角度,稱為_____角。
18.有一偏心距為 15 cm 之對稱偏心板狀凸輪,其凸輪以每秒完成一次升降逆時針迴轉,則從動 件之平均速度為_____cm/sec。
19.有一組速比為 5:3 的鏈輪機構,大鏈輪的齒數為 70 齒且兩鏈輪之中心距離為 150 公分,鏈 節長度為 2 公分,小鏈輪之節徑為_____cm。(以 π 表示)
20.有一萬向接頭可允許動力軸之間有角度與高度差,若主動軸作等角速度旋轉,則從動軸作 _____旋轉。(等加速度∕變加速度∕等角速度∕變角速度)
(1)首先,有一工件須進行斜度車削,該工件大徑 60 mm,小徑 30 mm,斜度長 300 mm,因現 場可用量具皆送校正,師父決定利用複式刀台進行斜度車削,試求刀座之應轉角度為多少 度?(計算至小數點第 3 位,以下四捨五入)
(2)接著另一工件,師父請你利用 200 公厘的正弦桿與塊規佈置30°05′的角度,試求精測塊規 之高度為多少公厘?(ܵ݅݊Sin30°= 0.5,ܵ݅݊Sin30°10′= 0.5025,單位:mm,並計算至小數點第 2 位,以下四捨五入)
(3)最後進行某工件車削螺紋,已知車床導螺桿為每吋 4 牙,該工件須切削每吋 11 牙螺紋,現 僅有 20、24、30、44、56、80、86及 100齒之齒輪各 1 個,則你如何調整複列齒輪之搭配? (請表示)
(1)截面積 0.2 ݅݊in2之桿受力為多少?
(2)截面積 0.3 ݅݊in2之桿受力為多少?
(1)梁內之最大剪應力為多少?
(2)距於 A 支點右側 3 M 處之斷面,離梁頂面下方 10 cm 處之剪應力為多少?
(1)若主動軸以順時針 360 rpm 方式轉動時,從動軸的轉速及其方向各為何?
(2)承上題,齒輪B的轉速及其方向各為何?