所屬科目:台電◆機械原理
2.一滑車組如【圖 1】所示,若考慮摩擦損失,該滑車組之機械效率為 40% ,若欲拉起物重 W為 500 N 時,則至少需施力 F 為______N。
4.一平鍵之規格為鍵寬 b✖ 鍵高 h✖鍵長 L,裝於一直徑 d 之軸上,假設軸承受 T 之扭矩作用,試問該平鍵承受之壓應力 σ 與剪應力 τ 之關係式為 σ =______τ。(請以鍵寬 b 及鍵高 h 表示)
5.如【圖 2】所示之桁架,在此桁架結構中有______根桿件是不會產生內應力之零力桿件。(請以數量表示)
8. CNS 在幾何公差符號中,如【圖 3】所示,其代表______度之形狀公差。
12.如下【圖 4】所示之立體圖,請由標示之前視方向徒手繪製前視圖______。
13.如下【圖 5】所示之塊狀制動機構,其中已知輪鼓直徑 D = 20 cm,摩擦係數為 0.5,制動力 F 為 32 N,桿長 a = 40 cm,如欲產生 360 N-cm 之制動扭矩,則 b 桿長度需為______cm。
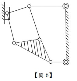
14.如下【圖 6】所示之運動鏈,以連桿數及對偶數研判,應屬於______運動鏈。
15.如下【圖 7】所示之差動螺紋組合,其導程分別為 L1=10 mm(右螺旋)及 L2=3 mm(右螺旋),今 欲將滑板上升或下降 21 mm,則手輪須旋轉______圈。
16.設一公制螺栓標示為「L – 2N M30✕5✕50 – 2」,則此螺栓旋轉一周,其導程為______mm。
17.如【圖 8】所示,齒輪 A 為 30 齒,齒輪 B 為 60 齒,齒輪 C 為 40 齒,齒輪 D 為 70 齒,其齒 輪 A 為主動輪轉速 140 rpm,則齒輪 D 從動輪轉速為______rpm。
18.如【圖 9】所示,一物塊重 400 N,受一拉力 F,若物塊和地面間之摩擦係數 μ = 0.8 ,則兩者間承受之摩擦力為多少______N。
20.如【圖 10】所示之皮帶輪,原動輪直徑為 40 m,若皮帶兩側張力分別為 90 N 和 40 N,則對 此軸所產生之扭矩為______N-m。