阿摩線上測驗
登入
首頁
>
工程力學(含靜力學、動力學與材料力學)
> 97年 - 97 專技高考_機械工程技師:工程力學(包括靜力學、動力學與材料力學)#36323
97年 - 97 專技高考_機械工程技師:工程力學(包括靜力學、動力學與材料力學)#36323
科目:
工程力學(含靜力學、動力學與材料力學) |
年份:
97年 |
選擇題數:
0 |
申論題數:
8
試卷資訊
所屬科目:
工程力學(含靜力學、動力學與材料力學)
選擇題 (0)
申論題 (8)
⑴陰影面積對 x 與 y 軸的一次矩 (first moment)各為何?
⑵陰影面積形心所在的位置為何?(20 分)
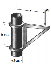
【已刪除】二、如下圖,顯示一可移動之拖架(bracket)受到一 W 之荷重,因摩擦力的作用,拖架 得以停留於一外徑為 3 cm 豎直圓管之任意高度。假設拖架與管件間之摩擦係數為 0.25,且拖架本身的重量可以忽略,請問 x 的距離至少應為何才能確保拖架不會因 荷重 W 而下滑?(20 分)
三、資料顯示,台灣高速鐵路列車之營運最高速度為 300 km/h、起動加速度為 2.0 km/h/s、 正常減速度為 2.7 km/h/s,而板橋與桃園兩站間的距離為 29.165 km。假設前述加、 減速度亦為營運加、減速度之極限值,請問該列車由板橋行駛至桃園所需花費的最 短時間為幾分鐘?(20 分)
⑴請問設計該梁斷面所需之斷(剖)面模數(section modulus) 為何?
⑵如果從附表所示的幾種 W 型鋼中,選擇一符合以上所需之斷(剖)面模 數且最具經濟效益者,請問應該選擇何者?(20 分)
⑴主應力方向與大小各為何?
⑵依據最大剪應力準則(maximumshearing-stresses criterion),該點會不會降伏?(20 分)
相關試卷
114年 - 114 專技高考_機械工程技師:工程力學(包括靜力學、動力學與材料力學)#133710
114年 · #133710
114年 - 114 公務升官等考試_薦任_機械工程:工程力學(包括靜力學、動力學與材料力學)#133242
114年 · #133242
114年 - 114 專技高考_專利師(選試專業英文及工程力學)、專利師(選試專業日文及工程力學):工程力學#130105
114年 · #130105
114年 - 114 關務特種考試_三等_機械工程(選試英文):工程力學(包括靜力學、動力學與材料力學)#126623
114年 · #126623
113年 - 113 臺灣菸酒股份有限公司_從業評價職位人員試題_鍋爐:工程力學#132351
113年 · #132351
113年 - 113 專技高考_機械工程技師:工程力學(包括靜力學、動力學與材料力學)#123897
113年 · #123897
113年 - 113 專技高考_造船工程技師:工程力學(包括靜力學、動力學與材料力學)#123895
113年 · #123895
113年 - 113 專技高考_專利師(選試專業英文及工程力學)、專利師(選試專業日文及工程力學):工程力學#122211
113年 · #122211
113年 - 113 關務特種考試_三等_機械工程(選試英文):工程力學(包括靜力學、動力學與材料力學)#119496
113年 · #119496
113年 - 113 臺灣港務股份有限公司_新進從業人員甄試_師級_機械:工程力學(包括靜力電、動力學與材料力學)#118827
113年 · #118827