阿摩線上測驗
登入
首頁
>
工程力學(含靜力學、動力學與材料力學)
> 99年 - 99 高等考試_三級_機械工程:工程力學(包括靜力學、動力學與材料力學)#34961
99年 - 99 高等考試_三級_機械工程:工程力學(包括靜力學、動力學與材料力學)#34961
科目:
工程力學(含靜力學、動力學與材料力學) |
年份:
99年 |
選擇題數:
0 |
申論題數:
7
試卷資訊
所屬科目:
工程力學(含靜力學、動力學與材料力學)
選擇題 (0)
申論題 (7)
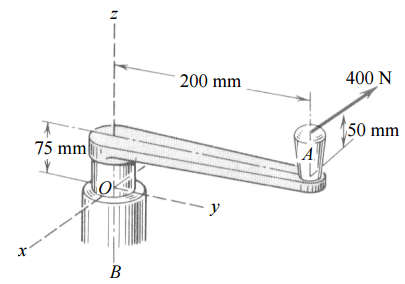
【已刪除】一、一 400 N 力施於操縱桿之 A 點,此操縱桿連結於一固定軸於 OB。請用向量來表示 此力作用於 O 點的等效力偶 M。(20 分)
【已刪除】二、一懸臂式起重機表示如下,請計算支撐纜繩的張力 T 與支承 A 點所承受的力量。此 梁為標準 0.5 m 之 I 型梁,每公尺重 95 kg。(20 分)
⑴請依橫軸為 x、縱軸為 y、並在軌跡線上標示時間 0~5 秒方式繪出此運動軌跡。 (10 分)
⑵計算當 y=0 時的速度和加速度。(10 分)
⑴請計算圓管內最大剪切、拉伸與壓縮應力分別為何。(10 分)
⑵承上,此時圓管內最大剪切、拉伸與壓縮應變分別為何。(10 分)
【已刪除】五、一梁結構如下,有一均佈外力q=1.0 k/ft施於AB之間,另有一力矩M
o
=12.0 k-ft作用 於BC中點,請分別繪出剪力與彎曲力矩圖。(20 分)
相關試卷
114年 - 114 專技高考_機械工程技師:工程力學(包括靜力學、動力學與材料力學)#133710
114年 · #133710
114年 - 114 公務升官等考試_薦任_機械工程:工程力學(包括靜力學、動力學與材料力學)#133242
114年 · #133242
114年 - 114 專技高考_專利師(選試專業英文及工程力學)、專利師(選試專業日文及工程力學):工程力學#130105
114年 · #130105
114年 - 114 關務特種考試_三等_機械工程(選試英文):工程力學(包括靜力學、動力學與材料力學)#126623
114年 · #126623
113年 - 113 臺灣菸酒股份有限公司_從業評價職位人員試題_鍋爐:工程力學#132351
113年 · #132351
113年 - 113 專技高考_機械工程技師:工程力學(包括靜力學、動力學與材料力學)#123897
113年 · #123897
113年 - 113 專技高考_造船工程技師:工程力學(包括靜力學、動力學與材料力學)#123895
113年 · #123895
113年 - 113 專技高考_專利師(選試專業英文及工程力學)、專利師(選試專業日文及工程力學):工程力學#122211
113年 · #122211
113年 - 113 關務特種考試_三等_機械工程(選試英文):工程力學(包括靜力學、動力學與材料力學)#119496
113年 · #119496
113年 - 113 臺灣港務股份有限公司_新進從業人員甄試_師級_機械:工程力學(包括靜力電、動力學與材料力學)#118827
113年 · #118827