題組內容
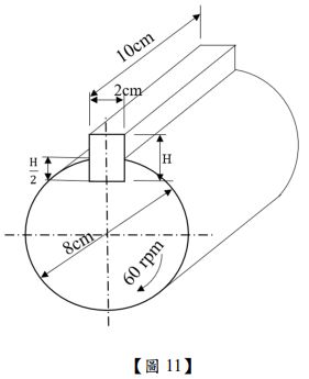
4.如【圖 11】所示,一直徑 8 cm 之鋼圓軸,連結齒輪使之旋轉,並以寬度 2 cm,高度 H,長
10 cm 的平鍵連結,使齒輪以 60 rpm 的轉速均勻地傳遞動力,若平鍵的允許剪應力為 6 MPa,
允許壓應力為 8 MPa,試求:
4.如【圖 11】所示,一直徑 8 cm 之鋼圓軸,連結齒輪使之旋轉,並以寬度 2 cm,高度 H,長
10 cm 的平鍵連結,使齒輪以 60 rpm 的轉速均勻地傳遞動力,若平鍵的允許剪應力為 6 MPa,
允許壓應力為 8 MPa,試求: