所屬科目:機械力學
一、已知 θ = 30°,試求各桿件內之受力大小及方向(受拉或受壓)。 (20 分)
二、兩質量塊 A 及 B 的質量均為 m。若要讓 A 質量塊對 B 無相對移動,試求 施加於 B 質量塊之最大水平力 P。(20 分)
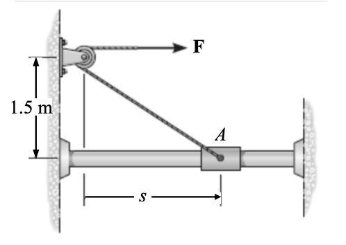
三、作用力 F = 50 N 於 s = 2 m 時施加於繩索上。假設 6 kg 之套筒原本靜止, 試求套筒在 s = 0 時速度為何?(忽略套筒和桿件間之摩擦) (20 分)
五、一簡支 (simply supported) 樑長度L = 4 m 承載一均佈力 (uniformly distributed load)q = 5.8 kN/m。已知樑截面寬 b = 140 mm、高 h = 240 mm,試求最 大之彎曲應力(bending stress)σmax。(20 分)