所屬科目:機械力學
一、如圖一所示,若滑輪 D 不計其摩擦力效應,且圓柱狀重物的質量為 200 公斤, 試求當此結構平衡時繩索的張力,以及位於銷子 A 處的水平及垂直分量 的支撐作用力。解題時,需先畫出自由體圖,未畫者不予計分。 (20 分)
二、如圖二所示,固定於構件 AB 左側的套筒 A,可以在光滑的導桿上垂直 上下移動,試求此構件在受到外力作用後,分別在 A 與 B 二支撐處的作 用力或力矩。解題時,需先畫出自由體圖,未畫者不予計分。(20 分)
三、如圖三所示,吊車的馬達 M 在吊升 500 公斤的重物時,必須保證在 2 m/s 的上升速度時,仍具有 1 m/s2 的向上加速度,若不計滑輪與鋼索的質量, 且馬達的機械效率為η= 0.8,試求此馬達的馬力數至少需要多大?(若工廠販售的馬達馬力規格皆為整數的馬力數,譬如 16, 17, 18, 19, 20,……Hp,且 1 Hp = 746 Watt)解題時,需先畫出自由體圖,未畫者不予計分。 (20 分)
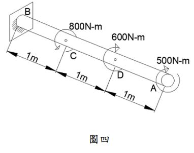
四、有一個直徑 60 mm 的鋼質轉軸,其剪力模數(shear modulus)為 G = 80 GPa, 如圖四所示,左側 B 點為固定支撐,右側受到三個集中扭矩的作用,分 別作用於 C 點、D 點及自由端點 A 點。試求(a)此軸沿著軸向的扭矩分布圖,(b)軸在 AD 段的最大剪應力,(c)以及軸在自由端 A 的扭轉角度。解題時,需先畫出自由體圖,未畫者不予計分。(20 分)
五、質量 4 公斤的套筒在 A 點的速度為 5 m/s 向右,連接套筒的彈簧其自由 長度(未伸長之長度)為 2 m,彈簧另一端則固定於 B 點,彈簧係數則 為 k = 100 N/m。如圖五所示,套筒在一個位於鉛直面上(重力加速度 g 朝下)且半徑為 2 m 的光滑圓形導桿上移動,試求當套筒從 A 點滑動至 C 點時的速度,以及此時導桿作用於套筒的作用力。解題時,需先畫出自由體圖,未畫者不予計分。(20 分)