所屬科目:工程力學(含靜力學、動力學與材料力學)
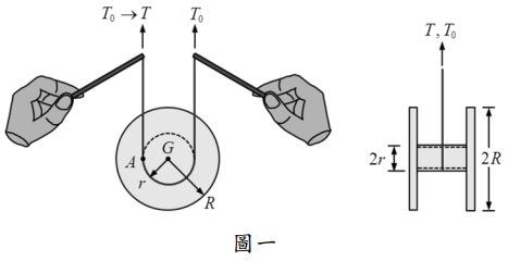
一、一個扯鈴由一質量為 m、平均半徑為 r 的空心管及兩個質量同為 m、半徑為R的圓形碟片構成,m = 1 kg,r = 5 cm,R = 15 cm。若以一根棉繩纏繞初始靜止的扯鈴之空心軸,初始張力為T0,棉繩一端瞬間向上拉起,使其張力增至 T = 60 N(牛頓),如圖一所示。試求扯鈴質心G的加速度、角加速度及棉繩與扯鈴空心軸切點 A 的加速度。(重力加速度值為 9.81 m/sec2)(25 分)
三、如圖三所示,兩個相同尺寸的均勻彈性圓柱體疊立於光滑桌面,兩者的截面積 A、彈性係數 E 及質量密度 ρ 相同。在沒有重力作用下,兩圓柱體的初始長度均為 L,重力加速度以符號 g 表示。在重力作用下,試求兩個圓 柱體各自的軸向收縮量。(25 分)