阿摩線上測驗
登入
首頁
>
工程力學概要
> 98年 - 98 原住民族特種考試_四等_土木工程:工程力學概要#39697
98年 - 98 原住民族特種考試_四等_土木工程:工程力學概要#39697
科目:
工程力學概要 |
年份:
98年 |
選擇題數:
0 |
申論題數:
3
試卷資訊
所屬科目:
工程力學概要
選擇題 (0)
申論題 (3)
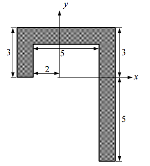
【已刪除】一、圖示形狀各肢之寬度為 1 cm,其餘長度尺寸如圖示(所標示尺寸之單位為 cm), 求對 x 軸之面積二次矩。(30 分)
二、推導梁在均布載重型式下,載重-剪力-力矩的關係式。(35 分)
【已刪除】三、如圖所示為簡支梁之剪力圖,請推論其受力情況。(35 分)