阿摩線上測驗
登入
首頁
>
機械力學
> 99年 - 099年警察鐵路員級機械力學概要#46908
99年 - 099年警察鐵路員級機械力學概要#46908
科目:
機械力學 |
年份:
99年 |
選擇題數:
0 |
申論題數:
5
試卷資訊
所屬科目:
機械力學
選擇題 (0)
申論題 (5)
一、如下圖所示,質量為 M 之物體,以長度 L 的繩子繫於支點 O,若將物體從最低點 往上移至與鉛錘線之夾角為 60°時釋放,求該物體擺至最低位置時,繩中之張力為 多少?(20 分)
二、下圖為一質量塊組,其兩組成部分的質量分別為 W 與 6 W。若地面與質量塊間的摩 擦係數為 0.4,今有一力 F 作用於質量塊左側,請問當質量塊產生滑動而不傾倒, 作用力的最大施力高度 h 值為多少?(20 分)
三、下圖所示的均質水平橫桿長度為 3 m,兩端分別以長度 4 m 的鋼索與鋁索繫之。若 鋼的彈性係數 E
St
= 2 × 10
11
Pa ,鋁的彈性係數 E
Al
= 7 × 10
10
Pa ,鋼索的截面積為 1 cm
2
,鋁索的截面積為 2 cm
2
,若此橫桿在一 3000 N 的負荷作用下仍保持水平, 請問此負荷應作用於距離鋼索多遠的位置上?(20 分)
四、試求圖示面積對於 x 軸的慣性矩。(20 分)
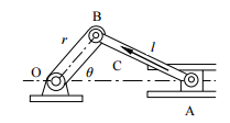
五、在下圖中所示為一滑動曲柄,連桿 AB 受到壓力 C 的作用。試以圖示的符號 C、r、 l、θ 推導作用力 C 對於曲柄軸 O 的力矩。(20 分)
相關試卷
115年 - 115 身心障礙特種考試_四等_機械工程:機械力學概要#138948
115年 · #138948
115年 - 115 關務特種考試_四等_機械工程(選試英文):機械力學概要#138937
115年 · #138937
114年 - 114 地方政府公務特種考試_四等_機械工程:機械力學概要#134717
114年 · #134717
114年 - 114 原住民族特種考試_四等_機械工程:機械力學概要#130944
114年 · #130944
114年 - 114 普通考試_機械工程:機械力學概要#128752
114年 · #128752
114年 - 114 身心障礙特種考試_四等_機械工程:機械力學概要#126629
114年 · #126629
114年 - 114 關務特種考試_四等_機械工程(選試英文):機械力學概要#126570
114年 · #126570
113年 - 113 地方政府公務特種考試_四等_機械工程:機械力學概要#124494
113年 · #124494
113年 - 113 原住民族特種考試_四等_機械工程:機械力學概要#122659
113年 · #122659
113年 - 113 普通考試_機械工程:機械力學概要#121222
113年 · #121222