阿摩線上測驗 登入

申論題資訊

試卷:110年 - 110 專技高考_機械工程技師:工程力學(包括靜力學、動力學與材料力學)#104215
科目:工程力學(含靜力學、動力學與材料力學)
年份:110年
排序:0

題組內容

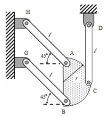
三、一平面半圓形剛體由三根連桿支撐著,半圓形剛體的質量為 10 kg,連桿 質量可忽略不計,連桿長度ℓ = 120 mm,半圓形剛體的半徑 r =200 mm。 當連桿 CD 突然斷裂時,試求在這分離的時刻:
619dcf6ba341d.jpg

申論題內容

(一)半圓形剛體的瞬時加速度及作用方向。(10 分)