阿摩線上測驗
登入
首頁
>
技師◆結構設計
>
97年 - 97年專門職業及技術人員高等建築師、技師暨普通記帳士、97年第二次高等暨普通消防設備人員、普通不動產經紀人土木工程技師#36310
> 申論題
題組內容
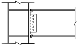
四、如右圖所示鋼結構建築的梁柱接頭之示意圖, 請依據我國鋼結構設計與施工規範之要求,回 答有關銲接與高強度螺栓接合之問題: (每小題 5 分,共 25 分)
⑶鋼結構之銲接程序中,常用「SAW」之方法,請寫出其英文全名及中文譯名。
相關申論題
⑴進行耐震設計時,基於強柱弱梁之原則,於梁柱接合處,RC 柱之彎矩強度與 RC 梁之彎矩強度應至少滿足何種規定?(10 分)
#100373
⑵進行耐震設計時,應注意 RC 柱之主筋用量上限,依據規範之要求,RC 柱之主 筋斷面積 Ast,不得超過多少百分比的 RC 柱全斷面積 Ag?(5 分)
#100374
⑶為了避免主筋挫屈,矩形 RC 柱圍束箍筋之間距不得超過多少倍的主筋直徑? (5 分)
#100375
⑷矩形 RC 柱之圍束繫筋(Cross-tie),其相鄰繫筋之中心間距不得超過多少公分? (5 分)
#100376
⑴試求該斷面強軸之塑性彎矩強度(Plastic Moment Strength) Mp = ?(請以 tf-cm 表示)(5 分)
#100377
⑶對於受軸力與彎矩(P-M)共同作用之梁-柱構材(Beam-Column),請依我國鋼 結構極限設計法規範,繪出受軸力與單軸彎矩共同作用之 P-M 互制曲線圖,並 標示重要轉折點。(10 分)
#100379
⑴高強度螺栓之相鄰螺栓孔,其中心至中心的 距離,不得小於多少倍之螺栓標稱直徑?
#100380
⑵鎖緊時會對高強度螺栓產生預拉力,鎖緊之最 小預拉力應達多少倍的螺栓最小抗拉強度 Fu?
#100381
⑷依據鋼結構施工規範,空氣中相對溼度超過多少百分比時,不得進行工地銲接?
#100383
⑸銲道之非破壞檢測法中,常用「UT」之方法,請寫出其英文全名及中文譯名。
#100384
相關試卷
114年 - 114 專技高考_土木工程技師:結構設計(包括鋼筋混凝土設計與鋼結構設計)#133709
114年 · #133709
114年 - 114 司法特種考試_三等_檢察事務官營繕工程組:結構設計(包括鋼筋混凝土設計與鋼結構設計)#129579
114年 · #129579
113年 - 113 專技高考_土木工程技師:結構設計(包括鋼筋混凝土設計與鋼結構設計)#123949
113年 · #123949
113年 - 113 司法特種考試_三等_檢察事務官營繕工程組:結構設計(包括鋼筋混凝土設計與鋼結構設計)#122119
113年 · #122119
112年 - 112 專技高考_土木工程技師:結構設計(包括鋼筋混凝土設計與鋼結構設計)#117675
112年 · #117675
112年 - 112 司法特種考試_三等_檢察事務官營繕工程組:結構設計(包括鋼筋混凝土設計與鋼結構設計)#116212
112年 · #116212
111年 - 111 專技高考_土木工程技師:結構設計(包括鋼筋混凝土設計與鋼結構設計)#111976
111年 · #111976
111年 - 111 司法特種考試_三等_檢察事務官營繕工程組:結構設計(包括鋼筋混凝土設計與鋼結構設計)#110324
111年 · #110324
110年 - 110 專技高考_土木工程技師:結構設計(包括鋼筋混凝土設計與鋼結構設計)#104169
110年 · #104169
110年 - 110 司法特種考試_三等_檢察事務官營繕工程組:結構設計(包括鋼筋混凝土設計與鋼結構設計)#103219
110年 · #103219