阿摩線上測驗
登入
首頁
>
技檢◆機電整合-乙級
> 114年 - 17000 機電整合 乙級 工作項目 01:自動化機械元件的應用及設計 101-150(2025/12/26 更新)#135791
114年 - 17000 機電整合 乙級 工作項目 01:自動化機械元件的應用及設計 101-150(2025/12/26 更新)#135791
科目:
技檢◆機電整合-乙級 |
年份:
114年 |
選擇題數:
50 |
申論題數:
0
試卷資訊
所屬科目:
技檢◆機電整合-乙級
選擇題 (50)
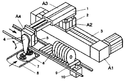
101. 如圖為光碟分裝機器,A1 的線性運動機構,A2 升降缸,A3 雙軸缸,A4 旋轉缸及吸盤,若要得到精確定位且快速的運動,A1 可採用
(A)DC馬達 (B)AC 馬達 (C)伺服馬達 (D)變頻馬達 。
102. 如圖為光碟分裝機器,A1 線性運動機構,A2 升降缸,A3 雙軸缸,A4旋轉缸及吸盤,若要放置光碟,以圖示為機械原點,則致動器的驅動順序是
(A)A4 吸、A3 退、A4 轉、A2 升、A1 右、A2 降、A4 放 (B)A4吸、A4 轉、A2 升、A3 退、A2 降、A1 右、A4 放 (C)A4 吸、A2 升、A1 右、A4 轉、A2 降、A3 退、A4 放 (D)A4 吸、A2 升、A3 退、A4轉、A1 右、A2 降、A4 放 。
103. 如圖為光碟分裝機器,A1 線性運動機構,A2 升降缸,A3 雙軸缸,A4旋轉缸及吸盤,此機構為
(A)取放單元(P&P) (B)SCARA 機械臂 (C)史都華(Stewart)平台 (D)惠氏機構(Whitworth) 。
104. 可將旋轉中之兩軸,隨意使之結合或分離的是 (A)聯軸器 (B)離合器 (C)緩衝器 (D)萬向接頭 。
105. 如下圖的機構可以使工作滑台左右往復運動,方框*1 所指向的機構為
(A)聯軸器 (B)離合器 (C)緩衝器 (D)萬向接頭 。
106. 如下圖的機構可以使工作滑台左右往復運動,方框*2 所指向的機構為
(A)聯軸器 (B)離合器 (C)緩衝器 (D)導螺桿 。
107. 如圖的機構,主動輪 1 單向連續旋轉時,可以使棘輪 2
(A)單向連續旋轉(B)雙向連續旋轉 (C)單向間歇旋轉 (D)雙向間歇旋轉 。
108. 在相同轉速下,滑台移動速度與螺桿導程長度成________ 的關係。(A)平方根正比 (B)平方根反比 (C)正比 (D)反比
109. 有一支雙線導螺桿在固定位置上,每次旋轉一圈可將螺帽沿螺桿移動固定的距離,則該距離稱為 (A)導程 (B)螺距 (C)牙距 (D)節距 。
110. 有關滾珠導螺桿帶動滑台之敘述,下列何者有誤? (A)定位精度很高 (B)反覆定位之重置精度很高 (C)導程愈小,定位精度愈高 (D)適用於直線快速移動定位 。
111. 如圖所示,有一雙凸輪驅動機構,以夾爪為中心點來看,Z 垂直方向的移動量多少 mm?
(A)15 (B)25 (C)35 (D)45 。
112. 如圖所示,有一雙凸輪驅動機構,以夾爪為中心點來看,Y 水平方向的移動量多少 mm?
(A)25 (B)50 (C)75 (D)100 。
113. 如圖所示,有一雙凸輪驅動機構,以夾爪為中心點來看,是執行近似何種運動軌跡?
(A)〝一〞字 (B)〝V〞字 (C)〝X〞字 (D)〝ㄇ〞字 型軌跡。
114. 有一圓柱凸輪機構,此機構經運轉後,可獲得
(A)直線轉間歇圓周 (B)連續圓周轉間歇圓周 (C)連續搖擺轉直線 (D)曲線轉直線運動 。
115. 有一圓柱凸輪機構,若主動圓柱形凸輪軸如圖示方向轉動 1 圈,則上方針輪轉動為
(A)逆時鐘旋轉 1/8 轉 (B)順時鐘旋轉 1/4 轉 (C)逆時鐘旋轉1/4 轉 (D)順時鐘旋轉 1/8 轉 。
116. 有一圓柱凸輪機構,若主動圓柱凸輪軸與針輪嚙合狀況如圖示(凸緣垂直方向),則針輪
(A)繼續順時鐘旋轉 1/8 轉 (B)繼續逆時鐘旋轉 1/4 轉 (C)靜止不動,並具有剎車功能 (D)靜止不動,無剎車功能,但外力作用時會轉動 。
117. 有一圓柱凸輪機構,若主動圓柱形凸輪軸如圖示方向轉動,當圓柱凸輪剛開始同方向轉動半圈時,上方的從動梭子是
(A)從 A→B→C→D 依序向左移動 420 距離 (B)從 A→J→I 靜止不動 (C)從 A→B→G→F 依序向左移動 360 距離 (D)從 A→B→G→F→E 依序向左移動 480 距離 。
118. 有一圓柱凸輪機構,若主動圓柱形凸輪軸如圖示方向轉動,從__________ 則上方從動梭子的位置是左右靜止不動。
(A)A→B→C→D (B)D→E→F (C)F→G→H→I (D)I→J→A
119. 有一圓柱凸輪機構,當圓柱凸輪要同方向轉動幾圈後,上方的從動梭子會從 A 處原點出發往左移動,再往右移動回到 A 處原點?
(A)1 (B)2 (C)3(D)4 圈。
120. 有一圓柱凸輪機構,當圓柱凸輪同方向轉動 1 圈時,上方的從動梭子會從 A 處原點出發會停留在何處? (A)D (B)E (C)F (D)I 處。
121. 有一圓柱凸輪機構,圓柱凸輪同方向轉動 1 圈後,當再轉動第 2 圈時,上方的從動梭子會從何處出發並經過哪些點 (A)F→G→H→I→J→A (B)D→E→F→G→H→I (C)A→B→C→D→E→F (D)I→J→A→B→C→D 。
122. 有一日內瓦機構,若主動針輪順時針轉動 1 圈後,從動的日內瓦槽輪,會轉動 (A)順時鐘 1/6 (B)反時鐘 1/6 (C)順時鐘 1/4 (D)反時鐘 1/4 圈 。
123. 有一日內瓦機構,若主動針輪順時針轉動 1 圈後,從動的日內瓦槽輪,會轉動 (A)60 (B)90 (C)120 (D)150 度。
124. 有一日內瓦機構,在主動輪上〝凸緣〞的功用是 (A)傳遞動力給日內瓦槽輪 (B)使日內瓦槽輪有加速、等速及減速等不同運動速度 (C)在旋轉完分割角度後,立即停駐日內瓦槽輪,使日內瓦槽輪停止時不偏轉 (D)使日內瓦槽輪變換為主動輪 。
125. 有一行走樑分離機構,若主動偏心輪驅動活動式行走樑,可將整堆的細長 (A)圓型 (B)扁型 (C)方型 (D)三角型 棒材,分離成排列整齊的模式。
126. 有一行走樑分離機構,若主動偏心輪驅動活動式行走樑,偏心輪之偏心量為 5 ㎜,在偏心輪轉動 1 圈時,則活動式行走樑上下的移動量為 (A)2.5 (B)5 (C)7.5 (D)10 mm。
127. 如圖所示,有一行走樑分離機構,若主動偏心輪驅動活動式行走樑,下列敘述何者為真?偏心輪之偏心量為 5 ㎜,在偏心輪轉動 1 圈時,則活動式行走樑作上下方向的移動,則整堆材料整列為 (A)一步一步地往左移動 (B)一步一步地往右移動 (C)隨著行走樑原地上下移動 (D)隨機移動 。
128. 如圖所示,有一線性附緩衝的驅動單元。當至端點要停止時,何種處理方式較適宜? (A)行程調整桿先碰觸固定支撐板,再緩衝器碰觸緩衝器螺絲擋塊,後停止 (B)行程調整桿及緩衝器兩者,同時分別碰觸固定支撐板和緩衝器螺絲擋塊,後停止 (C)緩衝器先碰觸緩衝器螺絲擋塊,再行程調整桿碰觸固定支撐板後停止 (D)視機台的需求不同,隨機調整之 。
129. 有一線性附緩衝的驅動單元。當至端點停止位置需經常改變更換時,要停止位置準確 (A)應正確調整好行程調整桿長度,再讓行程調整桿碰觸固定支撐板停止 (B)應正確調整好緩衝器螺絲擋塊位置,再讓緩衝器碰觸後停止 (C)調整好氣壓缸行程後,變更位置即可準確 (D)適度加大或縮小氣壓缸供氣量,使緩衝器被壓縮量跟著改變 以符合需求。
130. 有一線性附緩衝的驅動單元。當所需行程長度在 205~245 ㎜之間更換時,則氣壓缸行程應選用 (A)200 (B)250 (C)300 (D)350 mm 較適宜。
131. 有一套含左、右輸送帶與料件(R、G、B、Y 四種顏色)之分配設備,當感測器照出為 G,需送往通道 2 時,帶動分配撥桿之長行程氣壓缸 1 串接短行程氣壓缸 2 之動作為 (A)兩支缸皆縮回 (B)只要氣壓缸 2 伸出,氣壓缸 1 縮回 (C)只要氣壓缸 1 伸出,氣壓缸 2 縮回 (D)兩支缸皆要伸出 。
132. 有一套含左、右輸送帶與料件(R、G、B、Y 四種顏色)之分配設備,當感測器照出為 G,需送往通道 3 時,帶動分配撥桿之長行程氣壓缸 1 串接短行程氣壓缸 2 之動作為 (A)兩支缸皆縮回 (B)只要氣壓缸 2 伸出,氣壓缸 1 縮回 (C)只要氣壓缸 1 伸出,氣壓缸 2 縮回 (D)兩支缸皆要伸出 。
133. 有一套含左、右輸送帶與料件(R、G、B、Y 四種顏色)之分配設備,當感測器照出為 G,需送往通道 1 時,帶動分配撥桿之長行程氣壓缸 1 串接短行程氣壓缸 2 之動作為 (A)兩支缸皆縮回 (B)只要氣壓缸 2 伸出,氣壓缸 1 縮回 (C)只要氣壓缸 1 伸出,氣壓缸 2 縮回 (D)兩支缸皆要伸出 。
134. 有一套含左、右輸送帶與料件(R、G、B、Y 四種顏色)之分配設備,當感測器照出為 G,需送往通道 4 時,帶動分配撥桿之長行程氣壓缸 1 串接短行程氣壓缸 2 之動作為 (A)兩支缸皆縮回 (B)只要氣壓缸 2 伸出,氣壓缸 1 縮回 (C)只要氣壓缸 1 伸出,氣壓缸 2 縮回 (D)兩支缸皆要伸出 。
135. 有一曲柄滑塊機構,曲柄旋轉長度(l1)為 120 ㎜,則滑塊移動最大行程為 (A)240 (B)250 (C)280 (D)320 mm。
136. 有一曲柄滑塊機構,曲柄連續等速旋轉,則滑塊移動方式為 (A)等速 (B)等加減速 (C)線性 (D)近似簡諧運動 。
137. 有一雙搖桿機構,若左邊搖桿長度(l1)小於右邊搖桿長度(l2)時,則左邊搖桿的搖動角度(α1)和右邊的搖動角度(α2),何者較大? (A)左邊 (B)右邊 (C)忽大忽小 (D)很難判定 。
138. 有一齒條小齒輪機構,齒條由氣壓缸帶動作來回連續往復移動,則小齒輪作 (A)單向旋轉 (B)間歇分度單向旋轉 (C)雙向旋轉 (D)間歇分度雙向旋轉運動 。
139. 有一齒條小齒輪機構,如氣壓缸的行程(l )為 200 ㎜,若小齒輪(32T)的周節(PC,齒與齒間相對位置的圓弧長度)為 3.14 ㎜,則齒條往前一次全行程帶動小齒輪轉動約 (A)1 (B)2 (C)3 (D)4 圈。
140. 有一斜板驅動垂直桿升降機構,如氣壓缸的行程(l1)為 180 ㎜,若氣壓缸伸出時,則垂直升降桿移動距離(l2)為 (A)往下 50 (B)往上 50 (C)往下75 (D)往上 75 mm。
141. 有一組蝸輪與蝸桿傳動機構,如蝸輪齒數為 60 齒,蝸桿為單線右螺紋,若蝸桿主動帶動蝸輪,則此機構減速比為 (A)1/30 (B)1/40 (C)1/60 (D)1/80 。
142. 有一組蝸輪與蝸桿傳動機構,如蝸輪齒數為 60 齒,蝸桿為單線右螺紋,若蝸桿主動帶動蝸輪,則此機構為何種傳動機構? (A)立體交叉 (B)同平面垂直 (C)同平面平行 (D)同平面傾斜 一角度之傳動機構。
143. 有一組蝸輪與蝸桿傳動機構,蝸輪齒數為 40 齒,蝸桿為單線右螺紋,如圖示方向主動帶動蝸輪,若蝸桿轉動 1 圈,則蝸輪(面對左邊的圖形)(A)逆時鐘轉 1/40 轉 (B)順時鐘 1/20 轉 (C)逆時鐘 1/20 轉 (D)順時鐘轉1/40 轉 。
複選題
144. 有一支雙線導螺桿可在固定位置上旋轉,當旋轉 5 圈可將螺帽沿螺桿移動 50mm 距離,下列敘述哪些正確? (A)導程 L=10 mm (B)螺距 p=2.5mm (C)螺距 p=5 mm (D)導程 L=5 mm 。
複選題
145. 有一支雙線導螺桿可在固定位置上旋轉,當旋轉 5 圈可將螺帽沿螺桿移動 80 mm 距離,下列敘述哪些正確? (A)導程 L=8 mm (B)螺距 p=8 mm(C)螺距 p=4 mm (D)導程 L=16 mm 。
複選題
146. 如下圖所示,有一步進馬達驅動一組定位工作平台,此步進馬達之全步進角度為 1.8°,馬達輸出軸配有一減速比 12.5:1 之減速齒輪組,齒輪組之輸出軸接至導螺桿。若導螺桿每轉動 10 圈,滑台移動 50mm,下列敘述哪些正確? (A)滑台定位之解析度 R=2.5 μm (B)滑台定位之解析度R=2.0 μm (C)螺桿之導程 L=5 mm (D)螺桿之導程 L=10 mm 。
複選題
147. 如下圖所示,有一步進馬達驅動一組定位工作平台,此步進馬達之全步進角度為 0.9°,馬達輸出軸配有一減速比 10:1 之減速齒輪組,齒輪組之輸出軸接至導螺桿。若導螺桿每轉動 10 圈,滑台移動 100mm,下列敘述哪些正確? (A)滑台定位之解析度 R=2.5 μm (B)滑台定位之解析度R=2.0 μm (C)螺桿之導程 L=5 mm (D)螺桿之導程 L=10 mm 。
複選題
148. 如下圖所示,有一步進馬達驅動一組定位工作平台,此步進角度為 0.72°,控制時使用半步進功能,馬達輸出軸配有一減速比 10:1 之減速齒輪組,齒輪組之輸出軸接至導螺桿。若導螺桿每轉動 5 圈,滑台移動50mm,下列敘述哪些正確? (A)滑台定位之解析度 R=1.0 μm (B)滑台定位之解析度 R=2.0 μm (C)螺桿之導程 L=10 mm (D)螺桿之導程 L=5mm 。
複選題
149. 如下圖所示,有一步進馬達驅動一組定位工作平台,此步進馬達之全步進角度為θ,馬達輸出軸配有一減速比 10:1 之減速齒輪組,齒輪組之輸出軸接至導螺桿。若導螺桿每轉動 10 圈,滑台移動 80mm,此滑台定位之解析度 R=2.0 μm,下列敘述哪些正確? (A)步進角度θ=1.8° (B)步進角度θ=0.9° (C)螺桿之導程 L=6 mm (D)螺桿之導程 L=8 mm 。
複選題
150. 如下圖所示,有一步進馬達驅動一組定位工作平台,此步進馬達之全步進角度為θ,馬達輸出軸配有一減速比 30:1 之減速齒輪組,齒輪組之輸出軸接至導螺桿。若導螺桿每轉動 10 圈,滑台移動 60mm,此滑台定位之解析度 R=1.0 μm,下列敘述哪些正確? (A)步進角度θ=1.8° (B)步進角度θ=0.9° (C)螺桿之導程 L=6 mm (D)螺桿之導程 L=8 mm 。
申論題 (0)