所屬科目:技檢◆機電整合-乙級
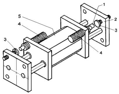
(A)1 或 2 (B)2 和 3 (C)3或 4 (D)4 和 5 。
(A)1 的直徑太大 (B)3 的螺距太小 (C)5 的行程太短 (D)5 的供給流量太大 。
(A)更換較大扭矩的 4 (B)3 的直徑加大 (C)增加 4 的轉速 (D)縮短 2 的移動行程 。
(A)(B) (C)(D) 。
(A)相同的活塞直徑 (B)相同的活塞桿長短 (C)相同的活塞速度 (D)約相同的行程 。
(A)1 (B)2(C)3 (D)4
______感測器。
(A)電感式 (B)電容式 (C)光學式 (D)超音波
(A)V1>V2 (B)V1<V2 (C)V1=V2 (D)V1≧V2 。
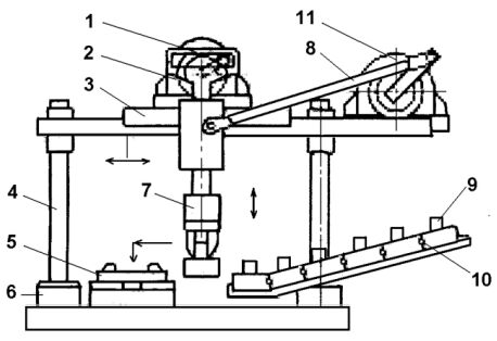
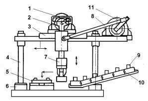
(A)迴轉驅動器 11與搖桿 8 所組成曲柄機構單元 (B)迴轉驅動器 11 與搖桿 8 所組成曲柄機構單元及支架 4 (C)迴轉驅動器 11 與推桿 2 所組成曲柄機構單元 (D)迴轉驅動器 11 與推桿 2 所組成曲柄機構單元及支架 4 。
(A)迴轉驅動器 11 與搖桿 8 所組成曲柄機構單元 (B)迴轉驅動器 11 與搖桿 8 所組成曲柄機構單元及支架 4 (C)迴轉驅動器 11 與推桿 2 所組成曲柄機構單元 (D)迴轉驅動器 11 與推桿 2 所組成曲柄機構單元及支架 4 。
(A)夾爪 7 無法正確將工件 9 從進給導槽 10 取出 (B)夾爪 7 無法正確將工件 9 放入承托板 5 (C)工件 9 無法在進給導槽 10 進料 (D)夾爪 7 會與工件 10 產生碰撞 。
(A)夾爪 7 在上方無法正確打開與閉合 (B)工件承托板 5 下方的雙輸送帶 6 不能運轉 (C)工件 9 無法在進給導槽 10進料 (D)夾爪 7 會與工件 9 產生碰撞 。
(A)≧8 (B)≦8 (C)8 (D)>8 。
(A)定位 (B)分揀(C)整列 (D)旋轉
(A)電流 (B)磁場 (C)電壓 (D)電子