阿摩線上測驗 登入

申論題資訊

試卷:110年 - 110 專技高考_機械工程技師:工程力學(包括靜力學、動力學與材料力學)#104215
科目:工程力學(含靜力學、動力學與材料力學)
年份:110年
排序:0

題組內容

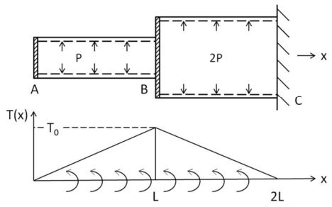
二、兩根中空圓形薄管 AB 和 BC(長度 L=100 mm)藉一塊鋼板於 B 點用焊 接方式連接起來,C 點為固定端,A 點為一鋼板且為自由端。中空管 AB 和 BC 內的管壁厚度為 t = 2 mm,管內半徑分別為 r1=50 mm 和 r2=60 mm, 氣壓分別為 p 和 2p,且受分布的扭力矩 T(x)作用。令 p=10 N/mm2,剪 切模數 G=10 GPa,初始的分布扭力矩 To=100 N-m/m,試求:
619dce8dc1914.jpg

申論題內容

(二)用一應力元素(Stress element)來表示 AB 管壁中最大的張應力和剪 切應力,並標示其與 x 軸之角度。(15 分)